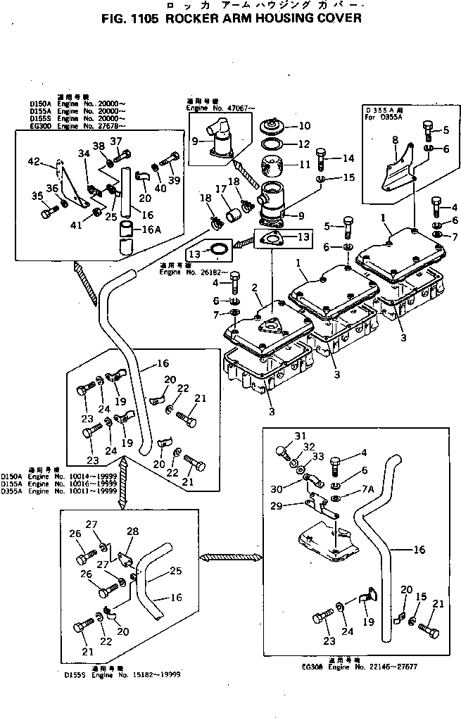
Запчасти Komatsu S6D155-4C КРЫШКА КОРОМЫСЛА ГОЛОВКА ЦИЛИНДРОВ

Схема запчастей Komatsu S6D155-4C - КРЫШКА КОРОМЫСЛА ГОЛОВКА ЦИЛИНДРОВ
FIT
1:1
100%

Артикул

Название

Примечание

Количество

1

6127-11-8112

COVER

SN: 26182-UP

2шт.

|1

0

COVER

SN: 10078-26181

2шт.

|1

0

COVER

SN: 10011-11177

2шт.

2

6127-11-8122

COVER

SN: 26182-UP

1шт.

|2

0

COVER

SN: 11178-26181

1шт.

|$$6

(6127-11-8122{07000-62070)}

-1шт.

|2

0

COVER

SN: 10011-11177

1шт.

3

6127-11-8812

GASKET (K1)

SN: 10278-UP

3шт.

|3

0

GASKET

SN: 10011-10277

3шт.

4

01010-31080

BOLT

SN: 10011-UP

15шт.

5

01010-31085

BOLT

SN: 10011-UP

3шт.

6

01602-01030

WASHER

SN: 10011-UP

18шт.

7

01640-21016

WASHER

SN: 10011-UP

16шт.

8

6128-11-8610

BRACKET

SN: 14050-UP

1шт.

|8

6128-11-8510

BRACKET

SN: 10011-14049

1шт.

|9

6127-11-8201

BREATHER ASS'Y

SN: 10011-UP

1шт.

9

6127-11-8210

BODY ASS'Y

SN: 10011-UP

1шт.

10

6127-11-8220

COVER ASS'Y

SN: 10011-UP

1шт.

11

6127-11-8230

ELEMENT

SN: 10011-UP

1шт.

12

6127-11-8240

GASKET

SN: 10011-UP

1шт.

13

6127-11-8850

GASKET (K1)

SN: 10011-UP

1шт.

14

01010-30822

BOLT

SN: 10278-UP

3шт.

|14

01000-30822

BOLT

SN: 10011-10277

3шт.

15

01602-00825

WASHER

SN: 10011-UP

3шт.

16

6127-11-8270

PIPE

SN: 10011-22495

1шт.

17

6127-11-8290

HOSE

SN: 10278-UP

1шт.

|17

6127-11-8280

HOSE

SN: 10011-10277

1шт.

18

07281-00489

CLAMP

SN: .-UP

2шт.

|18

0

CLAMP

SN: 16412-.

2шт.

|18

0

CLAMP

SN: 10278-16411

2шт.

|18

0

CLAMP

SN: 10011-10277

2шт.

19

6124-61-6430

CLAMP

SN: 10011-10415

1шт.

20

6127-61-6440

CLAMP

SN: 10011-UP

2шт.

21

01010-30840

BOLT

SN: 10416-19999

2шт.

|21

01010-30840

BOLT

SN: 10278-10415

1шт.

|21

01000-30840

BOLT

SN: 10011-10277

1шт.

22

01602-00825

WASHER

SN: 10416-19999

2шт.

|22

01602-00825

WASHER

SN: 10011-10415

1шт.

23

01010-31480

BOLT

SN: 10416-UP

2шт.

|23

01010-31480

BOLT

SN: 10278-10415

1шт.

|23

01040-31480

BOLT

SN: 10011-10277

1шт.

24

01602-01442

WASHER

SN: 10011-UP

2шт.

25

6127-11-8380

CLAMP

SN: 10011-UP

1шт.

1

6127-11-8112

COVER

SN: 26182-UP

2шт.

|1

0

COVER

SN: 10078-26181

2шт.

|1

0

COVER

SN: 10011-11177

2шт.

2

6127-11-8122

COVER

SN: 26182-UP

1шт.

|2

0

COVER

SN: 11178-26181

1шт.

|$$6

(6127-11-8122{07000-62070)}

-1шт.

|2

0

COVER

SN: 10011-11177

1шт.

3

6127-11-8812

GASKET (K1)

SN: 10278-UP

3шт.

|3

0

GASKET

SN: 10011-10277

3шт.

4

01010-31080

BOLT

SN: 10011-UP

15шт.

5

01010-31085

BOLT

SN: 10011-UP

3шт.

6

01602-01030

WASHER

SN: 10011-UP

18шт.

7

01640-21016

WASHER

SN: 10011-UP

16шт.

8

6128-11-8610

BRACKET

SN: 14050-UP

1шт.

|8

6128-11-8510

BRACKET

SN: 10011-14049

1шт.

|9

6127-11-8201

BREATHER ASS'Y

SN: 10011-UP

1шт.

9

6127-11-8210

BODY ASS'Y

SN: 10011-UP

1шт.

10

6127-11-8220

COVER ASS'Y

SN: 10011-UP

1шт.

11

6127-11-8230

ELEMENT

SN: 10011-UP

1шт.

12

6127-11-8240

GASKET

SN: 10011-UP

1шт.

13

6127-11-8850

GASKET (K1)

SN: 10011-UP

1шт.

14

01010-30822

BOLT

SN: 10278-UP

3шт.

|14

01000-30822

BOLT

SN: 10011-10277

3шт.

15

01602-00825

WASHER

SN: 10011-UP

3шт.

16

6127-11-8270

PIPE

SN: 10011-22495

1шт.

17

6127-11-8290

HOSE

SN: 10278-UP

1шт.

|17

6127-11-8280

HOSE

SN: 10011-10277

1шт.

18

07281-00489

CLAMP

SN: .-UP

2шт.

|18

0

CLAMP

SN: 16412-.

2шт.

|18

0

CLAMP

SN: 10278-16411

2шт.

|18

0

CLAMP

SN: 10011-10277

2шт.

19

6124-61-6430

CLAMP

SN: 10011-10415

1шт.

20

6127-61-6440

CLAMP

SN: 10011-UP

2шт.

21

01010-30840

BOLT

SN: 10416-19999

2шт.

|21

01010-30840

BOLT

SN: 10278-10415

1шт.

|21

01000-30840

BOLT

SN: 10011-10277

1шт.

22

01602-00825

WASHER

SN: 10416-19999

2шт.

|22

01602-00825

WASHER

SN: 10011-10415

1шт.

23

01010-31480

BOLT

SN: 10416-UP

2шт.

|23

01010-31480

BOLT

SN: 10278-10415

1шт.

|23

01040-31480

BOLT

SN: 10011-10277

1шт.

24

01602-01442

WASHER

SN: 10011-UP

2шт.

25

6127-11-8380

CLAMP

SN: 10011-UP

1шт.

Выбрано товаров: 86