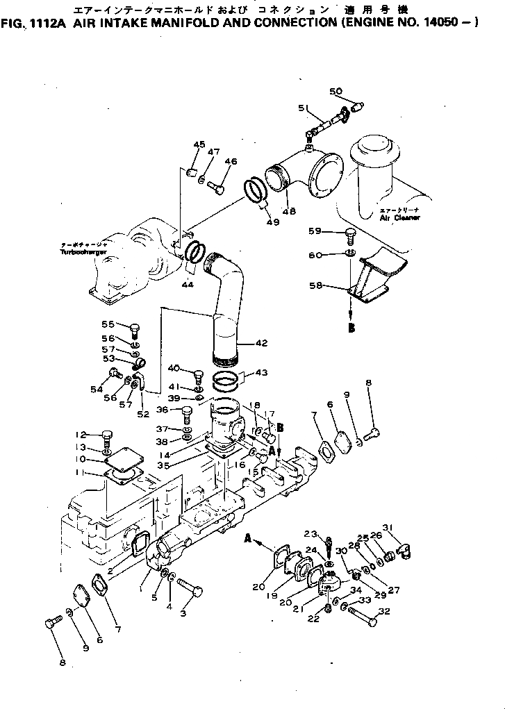
Запчасти Komatsu S6D155-4C ТРУБОПРОВОД ВПУСКА ВОЗДУХА И СОЕДИН-Е(№-) ГОЛОВКА ЦИЛИНДРОВ

Схема запчастей Komatsu S6D155-4C - ТРУБОПРОВОД ВПУСКА ВОЗДУХА И СОЕДИН-Е(№-) ГОЛОВКА ЦИЛИНДРОВ
FIT
1:1
100%

Артикул

Название

Примечание

Количество

1

6128-11-4111

MANIFOLD

SN: 14050-UP

1шт.

2

6127-11-4820

GASKET (K1)

SN: .-UP

3шт.

|2

0

GASKET

SN: 14050-.

3шт.

|2

0

GASKET

SN: (14050-14244)

3шт.

3

01010-31285

BOLT

SN: 14050-UP

12шт.

4

01602-01236

WASHER

SN: 14050-UP

12шт.

5

01640-21223

WASHER

SN: 14050-UP

12шт.

6

6685-11-4850

COVER

SN: 14050-UP

2шт.

7

6127-11-4640

GASKET (K1)

SN: 14050-UP

2шт.

8

01010-31025

BOLT

SN: 14050-UP

8шт.

9

01602-01030

WASHER

SN: 14050-UP

8шт.

10

6127-11-4610

PLATE

SN: 14050-UP

1шт.

11

6127-11-4620

GASKET

SN: 14672-UP

1шт.

|11

6127-11-4620

GASKET (K1)

SN: 14050-14671

1шт.

12

01010-31435

BOLT

SN: 14050-UP

4шт.

13

01602-01442

WASHER

SN: 14050-UP

4шт.

14

6128-11-4151

JOINT

SN: 14050-UP

1шт.

15

07040-11812

PLUG

SN: 14050-UP

1шт.

16

07003-01824

GASKET (K1)

SN: 14050-UP

1шт.

17

07040-11007

PLUG

SN: 14050-UP

1шт.

18

07003-01015

GASKET (K1)

SN: 14050-UP

1шт.

19

6128-11-4810

SPACER

SN: 14050-UP

1шт.

20

6675-11-4960

GASKET (K1)

SN: 14050-UP

2шт.

21

6675-11-4950

COVER

SN: 14050-UP

1шт.

22

6610-21-2720

PLUG

SN: ..-UP

1шт.

|22

6600-01-1711

PLUG

SN: .-..

1шт.

|22

0

PLUG

SN: 10011-.

1шт.

23

600-815-2110

GLOW PLUG

SN: 14050-UP

1шт.

24

600-815-2190

GASKET (K1)

SN: 11710-UP

1шт.

|25

6610-81-4103

NOZZLE ASS'Y

SN: 14050-UP

1шт.

25

6610-81-4150

GASKET (K1)

SN: 14050-UP

1шт.

26

6610-81-4132

ADAPTER

SN: 14050-UP

1шт.

27

6610-81-4120

PLATE

SN: 14050-UP

1шт.

28

6610-81-4240

O-RING (K1)

SN: 14050-UP

1шт.

29

6610-81-4112

NOZZLE ASS'Y

SN: 14050-UP

1шт.

30

6610-81-4140

PIN

SN: 14050-UP

1шт.

31

6610-81-8820

ELBOW

SN: 14050-UP

1шт.

32

6128-11-4820

BOLT

SN: 14050-UP

4шт.

33

01602-00825

WASHER

SN: 14050-UP

4шт.

34

01640-20816

WASHER

SN: 14050-UP

4шт.

35

6127-11-4620

GASKET

SN: 14672-UP

1шт.

|35

6127-11-4620

GASKET (K1)

SN: 14050-14671

1шт.

36

01010-31450

BOLT

SN: 14050-UP

4шт.

37

01602-11442

WASHER

SN: 14050-UP

4шт.

38

01641-21423

WASHER

SN: 14050-UP

4шт.

39

6128-11-4190

PLATE

SN: 14050-UP

1шт.

40

01010-30820

BOLT

SN: 14050-UP

1шт.

41

01602-00825

WASHER

SN: 14050-UP

1шт.

42

6128-11-4121

ELBOW

SN: 14050-UP

1шт.

43

6127-11-4460

O-RING (K1)

SN: 14050-UP

2шт.

44

6127-11-4450

O-RING (K1)

SN: 14050-UP

2шт.

45

6128-11-4290

PLATE

SN: 14050-UP

1шт.

46

01010-31025

BOLT

SN: 14050-UP

1шт.

47

01602-01030

WASHER

SN: 14050-UP

1шт.

48

6128-11-4460

CONNECTOR

SN: 14050-UP

1шт.

49

6127-11-4460

O-RING (K1)

SN: 14050-UP

2шт.

50

600-181-0310

INDICATOR

SN: 12579-UP

1шт.

51

08671-00150

HOSE

SN: 12579-UP

1шт.

52

6128-11-5721

CLAMP

SN: 14251-UP

1шт.

|52

6128-11-5720

CLAMP

SN: 14050-14250

1шт.

53

6128-11-5872

CLAMP

SN: 14050-UP

1шт.

54

01010-31025

BOLT

SN: 14050-UP

1шт.

55

01010-31030

BOLT

SN: 14251-UP

1шт.

|55

01010-31020

BOLT

SN: 14050-14250

1шт.

56

01602-01030

WASHER

SN: 14050-UP

2шт.

57

01641-21016

WASHER

SN: 14050-UP

2шт.

58

6128-11-4213

BRACKET

SN: 14050-UP

1шт.

59

01010-31435

BOLT

SN: 14050-UP

4шт.

60

01602-01442

WASHER

SN: 14050-UP

4шт.

1

6128-11-4111

MANIFOLD

SN: 14050-UP

1шт.

2

6127-11-4820

GASKET (K1)

SN: .-UP

3шт.

|2

0

GASKET

SN: 14050-.

3шт.

|2

0

GASKET

SN: (14050-14244)

3шт.

3

01010-31285

BOLT

SN: 14050-UP

12шт.

4

01602-01236

WASHER

SN: 14050-UP

12шт.

5

01640-21223

WASHER

SN: 14050-UP

12шт.

6

6685-11-4850

COVER

SN: 14050-UP

2шт.

7

6127-11-4640

GASKET (K1)

SN: 14050-UP

2шт.

8

01010-31025

BOLT

SN: 14050-UP

8шт.

9

01602-01030

WASHER

SN: 14050-UP

8шт.

10

6127-11-4610

PLATE

SN: 14050-UP

1шт.

11

6127-11-4620

GASKET

SN: 14672-UP

1шт.

|11

6127-11-4620

GASKET (K1)

SN: 14050-14671

1шт.

12

01010-31435

BOLT

SN: 14050-UP

4шт.

13

01602-01442

WASHER

SN: 14050-UP

4шт.

14

6128-11-4151

JOINT

SN: 14050-UP

1шт.

15

07040-11812

PLUG

SN: 14050-UP

1шт.

16

07003-01824

GASKET (K1)

SN: 14050-UP

1шт.

17

07040-11007

PLUG

SN: 14050-UP

1шт.

18

07003-01015

GASKET (K1)

SN: 14050-UP

1шт.

19

6128-11-4810

SPACER

SN: 14050-UP

1шт.

20

6675-11-4960

GASKET (K1)

SN: 14050-UP

2шт.

21

6675-11-4950

COVER

SN: 14050-UP

1шт.

22

6610-21-2720

PLUG

SN: ..-UP

1шт.

|22

6600-01-1711

PLUG

SN: .-..

1шт.

|22

0

PLUG

SN: 10011-.

1шт.

23

600-815-2110

GLOW PLUG

SN: 14050-UP

1шт.

24

600-815-2190

GASKET (K1)

SN: 11710-UP

1шт.

|25

6610-81-4103

NOZZLE ASS'Y

SN: 14050-UP

1шт.

25

6610-81-4150

GASKET (K1)

SN: 14050-UP

1шт.

26

6610-81-4132

ADAPTER

SN: 14050-UP

1шт.

27

6610-81-4120

PLATE

SN: 14050-UP

1шт.

28

6610-81-4240

O-RING (K1)

SN: 14050-UP

1шт.

29

6610-81-4112

NOZZLE ASS'Y

SN: 14050-UP

1шт.

30

6610-81-4140

PIN

SN: 14050-UP

1шт.

31

6610-81-8820

ELBOW

SN: 14050-UP

1шт.

32

6128-11-4820

BOLT

SN: 14050-UP

4шт.

33

01602-00825

WASHER

SN: 14050-UP

4шт.

34

01640-20816

WASHER

SN: 14050-UP

4шт.

35

6127-11-4620

GASKET

SN: 14672-UP

1шт.

|35

6127-11-4620

GASKET (K1)

SN: 14050-14671

1шт.

36

01010-31450

BOLT

SN: 14050-UP

4шт.

37

01602-11442

WASHER

SN: 14050-UP

4шт.

38

01641-21423

WASHER

SN: 14050-UP

4шт.

39

6128-11-4190

PLATE

SN: 14050-UP

1шт.

40

01010-30820

BOLT

SN: 14050-UP

1шт.

41

01602-00825

WASHER

SN: 14050-UP

1шт.

42

6128-11-4121

ELBOW

SN: 14050-UP

1шт.

43

6127-11-4460

O-RING (K1)

SN: 14050-UP

2шт.

44

6127-11-4450

O-RING (K1)

SN: 14050-UP

2шт.

45

6128-11-4290

PLATE

SN: 14050-UP

1шт.

46

01010-31025

BOLT

SN: 14050-UP

1шт.

47

01602-01030

WASHER

SN: 14050-UP

1шт.

48

6128-11-4460

CONNECTOR

SN: 14050-UP

1шт.

49

6127-11-4460

O-RING (K1)

SN: 14050-UP

2шт.

50

600-181-0310

INDICATOR

SN: 12579-UP

1шт.

51

08671-00150

HOSE

SN: 12579-UP

1шт.

52

6128-11-5721

CLAMP

SN: 14251-UP

1шт.

|52

6128-11-5720

CLAMP

SN: 14050-14250

1шт.

53

6128-11-5872

CLAMP

SN: 14050-UP

1шт.

54

01010-31025

BOLT

SN: 14050-UP

1шт.

55

01010-31030

BOLT

SN: 14251-UP

1шт.

|55

01010-31020

BOLT

SN: 14050-14250

1шт.

56

01602-01030

WASHER

SN: 14050-UP

2шт.

57

01641-21016

WASHER

SN: 14050-UP

2шт.

58

6128-11-4213

BRACKET

SN: 14050-UP

1шт.

59

01010-31435

BOLT

SN: 14050-UP

4шт.

60

01602-01442

WASHER

SN: 14050-UP

4шт.

Выбрано товаров: 0