Запчасти Komatsu S6D155-4C МАСЛЯНЫЙ ПОДДОН(№-) БЛОК ЦИЛИНДРОВ

Схема запчастей Komatsu S6D155-4C - МАСЛЯНЫЙ ПОДДОН(№-) БЛОК ЦИЛИНДРОВ
FIT
1:1
100%

Артикул

Название

Примечание

Количество

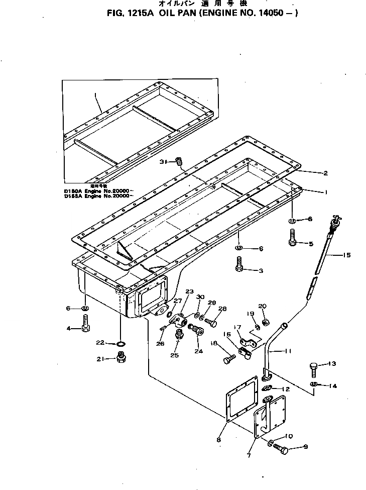
1

6127-21-5121

SN: 14050-UP

1шт.

|1

0

SN: 14050-16365

1шт.

2

6127-21-5811

SN: 10011-UP

1шт.

3

01010-31035

SN: 14062-UP

31шт.

|3

01010-31035

SN: 13135-14061

39шт.

4

01010-31030

SN: 14062-UP

11шт.

|4

01010-31030

SN: 13135-14061

3шт.

5

01010-31085

SN: 22782-UP

5шт.

|5

0

SN: 10011-22781

5шт.

6

01602-01030

SN: 10011-UP

47шт.

7

6127-21-5152

SN: 14953-UP

1шт.

|7

0

SN: 10011-14952

1шт.

|7

6128-91-2114

SN: 10011-UP

1шт.

8

6127-21-5161

SN: 10011-UP

1шт.

9

01010-31020

SN: 10011-UP

10шт.

10

01602-01030

SN: 10011-UP

10шт.

11

6127-21-5480

SN: 14050-UP

1шт.

12

6127-21-5420

SN: 10011-UP

1шт.

13

01010-30825

SN: 10278-UP

2шт.

14

01602-00825

SN: 10011-UP

2шт.

15

6127-21-5303

SN: 14050-UP

1шт.

|15

6128-21-5301

SN: 10011-UP

1шт.

16

6127-21-5450

SN: 10011-UP

1шт.

17

6127-21-5464

SN: 10011-UP

1шт.

18

01010-30820

SN: 10278-UP

1шт.

19

01602-00825

SN: 10011-UP

1шт.

20

01580-00806

SN: 10278-UP

1шт.

21

07044-13620

SN: 10278-UP

1шт.

22

07000-03032

SN: 10011-UP

1шт.

|23

6127-21-5601

SN: 14251-UP

1шт.

|23

0

SN: 14050-14250

1шт.

23

0

SN: 14251-UP

1шт.

|23

0

SN: 14050-14520

1шт.

24

0

SN: 14050-UP

1шт.

25

0

SN: 14251-UP

1шт.

|25

0

SN: 14050-14250

1шт.

26

04020-00514

SN: 14251-UP

1шт.

|26

04025-00540

SN: 14050-14250

1шт.

27

07000-63035

SN: 14050-UP

1шт.

28

01010-31025

SN: 14251-UP

1шт.

|28

01010-31030

SN: 14050-14250

2шт.

29

01602-01030

SN: 14050-UP

2шт.

30

01640-21016

SN: 14050-UP

2шт.

31

02720-20607

SN: 16366-UP

1шт.

1

6127-21-5121

SN: 14050-UP

1шт.

|1

0

SN: 14050-16365

1шт.

2

6127-21-5811

SN: 10011-UP

1шт.

3

01010-31035

SN: 14062-UP

31шт.

|3

01010-31035

SN: 13135-14061

39шт.

4

01010-31030

SN: 14062-UP

11шт.

|4

01010-31030

SN: 13135-14061

3шт.

5

01010-31085

SN: 22782-UP

5шт.

|5

0

SN: 10011-22781

5шт.

6

01602-01030

SN: 10011-UP

47шт.

7

6127-21-5152

SN: 14953-UP

1шт.

|7

0

SN: 10011-14952

1шт.

|7

6128-91-2114

SN: 10011-UP

1шт.

8

6127-21-5161

SN: 10011-UP

1шт.

9

01010-31020

SN: 10011-UP

10шт.

10

01602-01030

SN: 10011-UP

10шт.

11

6127-21-5480

SN: 14050-UP

1шт.

12

6127-21-5420

SN: 10011-UP

1шт.

13

01010-30825

SN: 10278-UP

2шт.

14

01602-00825

SN: 10011-UP

2шт.

15

6127-21-5303

SN: 14050-UP

1шт.

|15

6128-21-5301

SN: 10011-UP

1шт.

16

6127-21-5450

SN: 10011-UP

1шт.

17

6127-21-5464

SN: 10011-UP

1шт.

18

01010-30820

SN: 10278-UP

1шт.

19

01602-00825

SN: 10011-UP

1шт.

20

01580-00806

SN: 10278-UP

1шт.

21

07044-13620

SN: 10278-UP

1шт.

22

07000-03032

SN: 10011-UP

1шт.

|23

6127-21-5601

SN: 14251-UP

1шт.

|23

0

SN: 14050-14250

1шт.

23

0

SN: 14251-UP

1шт.

|23

0

SN: 14050-14520

1шт.

24

0

SN: 14050-UP

1шт.

25

0

SN: 14251-UP

1шт.

|25

0

SN: 14050-14250

1шт.

26

04020-00514

SN: 14251-UP

1шт.

|26

04025-00540

SN: 14050-14250

1шт.

27

07000-63035

SN: 14050-UP

1шт.

28

01010-31025

SN: 14251-UP

1шт.

|28

01010-31030

SN: 14050-14250

2шт.

29

01602-01030

SN: 14050-UP

2шт.

30

01640-21016

SN: 14050-UP

2шт.

31

02720-20607

SN: 16366-UP

1шт.

Выбрано товаров: 88