Запчасти Komatsu S6D155-4C КОЛЕНВАЛ¤ МАХОВИК¤ ПОРШЕНЬ И ШАТУН(№-79) АКСЕССУАРЫ

Схема запчастей Komatsu S6D155-4C - КОЛЕНВАЛ¤ МАХОВИК¤ ПОРШЕНЬ И ШАТУН(№-79) АКСЕССУАРЫ
FIT
1:1
100%

Артикул

Название

Примечание

Количество

|1

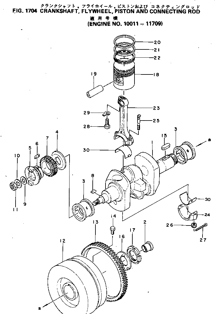
6040-31-1012

CRANKSHAFT ASS'Y

SN: 10011-11709

1шт.

1

6040-31-1112

CRANKSHAFT

SN: 10011-11709

1шт.

2

6040-31-1370

BUSHING

SN: 10011-11709

1шт.

|$$4

STANDARD

-1шт.

3

6040-21-8112

METAL

SN: 10011-11709

2шт.

|$$6

UNDERSIZE 0.25MM

-1шт.

3

6040-29-8112

METAL

SN: 10011-11709

2шт.

|$$8

UNDERSIZE 0.50MM

-1шт.

3

6040-28-8112

METAL

SN: 10011-11709

2шт.

|$$10

UNDERSIZE 0.75MM

-1шт.

3

6040-27-8112

METAL

SN: 10011-11709

2шт.

|$$12

UNDERSIZE 1.00MM

-1шт.

3

6040-26-8112

METAL

SN: 10011-11709

2шт.

|$$14

UNDERSIZE 1.50MM

-1шт.

3

6040-25-8112

METAL

SN: 10011-11709

2шт.

4

6040-21-8210

RING

SN: 10011-11709

1шт.

5

6040-31-1821

RACE

SN: 10011-11709

1шт.

6

04000-00718

KEY

SN: 10011-11709

1шт.

7

6040-31-1122

GEAR

SN: 10011-11709

1шт.

8

04000-00720

KEY

SN: 10011-11709

1шт.

9

01640-21629

WASHER

SN: 10011-11709

1шт.

10

6040-31-1890

WASHER

SN: 10011-11709

1шт.

11

6040-31-1910

NUT

SN: 10278-11709

1шт.

|11

01504-31608

NUT

SN: 10011-10277

1шт.

|12

6040-31-1032

FLYWHEEL ASS'Y

SN: 10011-11709

1шт.

12

0

FLYWHEEL

SN: 10011-11709

1шт.

13

6040-31-1320

GEAR

SN: 10011-11709

1шт.

14

6030-31-1360

PIN

SN: 10011-11709

6шт.

15

04000-01545

KEY

SN: 10011-11709

1шт.

16

6040-31-1341

WASHER

SN: 10011-11709

1шт.

17

6040-31-1351

NUT

SN: 10011-11709

1шт.

|$$32

STANDARD

-1шт.

|18

6040-31-2011

PISTON ASS'Y

SN: 10011-11709

2шт.

18

6040-31-2111

PISTON

SN: 10011-11709

1шт.

19

6040-31-2410

PIN

SN: 10011-11709

1шт.

|$$36

OVERSIZE 0.25MM

-1шт.

|18

6040-39-2011

PISTON ASS'Y

SN: 10011-11709

1шт.

18

6040-39-2111

PISTON

SN: 10011-11709

1шт.

19

6040-31-2410

PIN

SN: 10011-11709

1шт.

|$$40

OVERSIZE 0.50MM

-1шт.

|18

6040-38-2011

PISTON ASS'Y

SN: 10011-11709

2шт.

18

6040-38-2111

PISTON

SN: 10011-11709

1шт.

19

6040-31-2410

PIN

SN: 10011-11709

1шт.

|$$44

OVERSIZE 0.75MM

-1шт.

|18

6040-37-2011

PISTON ASS'Y

SN: 10011-11709

2шт.

18

6040-37-2111

PISTON

SN: 10011-11709

1шт.

19

6040-31-2410

PIN

SN: 10011-11709

1шт.

|$$48

STANDARD

-1шт.

|20

6040-31-2020

PISTON RING ASS'Y

SN: 10011-11709

1шт.

|20

6040-31-2030

PISTON RING ASS'Y

SN: 10011-11709

2шт.

20

0

RING,UPPER

SN: 10011-11709

1шт.

21

0

RING,LOWER

SN: 10011-11709

1шт.

22

0

RING,OIL

SN: 10011-11709

1шт.

|$$54

OVERSIZE 0.25MM

-1шт.

|20

6040-39-2020

PISTON RING ASS'Y

SN: 10011-11709

1шт.

|20

6040-39-2030

PISTON RING ASS'Y

SN: 10011-11709

2шт.

20

0

RING,UPPER

SN: 10011-11709

1шт.

21

0

RING,LOWER

SN: 10011-11709

1шт.

22

0

RING,OIL

SN: 10011-11709

1шт.

|23

6040-31-3013

CONNECTING ROD ASS'Y

SN: .-11709

2шт.

|23

0

CONNECTING ROD ASS'Y

SN: 10011-.

2шт.

23

0

ROD

SN: 10011-11709

1шт.

24

0

CAP

SN: 10011-11709

1шт.

25

6040-31-3312

BOLT

SN: 10011-11709

2шт.

26

6040-31-3321

NUT

SN: 10011-11709

2шт.

27

6040-81-4340

PIN

SN: .-11709

4шт.

|27

0

PIN

SN: 10011-.

4шт.

28

01050-61030

BOLT

SN: 10011-11709

2шт.

29

6040-31-3960

PLATE

SN: 10011-11709

2шт.

|$$70

STANDARD

-1шт.

30

6040-31-3400

CRANK PIN METAL A.

SN: 10011-11709

2шт.

|30

0

METAL

SN: 10011-11709

2шт.

|$$73

UNDERSIZE 0.25MM

-1шт.

30

6040-39-3400

CRANK PIN METAL A.

SN: 10011-11709

2шт.

|30

0

METAL

SN: 10011-11709

1шт.

|30

0

METAL

SN: 10011-11709

1шт.

|$$77

UNDERSIZE 0.50MM

-1шт.

30

6040-38-3400

CRANK PIN METAL A.

SN: 10011-11709

2шт.

|30

0

METAL

SN: 10011-11709

2шт.

|$$80

UNDERSIZE 0.75MM

-1шт.

30

6040-37-3400

CRANK PIN METAL A.

SN: 10011-11709

2шт.

|30

0

METAL

SN: 10011-11709

1шт.

|30

0

METAL

SN: 10011-11709

1шт.

|$$84

UNDERSIZE 1.00MM

-1шт.

30

6040-36-3400

CRANK PIN METAL A.

SN: 10011-11709

2шт.

|30

0

METAL

SN: 10011-11709

2шт.

|1

6040-31-1012

CRANKSHAFT ASS'Y

SN: 10011-11709

1шт.

1

6040-31-1112

CRANKSHAFT

SN: 10011-11709

1шт.

2

6040-31-1370

BUSHING

SN: 10011-11709

1шт.

|$$4

STANDARD

-1шт.

3

6040-21-8112

METAL

SN: 10011-11709

2шт.

|$$6

UNDERSIZE 0.25MM

-1шт.

3

6040-29-8112

METAL

SN: 10011-11709

2шт.

|$$8

UNDERSIZE 0.50MM

-1шт.

3

6040-28-8112

METAL

SN: 10011-11709

2шт.

|$$10

UNDERSIZE 0.75MM

-1шт.

3

6040-27-8112

METAL

SN: 10011-11709

2шт.

|$$12

UNDERSIZE 1.00MM

-1шт.

3

6040-26-8112

METAL

SN: 10011-11709

2шт.

|$$14

UNDERSIZE 1.50MM

-1шт.

3

6040-25-8112

METAL

SN: 10011-11709

2шт.

4

6040-21-8210

RING

SN: 10011-11709

1шт.

5

6040-31-1821

RACE

SN: 10011-11709

1шт.

6

04000-00718

KEY

SN: 10011-11709

1шт.

7

6040-31-1122

GEAR

SN: 10011-11709

1шт.

8

04000-00720

KEY

SN: 10011-11709

1шт.

9

01640-21629

WASHER

SN: 10011-11709

1шт.

10

6040-31-1890

WASHER

SN: 10011-11709

1шт.

11

6040-31-1910

NUT

SN: 10278-11709

1шт.

|11

01504-31608

NUT

SN: 10011-10277

1шт.

|12

6040-31-1032

FLYWHEEL ASS'Y

SN: 10011-11709

1шт.

12

0

FLYWHEEL

SN: 10011-11709

1шт.

13

6040-31-1320

GEAR

SN: 10011-11709

1шт.

14

6030-31-1360

PIN

SN: 10011-11709

6шт.

15

04000-01545

KEY

SN: 10011-11709

1шт.

16

6040-31-1341

WASHER

SN: 10011-11709

1шт.

17

6040-31-1351

NUT

SN: 10011-11709

1шт.

|$$32

STANDARD

-1шт.

|18

6040-31-2011

PISTON ASS'Y

SN: 10011-11709

2шт.

18

6040-31-2111

PISTON

SN: 10011-11709

1шт.

19

6040-31-2410

PIN

SN: 10011-11709

1шт.

|$$36

OVERSIZE 0.25MM

-1шт.

|18

6040-39-2011

PISTON ASS'Y

SN: 10011-11709

1шт.

18

6040-39-2111

PISTON

SN: 10011-11709

1шт.

19

6040-31-2410

PIN

SN: 10011-11709

1шт.

|$$40

OVERSIZE 0.50MM

-1шт.

|18

6040-38-2011

PISTON ASS'Y

SN: 10011-11709

2шт.

18

6040-38-2111

PISTON

SN: 10011-11709

1шт.

19

6040-31-2410

PIN

SN: 10011-11709

1шт.

|$$44

OVERSIZE 0.75MM

-1шт.

|18

6040-37-2011

PISTON ASS'Y

SN: 10011-11709

2шт.

18

6040-37-2111

PISTON

SN: 10011-11709

1шт.

19

6040-31-2410

PIN

SN: 10011-11709

1шт.

|$$48

STANDARD

-1шт.

|20

6040-31-2020

PISTON RING ASS'Y

SN: 10011-11709

1шт.

|20

6040-31-2030

PISTON RING ASS'Y

SN: 10011-11709

2шт.

20

0

RING,UPPER

SN: 10011-11709

1шт.

21

0

RING,LOWER

SN: 10011-11709

1шт.

22

0

RING,OIL

SN: 10011-11709

1шт.

|$$54

OVERSIZE 0.25MM

-1шт.

|20

6040-39-2020

PISTON RING ASS'Y

SN: 10011-11709

1шт.

|20

6040-39-2030

PISTON RING ASS'Y

SN: 10011-11709

2шт.

20

0

RING,UPPER

SN: 10011-11709

1шт.

21

0

RING,LOWER

SN: 10011-11709

1шт.

22

0

RING,OIL

SN: 10011-11709

1шт.

|23

6040-31-3013

CONNECTING ROD ASS'Y

SN: .-11709

2шт.

|23

0

CONNECTING ROD ASS'Y

SN: 10011-.

2шт.

23

0

ROD

SN: 10011-11709

1шт.

24

0

CAP

SN: 10011-11709

1шт.

25

6040-31-3312

BOLT

SN: 10011-11709

2шт.

26

6040-31-3321

NUT

SN: 10011-11709

2шт.

27

6040-81-4340

PIN

SN: .-11709

4шт.

|27

0

PIN

SN: 10011-.

4шт.

28

01050-61030

BOLT

SN: 10011-11709

2шт.

29

6040-31-3960

PLATE

SN: 10011-11709

2шт.

|$$70

STANDARD

-1шт.

30

6040-31-3400

CRANK PIN METAL A.

SN: 10011-11709

2шт.

|30

0

METAL

SN: 10011-11709

2шт.

|$$73

UNDERSIZE 0.25MM

-1шт.

30

6040-39-3400

CRANK PIN METAL A.

SN: 10011-11709

2шт.

|30

0

METAL

SN: 10011-11709

1шт.

|30

0

METAL

SN: 10011-11709

1шт.

|$$77

UNDERSIZE 0.50MM

-1шт.

30

6040-38-3400

CRANK PIN METAL A.

SN: 10011-11709

2шт.

|30

0

METAL

SN: 10011-11709

2шт.

|$$80

UNDERSIZE 0.75MM

-1шт.

30

6040-37-3400

CRANK PIN METAL A.

SN: 10011-11709

2шт.

|30

0

METAL

SN: 10011-11709

1шт.

|30

0

METAL

SN: 10011-11709

1шт.

|$$84

UNDERSIZE 1.00MM

-1шт.

30

6040-36-3400

CRANK PIN METAL A.

SN: 10011-11709

2шт.

|30

0

METAL

SN: 10011-11709

2шт.

Выбрано товаров: 172