Запчасти Komatsu S6D155-4C ВОДЯНОЙ КОЛЛЕКТОР И ТЕРМОСТАТ(№-) ГОЛОВКА ЦИЛИНДРОВ

Схема запчастей Komatsu S6D155-4C - ВОДЯНОЙ КОЛЛЕКТОР И ТЕРМОСТАТ(№-) ГОЛОВКА ЦИЛИНДРОВ
FIT
1:1
100%

Артикул

Название

Примечание

Количество

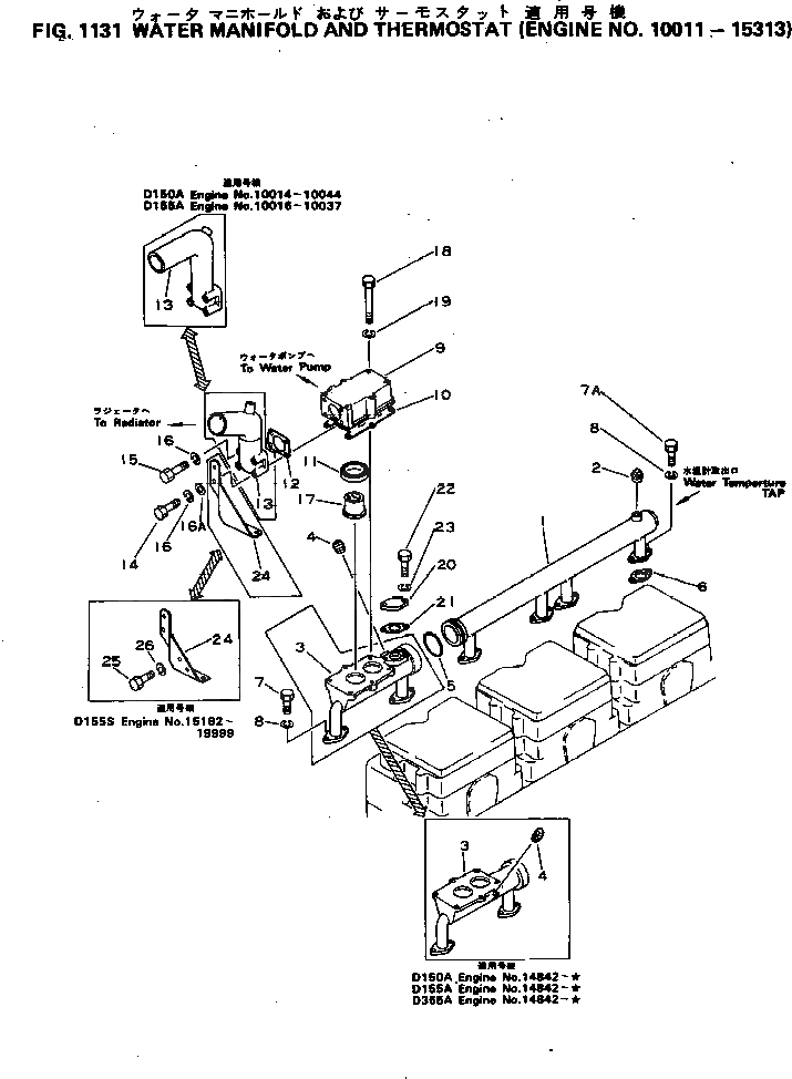
1

6128-11-6110

MANIFOLD

SN: 10011-15313

1шт.

1

6128-11-6190

MANIFOLD,(WITH OVER HEAT SENSOR)

SN: 10011-15131

1шт.

2

07042-00415

PLUG

SN: 14947-@

1шт.

2

07042-00312

PLUG

SN: 10011-14946

1шт.

3

6127-11-6121

MANIFOLD

SN: 14842-@

1шт.

3

6127-11-6120

MANIFOLD

SN: 10022-14841

1шт.

3

0

MANIFOLD

SN: (10022-10024)

1шт.

3

6127-11-6120

MANIFOLD

SN: 10011-10021

1шт.

3

0

MANIFOLD

SN: (10011-10015)

1шт.

4

07042-00211

PLUG

SN: 14842-@

1шт.

4

07042-00211

PLUG

SN: 10011-14841

2шт.

5

07000-03075

O-RING (K1)

SN: 10011-15313

1шт.

6

6128-11-6800

GASKET ASS'Y (K1)

SN: 15053-@

6шт.

6

0

GASKET ASS'Y

SN: 10011-15052

6шт.

6

6128-11-6810

GASKET,(NOT SHOWN) (K1)

SN: 15053-@

1шт.

6

6128-11-6820

SEAL,(NOT SHOWN) (K1)

SN: 15053-@

1шт.

7

01010-31030

BOLT

SN: 15053-@

4шт.

7

01010-31030

BOLT

SN: 10011-15052

12шт.

7A

01010-31035

BOLT

SN: 15053-@

8шт.

8

01602-01030

WASHER

SN: 10011-@

12шт.

9

6128-11-6410

HOUSING

SN: 10011-@

1шт.

10

6127-11-6430

GASKET (K1)

SN: 10011-@

1шт.

11

6127-11-6441

SEAL

SN: 10011-@

2шт.

12

6127-11-6470

GASKET (K1)

SN: 10011-@

1шт.

13

6128-11-6460

CONNECTOR

SN: 10011-@

1шт.

14

01010-31090

BOLT

SN: 10011-@

2шт.

15

01010-31080

BOLT

SN: 10011-@

2шт.

16

01602-01030

WASHER

SN: 10011-@

4шт.

16A

01643-31032

WASHER

SN: 10011-@

2шт.

17

600-421-6610

THERMOSTAT

SN: 10011-@

2шт.

18

01011-31000

BOLT

SN: 14413-@

6шт.

18

0

BOLT

SN: 10011-14412

6шт.

19

01602-01030

WASHER

SN: 10011-@

6шт.

20

6127-61-6250

COVER

SN: 10011-10081

1шт.

21

6127-61-6850

GASKET (K1)

SN: 10011-10081

1шт.

22

01010-31025

BOLT

SN: 10011-10081

2шт.

23

01602-01030

WASHER

SN: 10011-10081

2шт.

24

6127-11-6880

BRACKET

SN: 10011-10081

1шт.

1

6128-11-6110

MANIFOLD

SN: 10011-15313

1шт.

1

6128-11-6190

MANIFOLD,(WITH OVER HEAT SENSOR)

SN: 10011-15131

1шт.

2

07042-00415

PLUG

SN: 14947-@

1шт.

2

07042-00312

PLUG

SN: 10011-14946

1шт.

3

6127-11-6121

MANIFOLD

SN: 14842-@

1шт.

3

6127-11-6120

MANIFOLD

SN: 10022-14841

1шт.

3

0

MANIFOLD

SN: (10022-10024)

1шт.

3

6127-11-6120

MANIFOLD

SN: 10011-10021

1шт.

3

0

MANIFOLD

SN: (10011-10015)

1шт.

4

07042-00211

PLUG

SN: 14842-@

1шт.

4

07042-00211

PLUG

SN: 10011-14841

2шт.

5

07000-03075

O-RING (K1)

SN: 10011-15313

1шт.

6

6128-11-6800

GASKET ASS'Y (K1)

SN: 15053-@

6шт.

6

0

GASKET ASS'Y

SN: 10011-15052

6шт.

6

6128-11-6810

GASKET,(NOT SHOWN) (K1)

SN: 15053-@

1шт.

6

6128-11-6820

SEAL,(NOT SHOWN) (K1)

SN: 15053-@

1шт.

7

01010-31030

BOLT

SN: 15053-@

4шт.

7

01010-31030

BOLT

SN: 10011-15052

12шт.

7A

01010-31035

BOLT

SN: 15053-@

8шт.

8

01602-01030

WASHER

SN: 10011-@

12шт.

9

6128-11-6410

HOUSING

SN: 10011-@

1шт.

10

6127-11-6430

GASKET (K1)

SN: 10011-@

1шт.

11

6127-11-6441

SEAL

SN: 10011-@

2шт.

12

6127-11-6470

GASKET (K1)

SN: 10011-@

1шт.

13

6128-11-6460

CONNECTOR

SN: 10011-@

1шт.

14

01010-31090

BOLT

SN: 10011-@

2шт.

15

01010-31080

BOLT

SN: 10011-@

2шт.

16

01602-01030

WASHER

SN: 10011-@

4шт.

16A

01643-31032

WASHER

SN: 10011-@

2шт.

17

600-421-6610

THERMOSTAT

SN: 10011-@

2шт.

18

01011-31000

BOLT

SN: 14413-@

6шт.

18

0

BOLT

SN: 10011-14412

6шт.

19

01602-01030

WASHER

SN: 10011-@

6шт.

20

6127-61-6250

COVER

SN: 10011-10081

1шт.

21

6127-61-6850

GASKET (K1)

SN: 10011-10081

1шт.

22

01010-31025

BOLT

SN: 10011-10081

2шт.

23

01602-01030

WASHER

SN: 10011-10081

2шт.

24

6127-11-6880

BRACKET

SN: 10011-10081

1шт.

Выбрано товаров: 76