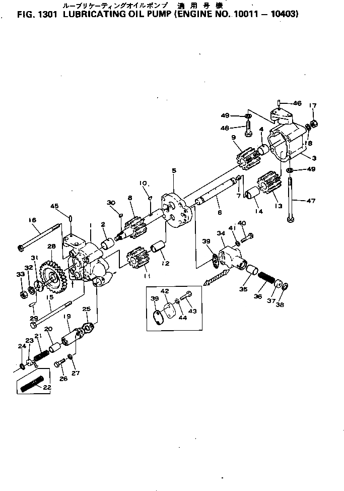
Запчасти Komatsu S6D155-4C СМАЗЫВ. НАСОС(№-) СИСТЕМА СМАЗКИ МАСЛ. СИСТЕМА

Схема запчастей Komatsu S6D155-4C - СМАЗЫВ. НАСОС(№-) СИСТЕМА СМАЗКИ МАСЛ. СИСТЕМА
FIT
1:1
100%

Артикул

Название

Примечание

Количество

|$0

6128-52-1000

OIL PUMP ASS'Y

SN: 10011-10403

1шт.

|$1

6128-51-1002

OIL PUMP ASS'Y

SN: 10011-10403

1шт.

|$2

6128-51-1012

BODY ASS'Y

SN: 10011-@

1шт.

1

0

BODY

SN: 10011-@

1шт.

2

0

BUSHING

SN: 10011-@

1шт.

|$5

6128-51-1022

BODY ASS'Y

SN: 10011-@

1шт.

3

0

BODY

SN: 10011-@

1шт.

4

0

BUSHING

SN: 10011-@

1шт.

5

6128-51-1221

COVER

SN: 10011-10403

1шт.

|$9

6128-51-1032

SHAFT ASS'Y

SN: 10011-@

1шт.

6

0

SHAFT

SN: 10011-@

1шт.

7

0

PLUG

SN: 10011-@

1шт.

8

6128-51-1312

SHAFT

SN: 10011-@

1шт.

9

6128-51-1411

GEAR

SN: 10011-@

1шт.

10

04000-00730

KEY

SN: 10011-@

1шт.

|$15

6128-51-1052

GEAR ASS'Y

SN: 10011-@

1шт.

11

0

GEAR

SN: 10011-@

1шт.

12

0

BUSHING

SN: 10011-@

1шт.

|$18

6128-51-1041

GEAR ASS'Y

SN: 10011-@

1шт.

13

0

GEAR

SN: 10011-@

1шт.

14

0

BUSHING

SN: 10011-@

1шт.

15

6127-51-1180

BOLT

SN: 10011-@

2шт.

16

6127-51-1190

BOLT

SN: 10011-@

2шт.

17

0

NUT

SN: 10011-10403

4шт.

18

01602-01236

WASHER

SN: 10011-@

4шт.

19

6127-51-1611

CASE

SN: 10011-@

1шт.

20

6127-51-1621

VALVE

SN: 10011-@

1шт.

21

6127-51-1631

SPRING

SN: 10338-@

1шт.

21

0

SPRING

SN: 10011-10337

1шт.

|$$30

(6127-51-1631,6127-51-1670)

-1шт.

22

6127-51-1670

SPRING

SN: 10338-@

1шт.

23

6127-51-1641

RETAINER

SN: 10011-@

1шт.

24

6127-51-1650

RING

SN: 10011-@

1шт.

25

6127-51-1660

GASKET (K2)

SN: 10011-@

1шт.

26

01040-41025

BOLT

SN: 10011-10403

2шт.

27

01602-01030

WASHER

SN: 10011-@

2шт.

|$36

6127-51-2020

GEAR ASS'Y

SN: 10011-@

1шт.

28

0

GEAR

SN: 10011-@

1шт.

29

0

PIN

SN: 10011-@

1шт.

30

04000-00718

KEY

SN: 10011-@

1шт.

31

6127-51-2130

WASHER

SN: 10011-@

1шт.

32

01653-21412

WASHER (K2)

SN: 10011-@

1шт.

33

01500-31411

NUT

SN: 10011-10403

1шт.

34

6128-51-1611

CASE

SN: 10011-@

1шт.

35

6127-51-1621

VALVE

SN: 10011-@

1шт.

36

6128-51-1630

SPRING

SN: 10011-10427

1шт.

37

6128-51-1640

RETAINER

SN: 10046-@

1шт.

38

6127-51-1650

RING

SN: 10046-@

1шт.

39

6127-51-6920

GASKET (K2)

SN: 10046-@

1шт.

40

01040-31055

BOLT

SN: 10011-10403

2шт.

41

01602-01030

WASHER

SN: 10011-@

2шт.

45

04020-00820

PIN

SN: 10278-@

1шт.

45

04020-00820

PIN

SN: 10011-10277

2шт.

46

6127-21-1281

PIN

SN: 10278-@

1шт.

47

6128-51-1240

BOLT

SN: 10011-@

2шт.

48

01010-31260

BOLT

SN: 10011-@

2шт.

49

01602-01236

WASHER

SN: 10011-@

4шт.

|$0

6128-52-1000

OIL PUMP ASS'Y

SN: 10011-10403

1шт.

|$1

6128-51-1002

OIL PUMP ASS'Y

SN: 10011-10403

1шт.

|$2

6128-51-1012

BODY ASS'Y

SN: 10011-@

1шт.

1

0

BODY

SN: 10011-@

1шт.

2

0

BUSHING

SN: 10011-@

1шт.

|$5

6128-51-1022

BODY ASS'Y

SN: 10011-@

1шт.

3

0

BODY

SN: 10011-@

1шт.

4

0

BUSHING

SN: 10011-@

1шт.

5

6128-51-1221

COVER

SN: 10011-10403

1шт.

|$9

6128-51-1032

SHAFT ASS'Y

SN: 10011-@

1шт.

6

0

SHAFT

SN: 10011-@

1шт.

7

0

PLUG

SN: 10011-@

1шт.

8

6128-51-1312

SHAFT

SN: 10011-@

1шт.

9

6128-51-1411

GEAR

SN: 10011-@

1шт.

10

04000-00730

KEY

SN: 10011-@

1шт.

|$15

6128-51-1052

GEAR ASS'Y

SN: 10011-@

1шт.

11

0

GEAR

SN: 10011-@

1шт.

12

0

BUSHING

SN: 10011-@

1шт.

|$18

6128-51-1041

GEAR ASS'Y

SN: 10011-@

1шт.

13

0

GEAR

SN: 10011-@

1шт.

14

0

BUSHING

SN: 10011-@

1шт.

15

6127-51-1180

BOLT

SN: 10011-@

2шт.

16

6127-51-1190

BOLT

SN: 10011-@

2шт.

17

0

NUT

SN: 10011-10403

4шт.

18

01602-01236

WASHER

SN: 10011-@

4шт.

19

6127-51-1611

CASE

SN: 10011-@

1шт.

20

6127-51-1621

VALVE

SN: 10011-@

1шт.

21

6127-51-1631

SPRING

SN: 10338-@

1шт.

21

0

SPRING

SN: 10011-10337

1шт.

|$$30

(6127-51-1631,6127-51-1670)

-1шт.

22

6127-51-1670

SPRING

SN: 10338-@

1шт.

23

6127-51-1641

RETAINER

SN: 10011-@

1шт.

24

6127-51-1650

RING

SN: 10011-@

1шт.

25

6127-51-1660

GASKET (K2)

SN: 10011-@

1шт.

26

01040-41025

BOLT

SN: 10011-10403

2шт.

27

01602-01030

WASHER

SN: 10011-@

2шт.

|$36

6127-51-2020

GEAR ASS'Y

SN: 10011-@

1шт.

28

0

GEAR

SN: 10011-@

1шт.

29

0

PIN

SN: 10011-@

1шт.

30

04000-00718

KEY

SN: 10011-@

1шт.

31

6127-51-2130

WASHER

SN: 10011-@

1шт.

32

01653-21412

WASHER (K2)

SN: 10011-@

1шт.

33

01500-31411

NUT

SN: 10011-10403

1шт.

34

6128-51-1611

CASE

SN: 10011-@

1шт.

35

6127-51-1621

VALVE

SN: 10011-@

1шт.

36

6128-51-1630

SPRING

SN: 10011-10427

1шт.

37

6128-51-1640

RETAINER

SN: 10046-@

1шт.

38

6127-51-1650

RING

SN: 10046-@

1шт.

39

6127-51-6920

GASKET (K2)

SN: 10046-@

1шт.

40

01040-31055

BOLT

SN: 10011-10403

2шт.

41

01602-01030

WASHER

SN: 10011-@

2шт.

45

04020-00820

PIN

SN: 10278-@

1шт.

45

04020-00820

PIN

SN: 10011-10277

2шт.

46

6127-21-1281

PIN

SN: 10278-@

1шт.

47

6128-51-1240

BOLT

SN: 10011-@

2шт.

48

01010-31260

BOLT

SN: 10011-@

2шт.

49

01602-01236

WASHER

SN: 10011-@

4шт.

Выбрано товаров: 114