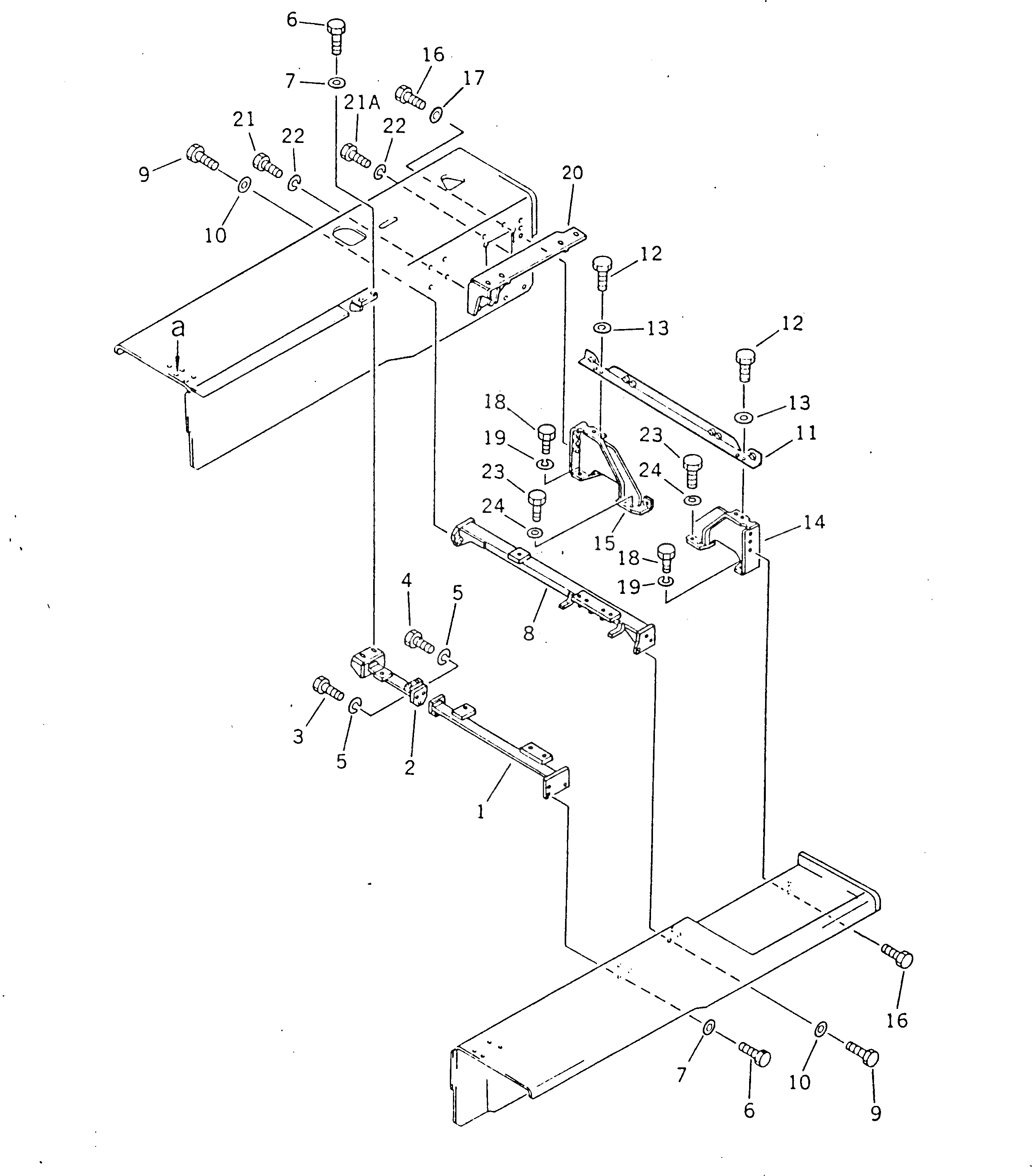
Запчасти Komatsu D355A-3X СУППОРТ(№9-) ЧАСТИ КОРПУСА

Схема запчастей Komatsu D355A-3X - СУППОРТ(№9-) ЧАСТИ КОРПУСА
FIT
1:1
100%

Артикул

Название

Примечание

Количество

|1

195-54-23600

SUPPORT ASS'Y

SN: 10838-UP

1шт.

|1

195-54-23502

SUPPORT ASS'Y

SN: 9001-10837

1шт.

1

195-54-23423

SUPPORT

SN: 9001-UP

1шт.

1

195-54-23570

SUPPORT

SN: 10838-UP

1шт.

|2

195-54-23571

SUPPORT

SN: 4903-10837

1шт.

3

01090-51235

BOLT

SN: 9001-UP

1шт.

4

01010-81235

BOLT

SN: 3301-UP

2шт.

5

01602-21236

WASHER

SN: 3301-UP

3шт.

6

01010-61645

BOLT

SN: 3301-UP

5шт.

7

01643-31645

WASHER

SN: 3301-UP

5шт.

8

195-54-12386

SUPPORT

SN: 10838-UP

1шт.

|8

195-54-12387

SUPPORT

SN: 4903-10837

1шт.

9

01010-61645

BOLT

SN: 3301-UP

6шт.

10

01643-31645

WASHER

SN: 3301-UP

6шт.

11

195-54-14146

STAY

SN: 9001-UP

1шт.

12

01010-81235

BOLT

SN: 1632-UP

4шт.

13

01643-31232

WASHER

SN: 1632-UP

4шт.

14

195-54-14139

BRACKET,L.H.

SN: 9001-UP

1шт.

15

195-54-12549

BRACKET,R.H.

SN: 9001-UP

1шт.

16

01010-62060

BOLT

SN: 3301-UP

6шт.

17

01643-32060

WASHER

SN: 3301-UP

6шт.

18

01010-61645

BOLT

SN: 9001-UP

4шт.

19

01643-31645

WASHER

SN: 9001-UP

4шт.

20

195-54-12680

BRACKET

SN: 3301-UP

1шт.

21

01010-62050

BOLT

SN: 9001-UP

4шт.

21A

01010-52060

BOLT

SN: 1117-UP

2шт.

22

01643-32060

WASHER

SN: 1117-UP

6шт.

23

01010-62050

BOLT

SN: 9001-UP

4шт.

24

01643-32060

WASHER

SN: 9001-UP

4шт.

Выбрано товаров: 29