Запчасти Komatsu D355A-3X ПОЛ КАБИНЫ(№9-) ЧАСТИ КОРПУСА

Схема запчастей Komatsu D355A-3X - ПОЛ КАБИНЫ(№9-) ЧАСТИ КОРПУСА
FIT
1:1
100%

Артикул

Название

Примечание

Количество

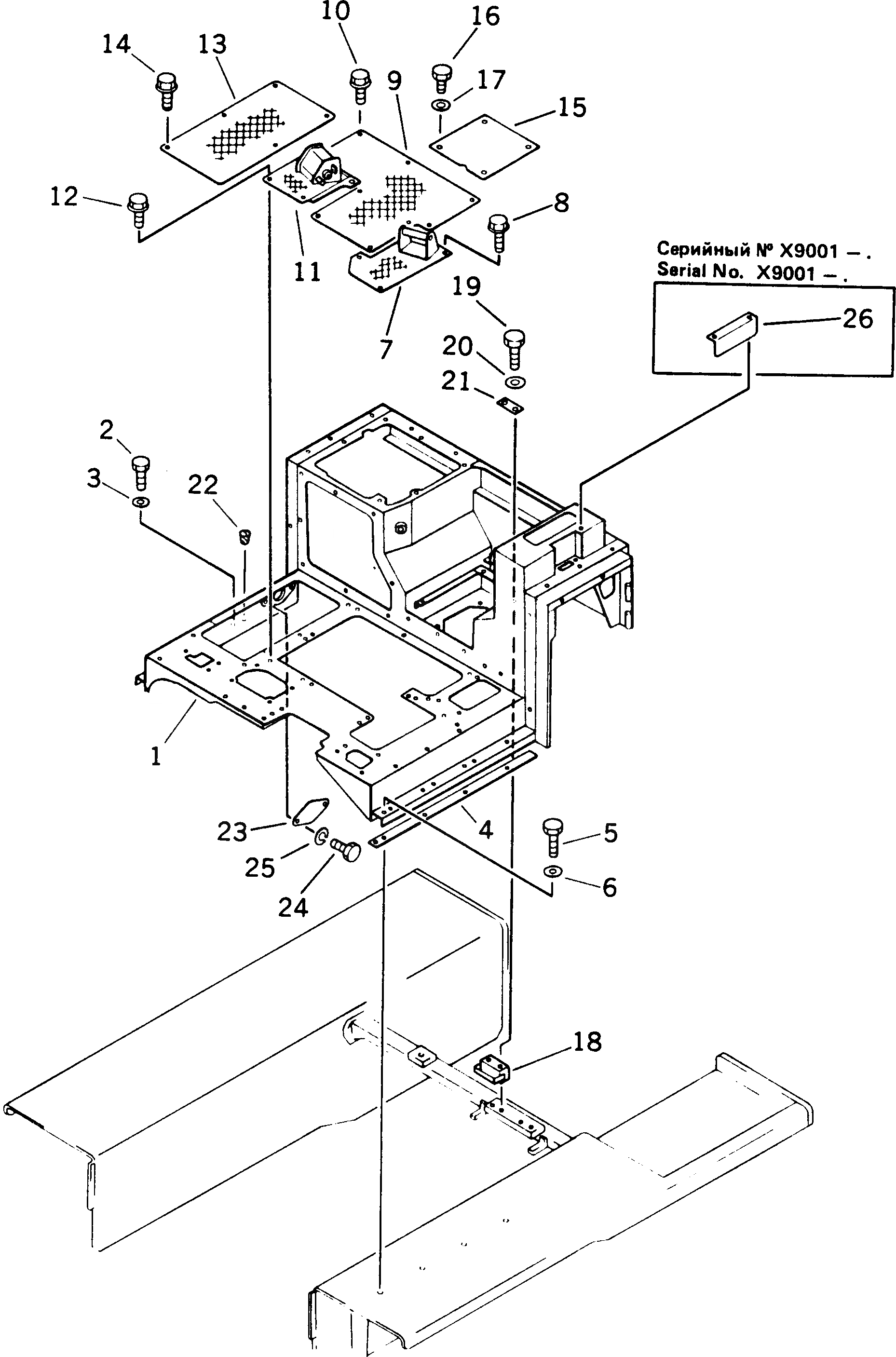
1

195-54-16923

FRAME,(FOR 11KW STARTER)

SN: 9001-UP

1шт.

|1

195-54-16925

FRAME

SN: 10447-UP

1шт.

2

01010-61475

BOLT,(WITHOUT CAB)

SN: 3301-UP

4шт.

3

01643-31445

WASHER,(WITHOUT CAB)

SN: 3301-UP

4шт.

4

175-54-33140

SEAT,(WITHOUT CAB)

SN: 3301-UP

1шт.

5

01010-61490

BOLT,(WITHOUT CAB)

SN: 9001-UP

4шт.

6

01643-31445

WASHER,(WITHOUT CAB)

SN: 3301-UP

4шт.

7

175-54-33214

COVER

SN: 9001-UP

1шт.

8

01439-01230

BOLT

SN: 9001-UP

4шт.

9

175-54-33175

COVER

SN: 9001-UP

1шт.

10

01439-01230

BOLT

SN: 9001-UP

9шт.

11

175-54-33197

COVER

SN: 9001-UP

1шт.

12

01439-01230

BOLT

SN: 9001-UP

1шт.

13

195-54-23562

COVER

SN: 9001-UP

1шт.

14

01439-01230

BOLT

SN: 9001-UP

6шт.

15

175-54-33233

COVER

SN: 9001-UP

1шт.

16

01010-80816

BOLT

SN: 9001-UP

4шт.

17

01643-30823

WASHER

SN: 9001-UP

4шт.

18

175-54-33151

SEAT,(WITHOUT CAB)

SN: 4001-UP

1шт.

19

01011-51400

BOLT,(WITHOUT CAB)

SN: 4001-UP

2шт.

20

01643-31445

WASHER,(WITHOUT CAB)

SN: 4001-UP

2шт.

21

195-54-23471

PLATE,(WITHOUT CAB)

SN: 4001-UP

1шт.

22

07049-01418

PLUG

SN: 9001-UP

21шт.

23

175-54-37260

COVER

SN: 9001-UP

1шт.

24

01010-80816

BOLT

SN: 9001-UP

2шт.

25

01602-20825

WASHER

SN: 9001-UP

2шт.

26

195-54-26250

COVER

SN: 9001-.

1шт.

Выбрано товаров: 27