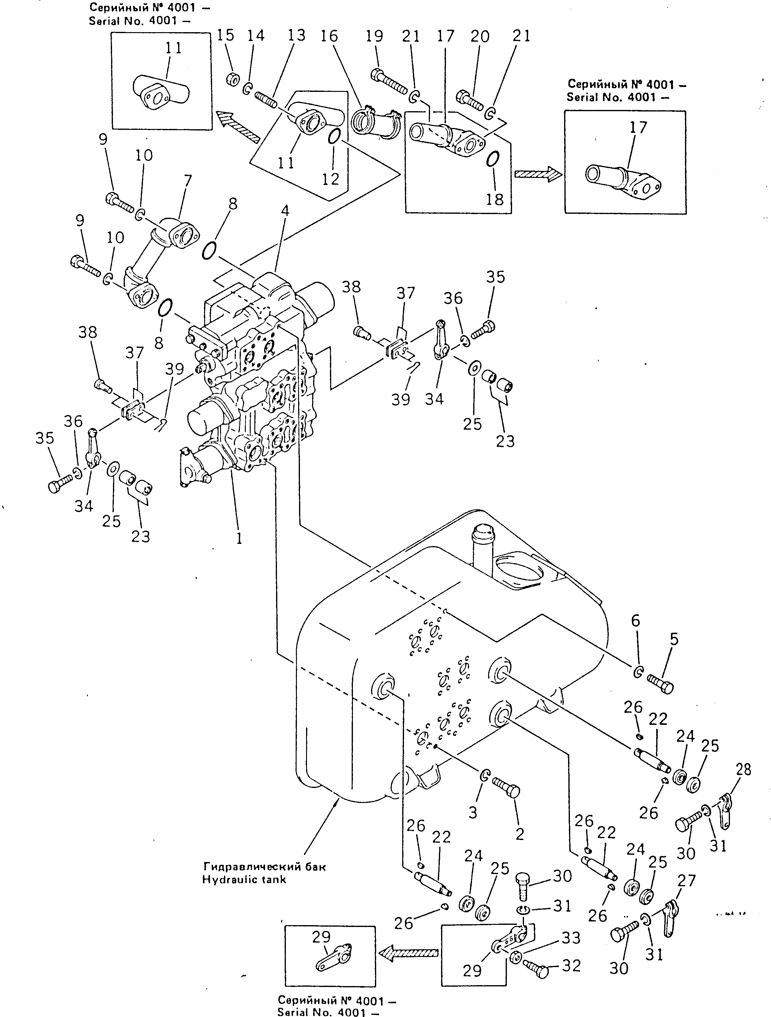
Запчасти Komatsu D355A-3X ГИДР. БАК. (/)(№-) УПРАВЛ-Е РАБОЧИМ ОБОРУДОВАНИЕМ

Схема запчастей Komatsu D355A-3X - ГИДР. БАК. (/)(№-) УПРАВЛ-Е РАБОЧИМ ОБОРУДОВАНИЕМ
FIT
1:1
100%

Артикул

Название

Примечание

Количество

|1

195-60-11005

HYDRAULIC TANK

SN: 13664-UP

1шт.

|1

0

HYDRAULIC TANK

SN: 4001-13663

1шт.

|1

0

HYDRAULIC TANK

SN: 3301-4000

1шт.

|$$4

THESE ASSEMBLIES CONSIST OF ALL PARTS SHOWN IN FIGS.611A612A¤ AND 613A.

-1шт.

1

701-43-25001

VALVE ASS'Y

SN: 4003-UP

1шт.

|1

0

VALVE ASS'Y

SN: 3301-4002

1шт.

2

01010-81230

BOLT

SN: 1010-UP

3шт.

3

01602-21236

WASHER,SPRING

SN: 1010-UP

3шт.

4

701-41-22003

CONTROL VALVE

SN: 4003-UP

1шт.

|4

0

CONTROL VALVE

SN: 3301-4002

1шт.

5

01010-81230

BOLT

SN: 1010-UP

3шт.

6

01602-21236

WASHER,SPRING

SN: 1010-UP

3шт.

7

175-60-27253

TUBE

SN: .-UP

1шт.

|7

175-60-27252

TUBE

SN: 1632-.

1шт.

8

07000-53050

O-RING

SN: 1632-UP

2шт.

9

01010-61445

BOLT

SN: 1010-UP

4шт.

10

01602-01442

WASHER,SPRING

SN: 1010-UP

4шт.

11

195-60-16631

TUBE

SN: 4001-UP

1шт.

|11

0

TUBE

SN: 3301-4000

1шт.

12

07000-52055

O-RING

SN: 3301-4000

1шт.

13

01144-31435

STUD

SN: 1010-UP

2шт.

14

01602-01442

WASHER,SPRING

SN: 1010-UP

2шт.

15

01580-01411

NUT

SN: 1010-UP

2шт.

16

07332-01400

COUPLING ASS'Y

SN: 3301-UP

1шт.

|16

0

COUPLING

SN: 1632-3299

1шт.

|$$26

(175-60-29160{07281-00709(2))}

-1шт.

17

195-60-16641

TUBE

SN: 4001-UP

1шт.

|17

0

TUBE

SN: 3301-4000

1шт.

18

07000-53050

O-RING

SN: 1632-4000

1шт.

19

01010-61495

BOLT

SN: 3301-UP

1шт.

20

01010-61440

BOLT

SN: 3301-UP

1шт.

21

01602-01442

WASHER,SPRING

SN: 1010-UP

2шт.

22

175-60-27290

SHAFT

SN: 1632-UP

3шт.

23

06120-02520

BEARING,NEEDLE

SN: 1010-UP

6шт.

24

175-60-27480

SEAL,OIL

SN: 1010-UP

3шт.

25

01640-22440

WASHER

SN: 1010-UP

6шт.

26

04010-00519

KEY

SN: 1010-UP

6шт.

27

175-60-27310

LEVER,LIFT

SN: 1632-UP

1шт.

28

195-60-13120

LEVER,RIPPER

SN: 3301-UP

1шт.

29

175-60-29120

LEVER,TILT

SN: 4001-UP

1шт.

|29

175-60-27330

LEVER,TILT

SN: 1632-4000

1шт.

30

01010-81040

BOLT

SN: 1632-UP

3шт.

31

01602-21030

WASHER,SPRING

SN: 1010-UP

3шт.

32

154-60-41220

BOLT

SN: 1632-4000

1шт.

33

01580-01613

NUT

SN: 1632-4000

1шт.

34

04240-10207

LEVER

SN: 1010-UP

3шт.

35

01010-80830

BOLT

SN: 1010-UP

3шт.

36

01643-50823

WASHER

SN: 1010-UP

3шт.

37

141-60-32170

YOKE

SN: 1010-UP

6шт.

38

04205-01028

PIN

SN: 1010-UP

6шт.

39

04050-03015

PIN,COTTER

SN: 1001-UP

6шт.

Выбрано товаров: 0