Запчасти Komatsu D355A-3X CHOKE И THROTTLE УПРАВЛ-Е (/) (ДЛЯ TWO SPEED TRANSMMISION)(№9-) КОМПОНЕНТЫ ДВИГАТЕЛЯ И ЭЛЕКТРИКА

Схема запчастей Komatsu D355A-3X - CHOKE И THROTTLE УПРАВЛ-Е (/) (ДЛЯ TWO SPEED TRANSMMISION)(№9-) КОМПОНЕНТЫ ДВИГАТЕЛЯ И ЭЛЕКТРИКА
FIT
1:1
100%

Артикул

Название

Примечание

Количество

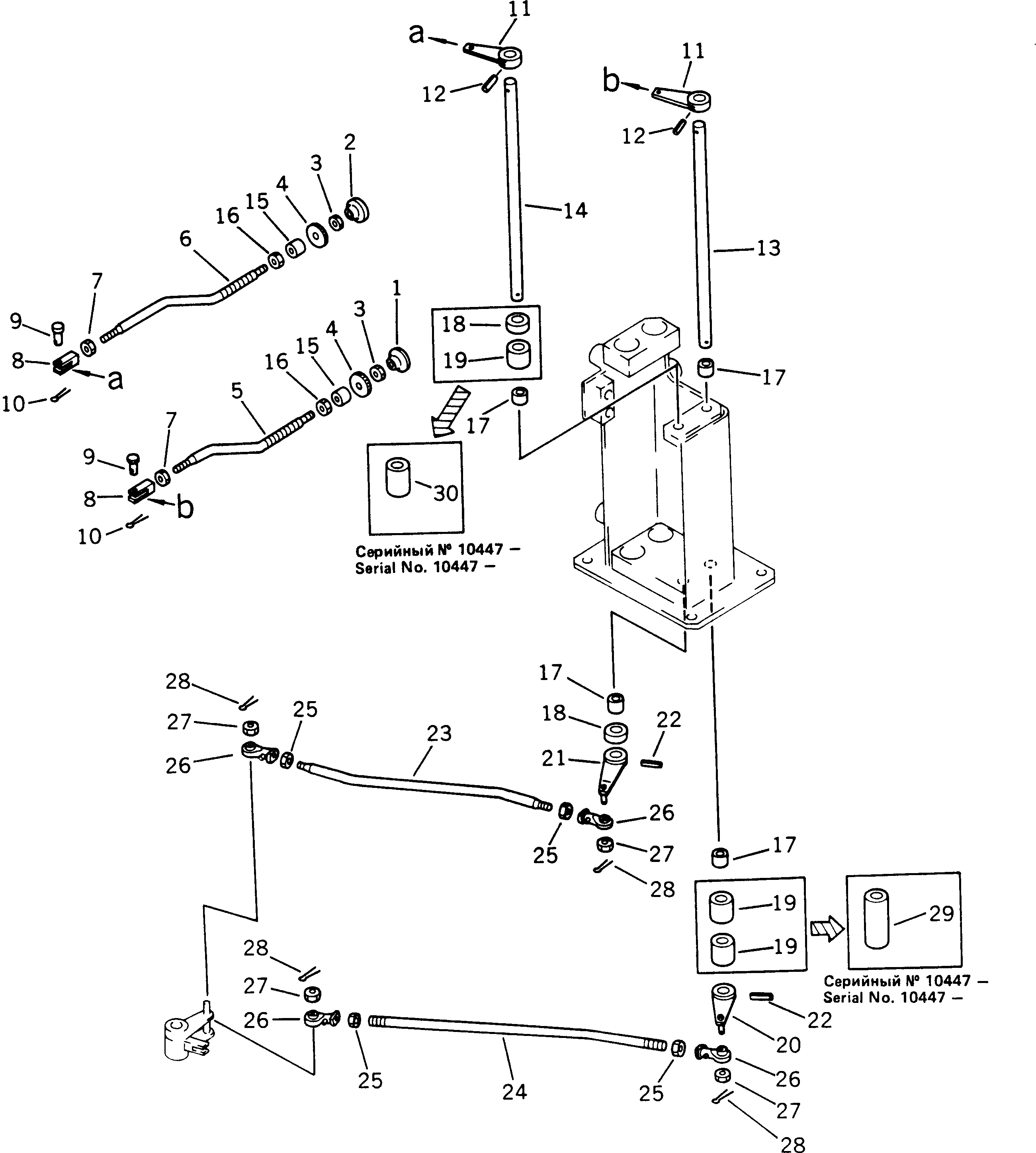
1

170-43-17110

BUTTON

SN: 3301-UP

1шт.

2

170-43-17120

BUTTON

SN: 3301-UP

1шт.

3

01580-10605

NUT

SN: 9001-UP

2шт.

4

175-43-39320

RING

SN: 3301-UP

2шт.

5

195-43-22371

ROD

SN: 4401-UP

1шт.

6

195-43-22332

ROD

SN: 4001-UP

1шт.

7

01580-10605

NUT

SN: 9001-UP

2шт.

8

04211-20634

YOKE

SN: 9001-UP

2шт.

9

04205-10618

PIN

SN: 9001-UP

2шт.

10

04050-11610

PIN

SN: 9001-UP

2шт.

11

195-43-22310

LEVER

SN: 3301-UP

2шт.

12

04025-00332

PIN

SN: 3301-UP

2шт.

13

195-43-22362

SHAFT

SN: 9001-UP

1шт.

14

195-43-22292

SHAFT

SN: 9001-UP

1шт.

15

01572-21012

SEAT

SN: 4001-UP

2шт.

16

01580-11008

NUT

SN: 9001-UP

2шт.

17

195-61-34120

BEARING

SN: 9001-UP

4шт.

18

195-43-22320

SPACER

SN: 10447-UP

1шт.

|18

195-43-22320

SPACER

SN: 3301-10446

2шт.

19

195-43-17350

SPACER

SN: 3301-10446

3шт.

20

195-43-22350

LEVER

SN: 3301-UP

1шт.

21

195-43-22280

LEVER

SN: 3301-UP

1шт.

22

04025-00332

PIN

SN: 3301-UP

2шт.

23

195-43-22271

ROD

SN: 3301-UP

1шт.

24

195-43-22340

ROD

SN: 3301-UP

1шт.

25

01580-10605

NUT

SN: 9001-UP

4шт.

26

04250-40639

END

SN: 3301-UP

4шт.

27

01590-10607

NUT

SN: 9001-UP

4шт.

28

04050-11212

PIN

SN: 9001-UP

4шт.

29

195-43-22820

SPACER

SN: 10447-UP

1шт.

30

195-43-31871

SPACER

SN: 10447-UP

1шт.

Выбрано товаров: 31