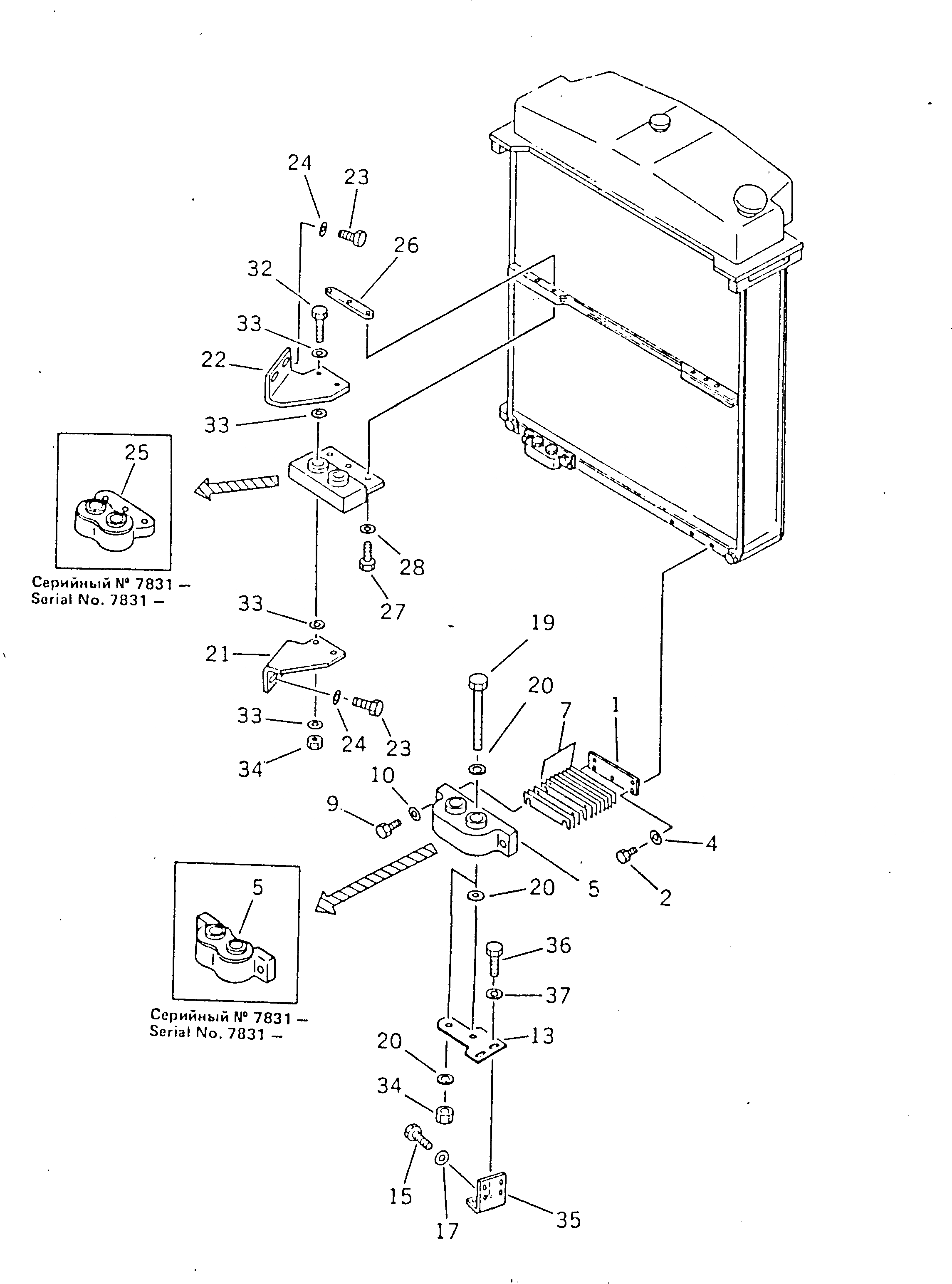
Запчасти Komatsu D355A-3X КРЕПЛЕНИЕ РАДИАТОРА(№-) КОМПОНЕНТЫ ДВИГАТЕЛЯ И ЭЛЕКТРИКА

Схема запчастей Komatsu D355A-3X - КРЕПЛЕНИЕ РАДИАТОРА(№-) КОМПОНЕНТЫ ДВИГАТЕЛЯ И ЭЛЕКТРИКА
FIT
1:1
100%

Артикул

Название

Примечание

Количество

1

195-03-22190

SEAT

SN: 4678-UP

2шт.

2

01010-81240

BOLT

SN: 4678-UP

6шт.

4

01643-31232

WASHER

SN: 4678-UP

6шт.

5

195-03-22501

ISOLATOR ASS'Y

SN: 7831-UP

2шт.

|5

0

ISOLATOR ASS'Y

SN: 6643-7830

2шт.

7

195-03-22270

SHIM¤ 1.0MM

SN: 9001-UP

2шт.

9

01010-81245

BOLT

SN: 4678-UP

4шт.

10

01643-31232

WASHER

SN: 4678-UP

4шт.

13

195-03-22172

BRACKET

SN: 6643-UP

2шт.

15

01010-81230

BOLT

SN: 4678-UP

8шт.

17

01643-31232

WASHER

SN: 4678-UP

8шт.

19

01091-52205

BOLT

SN: 6643-UP

4шт.

20

01643-32260

WASHER

SN: 6643-UP

12шт.

21

195-03-22210

BRACKET

SN: 4678-UP

2шт.

22

195-03-22220

BRACKET

SN: 4678-UP

2шт.

23

01010-81230

BOLT

SN: 4678-UP

8шт.

24

01643-31232

WASHER

SN: 4678-UP

8шт.

25

195-03-22401

ISOLATOR ASS'Y

SN: 7831-UP

2шт.

|25

0

ISOLATOR ASS'Y

SN: 6643-7830

2шт.

26

198-03-21530

PLATE

SN: 4678-UP

2шт.

27

01010-81075

BOLT

SN: 4678-UP

6шт.

28

01643-31032

WASHER

SN: 4678-UP

6шт.

32

01091-52220

BOLT

SN: 4678-UP

4шт.

33

01643-32260

WASHER

SN: 4678-UP

16шт.

34

01582-12218

NUT

SN: 6643-UP

8шт.

35

195-03-22480

BRACKET

SN: 4678-UP

2шт.

36

01010-81435

BOLT

SN: 4678-UP

4шт.

37

01643-31445

WASHER

SN: 4678-UP

4шт.

Выбрано товаров: 28