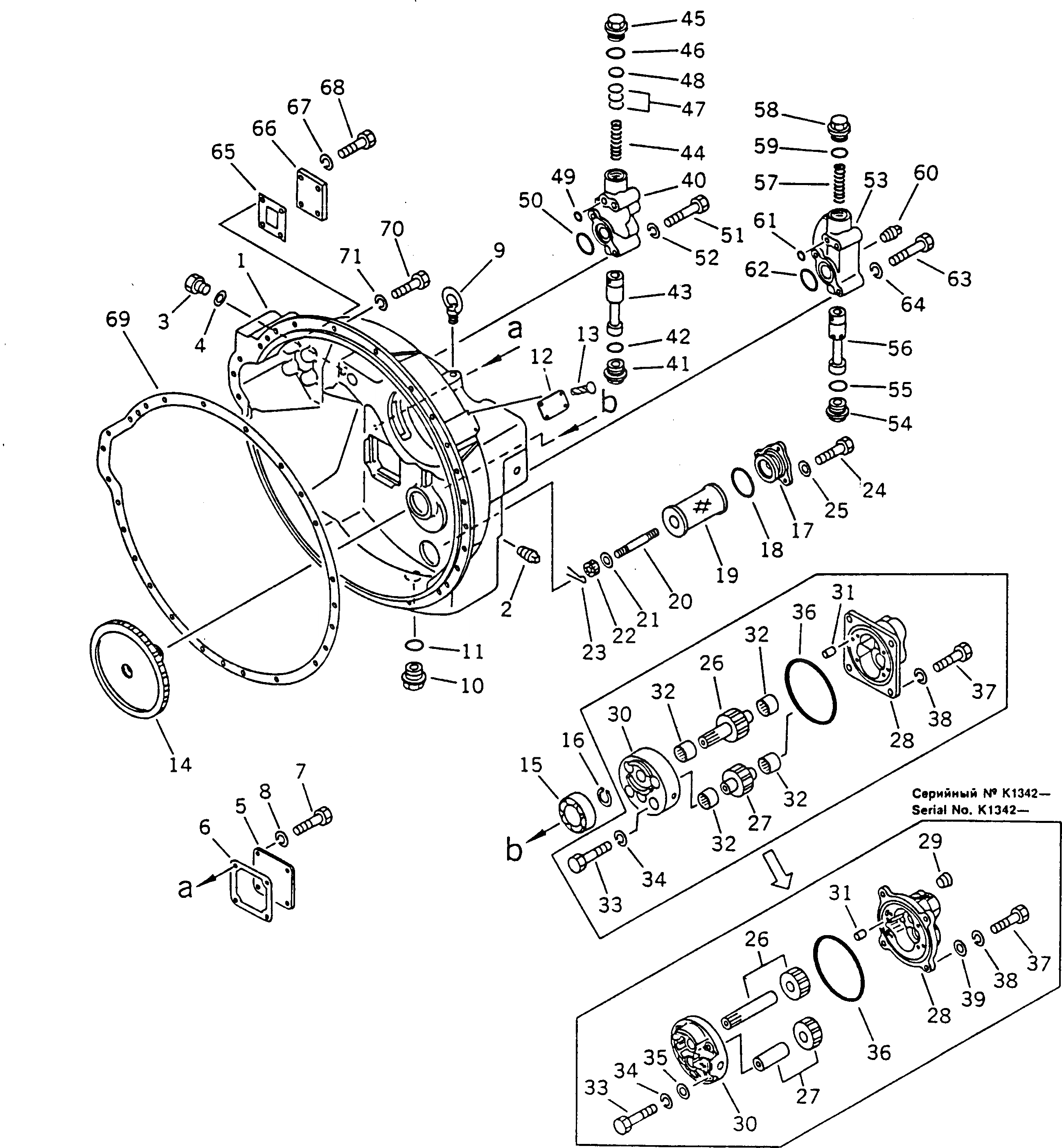
Запчасти Komatsu D355A-3X КОРПУС ГИДРОТРАНСФОРМАТОРА(№K-) ГИДРОТРАНСФОРМАТОР И TRNSMISSION

Схема запчастей Komatsu D355A-3X - КОРПУС ГИДРОТРАНСФОРМАТОРА(№K-) ГИДРОТРАНСФОРМАТОР И TRNSMISSION
FIT
1:1
100%

Артикул

Название

Примечание

Количество

|1

195-13-00023

TORQUE CONVERTE

SN: K1001-UP

1шт.

|$$2

THIS ASSEMBLY CONSISTS OF ALL PARTS SHOWN IN FIGS.221A AND 222A.

-1шт.

1

195-13-93111

HOUSING

SN: K1001-UP

1шт.

2

07042-20415

PLUG

SN: K1001-UP

3шт.

3

175-13-23290

PLUG

SN: K1001-UP

1шт.

4

07005-01612

GASKET (KIT)

SN: K1001-UP

1шт.

5

175-13-23220

COVER

SN: K1001-UP

1шт.

6

175-13-23232

GASKET (KIT)

SN: K1542-UP

1шт.

|6

0

GASKET (KIT)

SN: K1001-K1541

1шт.

7

01010-81225

BOLT

SN: K1001-UP

4шт.

8

01602-21236

WASHER

SN: K1001-UP

4шт.

9

04530-11628

BOLT,EYE

SN: K1001-UP

2шт.

10

07044-13620

PLUG,MAGNET

SN: K1001-UP

1шт.

11

07002-43634

O-RING (KIT)

SN: K1342-UP

1шт.

|11

0

O-RING (KIT)

SN: K1001-K1341

1шт.

12

09607-05080

PLATE¤ NAME

SN: K1001-UP

1шт.

13

04418-03060

SCREW

SN: K1001-UP

4шт.

14

175-13-24111

GEAR

SN: K1001-UP

1шт.

15

06030-05206

BEARING

SN: K1001-UP

1шт.

16

04064-03015

RING,SNAP

SN: K1001-UP

1шт.

|17

134-13-13400

FILTER ASS'Y

SN: .-UP

1шт.

|17

0

FILTER ASS'Y

SN: K1001-.

1шт.

17

134-13-13410

COVER

SN: .-UP

1шт.

|17

195-13-13410

COVER

SN: K1001-.

1шт.

18

07000-62070

O-RING (KIT)

SN: K1001-UP

1шт.

19

195-13-13420

FILTER

SN: K1001-UP

1шт.

20

134-13-13430

STUD

SN: .-UP

1шт.

|20

195-13-13431

STUD

SN: K1001-.

1шт.

21

01641-20608

WASHER

SN: K1001-UP

1шт.

22

01590-10607

NUT

SN: K1001-UP

1шт.

23

04050-11212

PIN,COTTER (KIT)

SN: K1001-UP

1шт.

24

01010-81230

BOLT

SN: K1001-UP

3шт.

25

01643-31232

WASHER

SN: .-UP

3шт.

|25

0

WASHER

SN: K1001-.

3шт.

|26

175-13-23500

PUMP ASS'Y

SN: K1342-UP

1шт.

|26

0

PUMP ASS'Y

SN: K1001-K1341

1шт.

|$$37

(175-13-23500{01641-21223(4))}

-1шт.

26

175-13-23510

GEAR ASS'Y

SN: K1342-UP

1шт.

|26

195-13-13510

GEAR

SN: K1001-K1341

1шт.

27

175-13-23520

GEAR ASS'Y

SN: K1342-UP

1шт.

|27

195-13-13520

GEAR

SN: K1001-K1341

1шт.

28

175-13-00100

CASE ASS'Y

SN: K1342-UP

1шт.

|28

138-13-13530

CASE

SN: K1001-K1341

1шт.

|28

0

CASE

SN: K1342-UP

1шт.

29

01190-01011

HELISERT

SN: K1342-UP

2шт.

30

175-13-23540

COVER

SN: K1342-UP

1шт.

|30

195-13-13540

COVER

SN: K1001-K1341

1шт.

31

04020-00820

PIN,DOWEL

SN: K1001-UP

2шт.

32

195-13-13550

BEARING

SN: K1001-K1341

4шт.

33

01010-80835

BOLT

SN: K1342-UP

4шт.

|33

01010-50830

BOLT

SN: K1001-K1341

4шт.

34

01602-20825

WASHER

SN: K1001-UP

4шт.

35

01641-20812

WASHER

SN: K1342-UP

4шт.

36

07000-72115

O-RING (KIT)

SN: K1001-UP

1шт.

37

01010-81235

BOLT

SN: K1001-UP

4шт.

38

01602-21236

WASHER

SN: K1001-UP

4шт.

39

01641-21223

WASHER

SN: K1342-UP

4шт.

|39

195-13-16100

RELIEF VALVE ASS'Y

SN: K1342-UP

1шт.

|39

0

RELIEF VALVE

SN: K1001-K1341

1шт.

40

195-13-16110

BODY

SN: K1001-UP

1шт.

41

195-13-16450

PLUG

SN: K1001-UP

1шт.

42

07002-43634

O-RING (KIT)

SN: K1342-UP

1шт.

|42

0

O-RING

SN: K1001-K1341

1шт.

43

195-13-16120

SPOOL

SN: K1001-UP

1шт.

44

195-13-16131

SPRING

SN: K1001-UP

1шт.

45

195-13-16141

PLUG

SN: K1001-UP

1шт.

46

07002-43634

O-RING (KIT)

SN: K1342-UP

1шт.

|46

0

O-RING

SN: K1001-K1341

1шт.

47

195-13-05010

SHIM KIT

SN: K1001-UP

1шт.

48

195-13-16230

SPACER

SN: K1001-UP

1шт.

49

07000-72018

O-RING (KIT)

SN: K1001-UP

1шт.

50

07000-73045

O-RING (KIT)

SN: K1001-UP

1шт.

51

01010-81290

BOLT

SN: K1001-UP

3шт.

52

01602-21236

WASHER

SN: K1001-UP

3шт.

|52

195-13-16401

REGULATOR VALVE A.

SN: K1342-UP

1шт.

|52

0

REGULATOR VALVE A.

SN: K1001-K1341

1шт.

53

195-13-16410

BODY

SN: K1001-UP

1шт.

54

195-13-16450

PLUG

SN: K1001-UP

1шт.

55

07002-43634

O-RING (KIT)

SN: K1342-UP

1шт.

|55

0

O-RING

SN: K1001-K1341

1шт.

56

195-13-16420

SPOOL

SN: K1001-UP

1шт.

57

195-13-16430

SPRING

SN: K1001-UP

1шт.

58

195-13-16141

PLUG

SN: K1001-UP

1шт.

59

07002-43634

O-RING (KIT)

SN: K1342-UP

1шт.

|59

0

O-RING

SN: K1001-K1341

1шт.

60

07042-20108

PLUG

SN: K1342-UP

1шт.

61

07000-72018

O-RING (KIT)

SN: K1001-UP

1шт.

62

07000-73045

O-RING (KIT)

SN: K1001-UP

1шт.

63

01010-81290

BOLT

SN: K1001-UP

3шт.

64

01602-21236

WASHER

SN: K1001-UP

3шт.

65

195-13-13253

GASKET (KIT)

SN: K1342-UP

1шт.

|65

0

GASKET (KIT)

SN: K1001-K1341

1шт.

66

195-13-13241

COVER

SN: K1001-UP

1шт.

67

01602-21030

WASHER

SN: K1001-UP

4шт.

68

01010-81025

BOLT

SN: K1001-UP

4шт.

|69

06120-02520

BEARING,(NOT SHOWN)

SN: K1001-UP

1шт.

69

175-11-11132

GASKET (KIT)

SN: 13664-UP

1шт.

|69

0

GASKET (KIT)

SN: K1001-13663

1шт.

70

01010-51240

BOLT

SN: K1001-UP

21шт.

|70

01010-51285

BOLT

SN: K1001-UP

2шт.

71

01602-21236

WASHER

SN: K1001-UP

23шт.

Выбрано товаров: 101