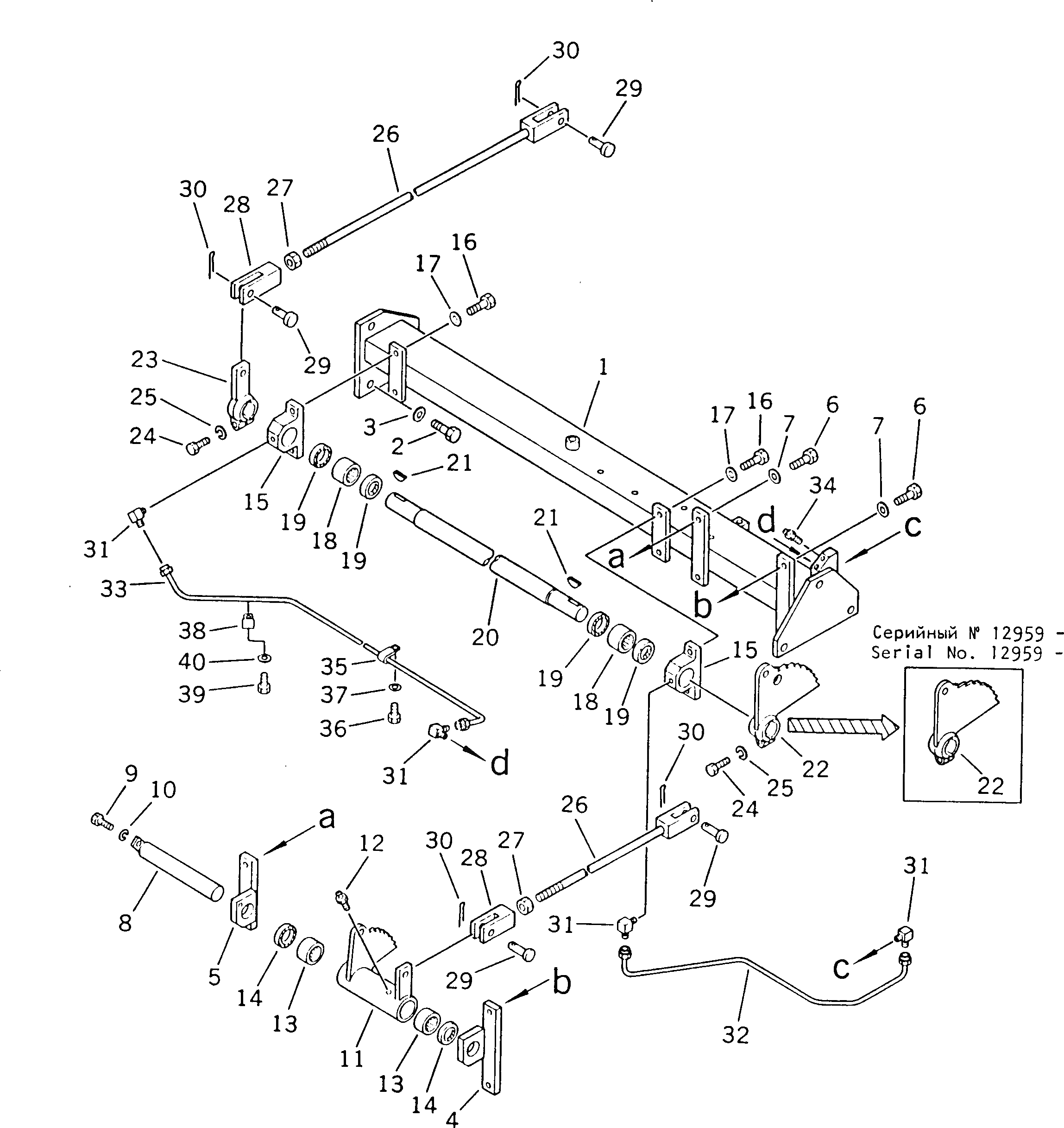
Запчасти Komatsu D355A-3X УПРАВЛ-Е ТОРМОЗОМ МЕХАНИЗМ(№9-) ГУСЕНИЦЫ

Схема запчастей Komatsu D355A-3X - УПРАВЛ-Е ТОРМОЗОМ МЕХАНИЗМ(№9-) ГУСЕНИЦЫ
FIT
1:1
100%

Артикул

Название

Примечание

Количество

1

195-43-24311

SUPPORT

SN: 9001-UP

1шт.

2

01010-61640

BOLT

SN: 3301-UP

6шт.

3

01643-31645

WASHER

SN: 3301-UP

6шт.

4

195-43-24621

BRACKET,L.H.

SN: 9001-UP

1шт.

5

195-43-24631

BRACKET,R.H.

SN: 9001-UP

1шт.

6

01010-81230

BOLT

SN: 3301-UP

4шт.

7

01643-31232

WASHER

SN: 3301-UP

4шт.

8

195-43-24321

SHAFT

SN: 9001-UP

1шт.

9

01010-80816

BOLT

SN: 3301-UP

1шт.

10

01602-20825

WASHER

SN: 3301-UP

1шт.

11

195-43-24341

LEVER

SN: 9001-UP

1шт.

12

07020-00000

FITTING,GREASE

SN: 9001-UP

1шт.

13

06120-03520

BEARING

SN: 3301-UP

2шт.

14

06122-13504

SEAL

SN: 3301-UP

2шт.

15

195-43-24391

BRACKET

SN: 9001-UP

2шт.

16

01010-81230

BOLT

SN: 3301-UP

4шт.

17

01643-31232

WASHER

SN: 3301-UP

4шт.

18

06120-03520

BEARING

SN: 3301-UP

2шт.

19

06122-13504

SEAL

SN: 3301-UP

4шт.

20

195-43-24411

SHAFT

SN: 9001-UP

1шт.

21

04010-01032

KEY

SN: 3301-UP

2шт.

22

195-43-24421

LEVER

SN: 12959-UP

1шт.

|22

0

LEVER

SN: 3301-12958

1шт.

23

195-13-24451

LEVER

SN: 9001-UP

1шт.

24

01010-81245

BOLT

SN: 3301-UP

2шт.

25

01602-21236

WASHER

SN: 3301-UP

2шт.

26

195-43-24570

ROD

SN: 3301-UP

2шт.

27

01582-11411

NUT

SN: 3301-UP

2шт.

28

04211-21478

YOKE

SN: 3301-UP

2шт.

29

04205-11438

PIN

SN: 3301-UP

4шт.

30

04050-14025

PIN,COTTER

SN: 3301-UP

4шт.

31

176-43-41350

ELBOW

SN: 9001-UP

4шт.

32

195-43-24820

TUBE

SN: 9001-UP

1шт.

33

195-43-24830

TUBE

SN: 9001-UP

1шт.

34

07020-00000

FITTING,GREASE

SN: 9001-UP

2шт.

35

08036-11214

CLIP

SN: 9001-UP

1шт.

36

01010-81020

BOLT

SN: 9001-UP

1шт.

37

01643-31032

WASHER

SN: 9001-UP

1шт.

38

08036-10814

CLIP

SN: 9001-UP

2шт.

39

01010-81020

BOLT

SN: 9001-UP

2шт.

40

01643-31032

WASHER

SN: 9001-UP

2шт.

1

195-43-24311

SUPPORT

2

01010-61640

BOLT

3

01643-31645

WASHER

4

195-43-24621

BRACKET,L.H.

5

195-43-24631

BRACKET,R.H.

6

01010-81230

BOLT

7

01643-31232

WASHER

8

195-43-24321

SHAFT

9

01010-80816

BOLT

10

01602-20825

WASHER

11

195-43-24341

LEVER

12

07020-00000

FITTING,GREASE

13

06120-03520

BEARING

14

06122-13504

SEAL

15

195-43-24391

BRACKET

16

01010-81230

BOLT

17

01643-31232

WASHER

18

06120-03520

BEARING

19

06122-13504

SEAL

20

195-43-24411

SHAFT

21

04010-01032

KEY

22

195-43-24421

LEVER

|22

195-43-24420

LEVER

23

195-13-24451

LEVER

24

01010-81245

BOLT

25

01602-21236

WASHER

26

195-43-24570

ROD

27

01582-11411

NUT

28

04211-21478

YOKE

29

04205-11438

PIN

30

04050-14025

PIN,COTTER

31

176-43-41350

ELBOW

32

195-43-24820

TUBE

33

195-43-24830

TUBE

34

07020-00000

FITTING,GREASE

35

08036-11214

CLIP

36

01010-81020

BOLT

37

01643-31032

WASHER

38

08036-10814

CLIP

39

01010-81020

BOLT

40

01643-31032

WASHER

Выбрано товаров: 82