Запчасти Komatsu D355A-3X КАПОТ(№9-) ЧАСТИ КОРПУСА

Схема запчастей Komatsu D355A-3X - КАПОТ(№9-) ЧАСТИ КОРПУСА
FIT
1:1
100%

Артикул

Название

Примечание

Количество

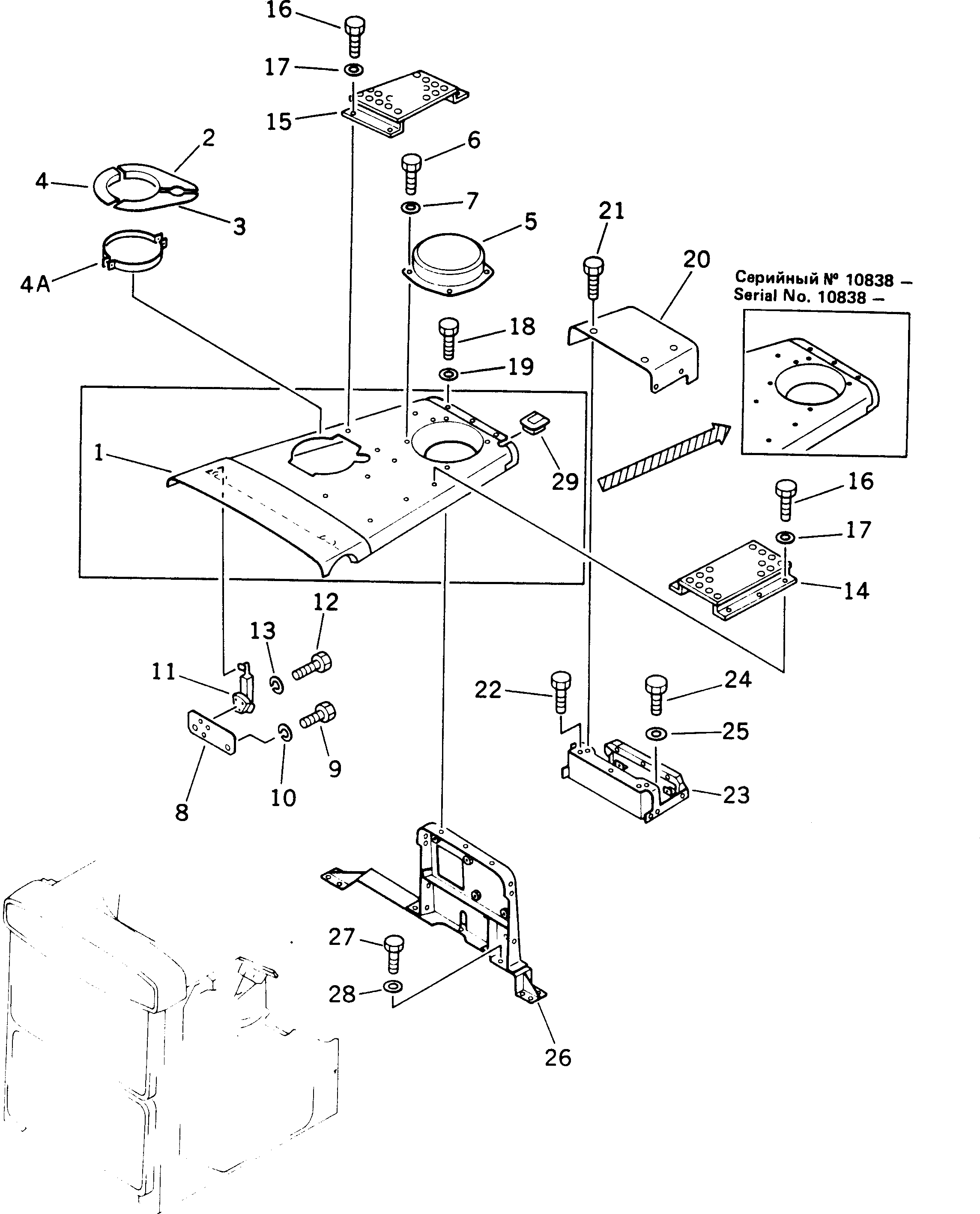
1

195-54-22322

HOOD

SN: 4401-UP

1шт.

2

195-54-21570

COVER

SN: 1632-UP

1шт.

3

195-54-21580

COVER

SN: 1632-UP

1шт.

4

195-54-21590

COVER

SN: 1632-UP

1шт.

4A

175-54-29432

CLAMP

SN: 3301-UP

1шт.

5

175-862-3530

COVER

SN: 3301-UP

1шт.

6

01010-81020

BOLT

SN: 1632-UP

4шт.

7

01643-31032

WASHER

SN: 1632-UP

4шт.

8

175-54-21811

PLATE

SN: 4001-UP

2шт.

9

01010-81235

BOLT

SN: 3301-UP

4шт.

10

01602-21236

WASHER

SN: 3301-UP

4шт.

11

175-54-21361

CATCH ASS'Y

SN: 4001-UP

2шт.

12

01010-81025

BOLT

SN: 4001-UP

6шт.

13

01602-21030

WASHER

SN: 4001-UP

6шт.

14

195-54-19543

PLATE

SN: 3301-UP

1шт.

15

195-54-21542

PLATE

SN: 3301-UP

1шт.

16

01010-81225

BOLT

SN: 3301-UP

10шт.

17

01643-31232

WASHER

SN: 3301-UP

10шт.

18

01010-81235

BOLT

SN: 3301-UP

5шт.

19

175-54-34170

WASHER

SN: 9001-UP

5шт.

20

195-54-22940

COVER

SN: 9001-UP

1шт.

21

01439-01230

BOLT

SN: 9001-UP

6шт.

22

01439-01230

BOLT

SN: 9001-UP

5шт.

23

175-54-33346

DASHBOARD

SN: 9001-UP

1шт.

|23

195-54-12860

DASHBOARD,(FOR INSIDE FRAME)

SN: 9001-UP

1шт.

24

01010-81225

BOLT

SN: 3301-UP

6шт.

25

01643-31232

WASHER

SN: 9001-UP

6шт.

26

195-54-22463

BRACKET

SN: 10838-UP

1шт.

|26

195-54-22462

BRACKET

SN: 4001-10837

1шт.

27

01010-61650

BOLT

SN: 9001-UP

8шт.

28

01643-31645

WASHER

SN: 4001-UP

8шт.

29

175-54-34280

CAP

SN: 9001-10837

1шт.

Выбрано товаров: 32