Запчасти Komatsu D355A-5 АККУМУЛЯТОР И РЕЛЕ КОМПОНЕНТЫ ДВИГАТЕЛЯ И ЭЛЕКТРИКА

Схема запчастей Komatsu D355A-5 - АККУМУЛЯТОР И РЕЛЕ КОМПОНЕНТЫ ДВИГАТЕЛЯ И ЭЛЕКТРИКА
FIT
1:1
100%

Артикул

Название

Примечание

Количество

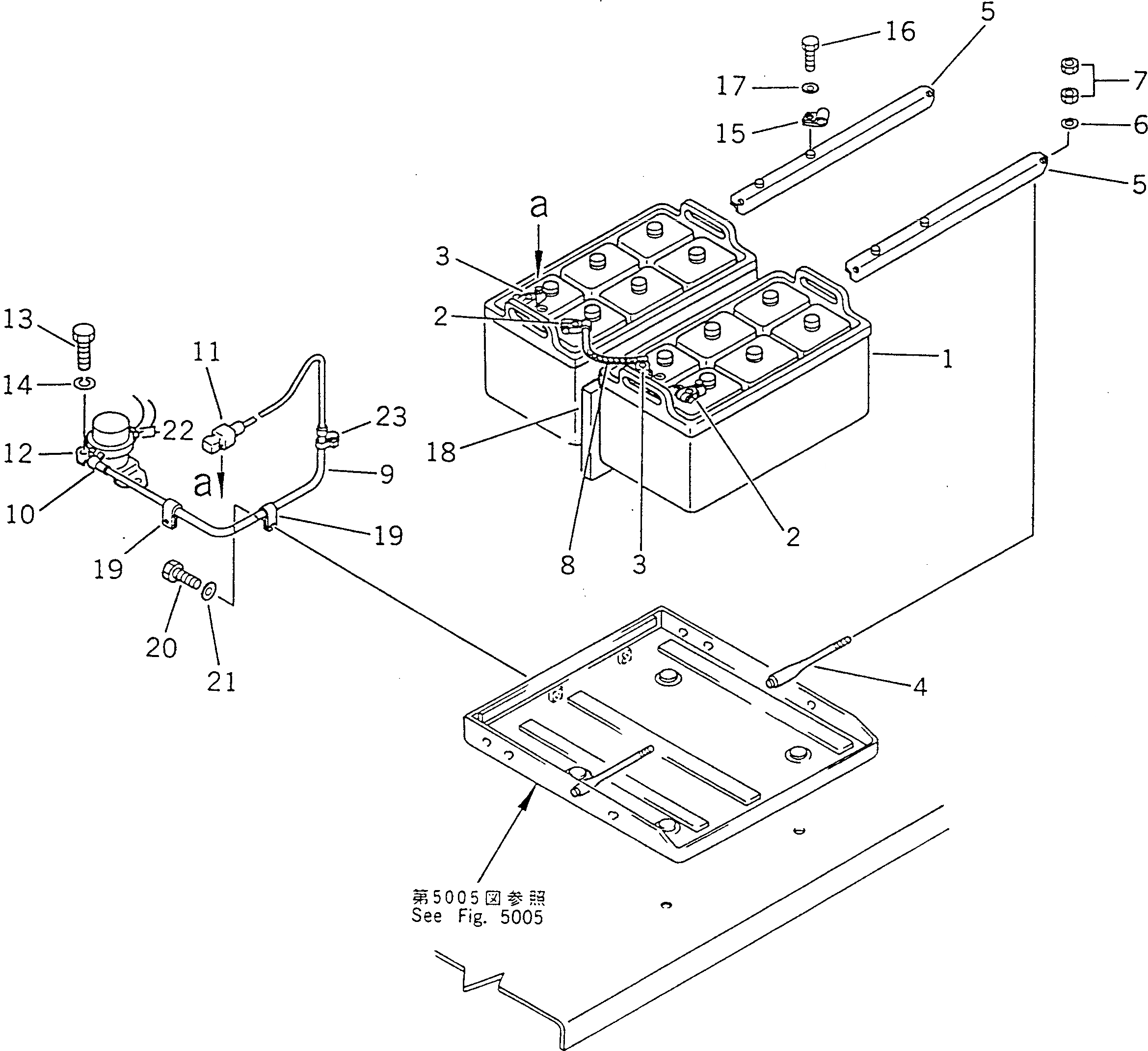
1

08000-42220

BATTERY (165G51),NS200 (FOR JAPAN)

SN: 12622-UP

2шт.

1

08000-02221

BATTERY, WET,(C200 OR F300-20)

SN: 12622-UP

2шт.

2

08000-00000

TERMINAL, (+)

SN: 12622-UP

2шт.

3

08000-00001

TERMINAL, (-)

SN: 12622-UP

2шт.

4

175-06-39621

ROD

SN: 12622-UP

4шт.

5

195-06-19461

HOLDER

SN: 12622-UP

2шт.

6

01640-21016

WASHER

SN: 12622-UP

4шт.

7

01580-11008

NUT

SN: 12622-UP

8шт.

8

08028-15011

WIRE, 110MM

SN: 12622-UP

1шт.

9

195-06-21533

WIRE

SN: 12622-UP

1шт.

10

08038-00035

CAP

SN: 12622-UP

1шт.

11

08038-22511

CAP

SN: 12622-UP

1шт.

12

08088-20000

SWITCH,BATTERY RELAY

SN: 12622-UP

1шт.

13

01010-50820

BOLT

SN: 12622-UP

2шт.

14

01602-20825

WASHER,SPRING

SN: 12622-UP

2шт.

15

08036-01814

CLIP

SN: 12622-UP

1шт.

16

01010-51016

BOLT

SN: 12622-UP

1шт.

17

01643-31032

WASHER

SN: 12622-UP

1шт.

18

154-06-13262

SEAT,BATTERY

SN: 12622-UP

1шт.

19

08035-03010

CLIP

SN: 12622-UP

2шт.

20

01010-51016

BOLT

SN: 12622-UP

1шт.

21

01643-31032

WASHER

SN: 12622-UP

1шт.

22

140-06-18260

CAP,RUBBER

SN: 12622-UP

2шт.

23

08034-00519

BAND

SN: 12622-UP

1шт.

Выбрано товаров: 24