Запчасти Komatsu D355A-5 ЗАЩИТА РАДИАТОРА ЧАСТИ КОРПУСА

Схема запчастей Komatsu D355A-5 - ЗАЩИТА РАДИАТОРА ЧАСТИ КОРПУСА
FIT
1:1
100%

Артикул

Название

Примечание

Количество

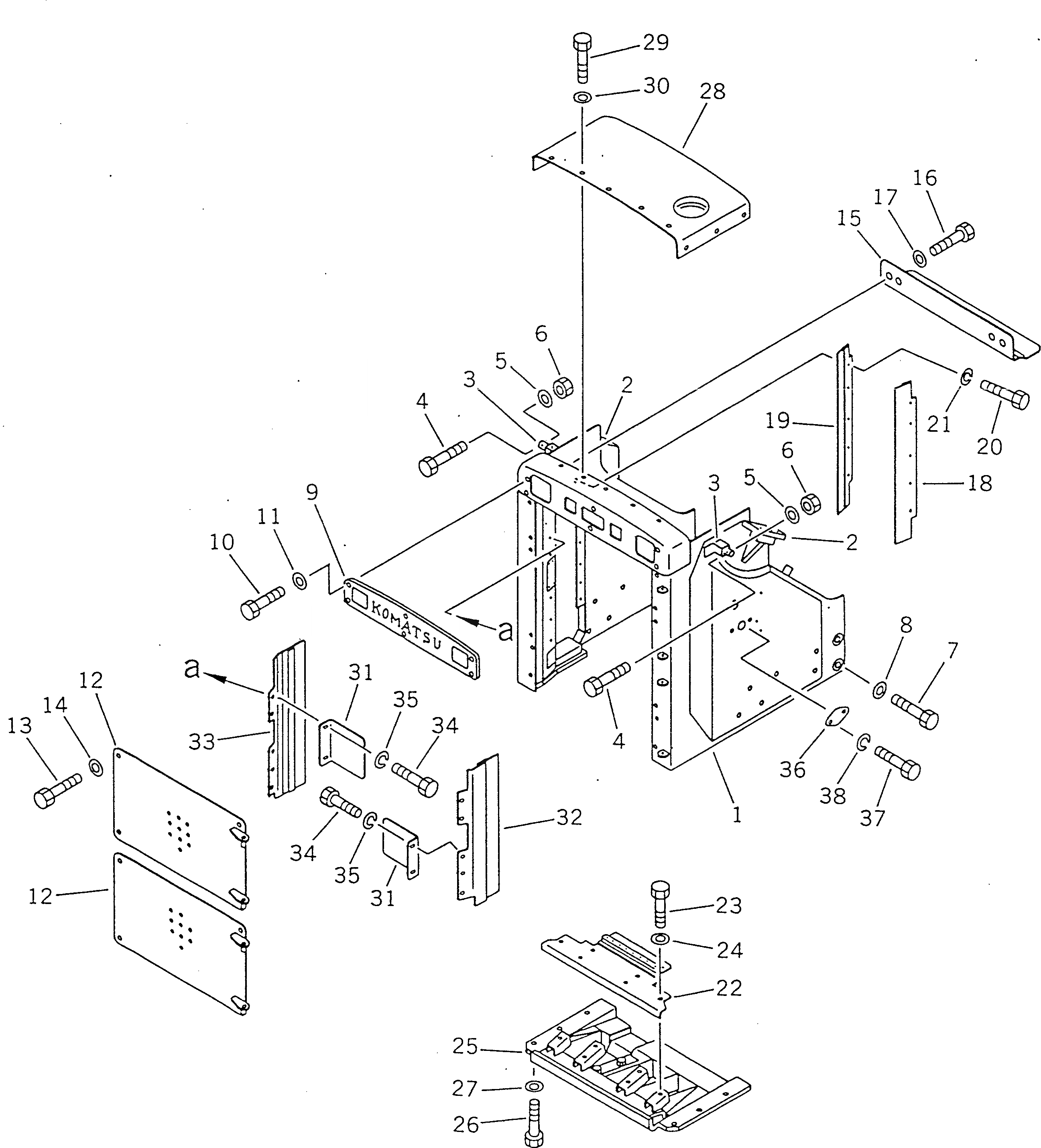
1

195-54-25360

RADIATOR GUARD ASS'Y

SN: 12622-UP

1шт.

2

195-54-11271

SUPPORT (WELDED)

SN: 12622-UP

2шт.

3

195-862-2121

BRACKET (WELDED)

SN: 12622-UP

2шт.

4

01010-50835

BOLT

SN: 12622-UP

2шт.

5

01643-30823

WASHER

SN: 12622-UP

2шт.

6

01580-00806

NUT

SN: 12622-UP

2шт.

7

195-54-11141

BOLT

SN: 12622-UP

16шт.

8

01643-33080

WASHER

SN: 12622-UP

16шт.

9

195-54-25392

MARK,(NEW LOGO)

SN: 13504-UP

1шт.

9

195-54-25391

MARK

SN: 12952-13503

1шт.

9

195-54-25390

MARK

SN: 12622-12951

1шт.

10

195-54-43260

BOLT

SN: 12622-UP

4шт.

11

198-911-3160

WASHER

SN: 12622-UP

4шт.

12

195-54-25421

MASK

SN: 12952-UP

2шт.

12

195-54-25420

MASK

SN: 12622-12951

2шт.

13

01010-51650

BOLT

SN: 12622-UP

8шт.

14

01643-31645

WASHER

SN: 12622-UP

8шт.

15

195-54-12644

PLATE,WIND

SN: 12622-UP

1шт.

16

01010-51025

BOLT

SN: 12622-UP

5шт.

17

01643-31032

WASHER

SN: 12622-UP

5шт.

18

195-54-24580

BRAKER,WIND, L.H.

SN: 12622-UP

1шт.

19

195-54-24590

BRAKER,WIND, R.H.

SN: 12622-UP

1шт.

20

01010-51025

BOLT

SN: 12622-UP

10шт.

21

01602-21030

WASHER,SPRING

SN: 12622-UP

10шт.

22

195-54-24551

BREAKER,WIND

SN: 12622-UP

1шт.

23

01010-51230

BOLT

SN: 12622-UP

6шт.

24

01643-31232

WASHER

SN: 12622-UP

6шт.

25

195-54-24720

COVER

SN: 12622-UP

1шт.

26

01010-52060

BOLT

SN: 12622-UP

6шт.

27

01643-32060

WASHER

SN: 12622-UP

6шт.

28

195-54-11227

COVER,RADIATOR

SN: 12622-UP

1шт.

29

01010-51225

BOLT

SN: 12622-UP

11шт.

30

01643-31232

WASHER

SN: 12622-UP

11шт.

31

195-54-23791

PLATE

SN: 12622-UP

2шт.

32

195-54-24560

BREAKER,WIND, L.H.

SN: 12622-UP

1шт.

33

195-54-24570

BREAKER,WIND, R.H.

SN: 12622-UP

1шт.

34

01010-51025

BOLT

SN: 12622-UP

10шт.

35

01602-21030

WASHER,SPRING

SN: 12622-UP

10шт.

36

175-54-41320

PLATE

SN: 12622-UP

1шт.

37

01010-51030

BOLT

SN: 12622-UP

2шт.

38

01602-21030

WASHER,SPRING

SN: 12622-UP

2шт.

Выбрано товаров: 41