Запчасти Komatsu D355A-5 КРЫЛО ЧАСТИ КОРПУСА

Схема запчастей Komatsu D355A-5 - КРЫЛО ЧАСТИ КОРПУСА
FIT
1:1
100%

Артикул

Название

Примечание

Количество

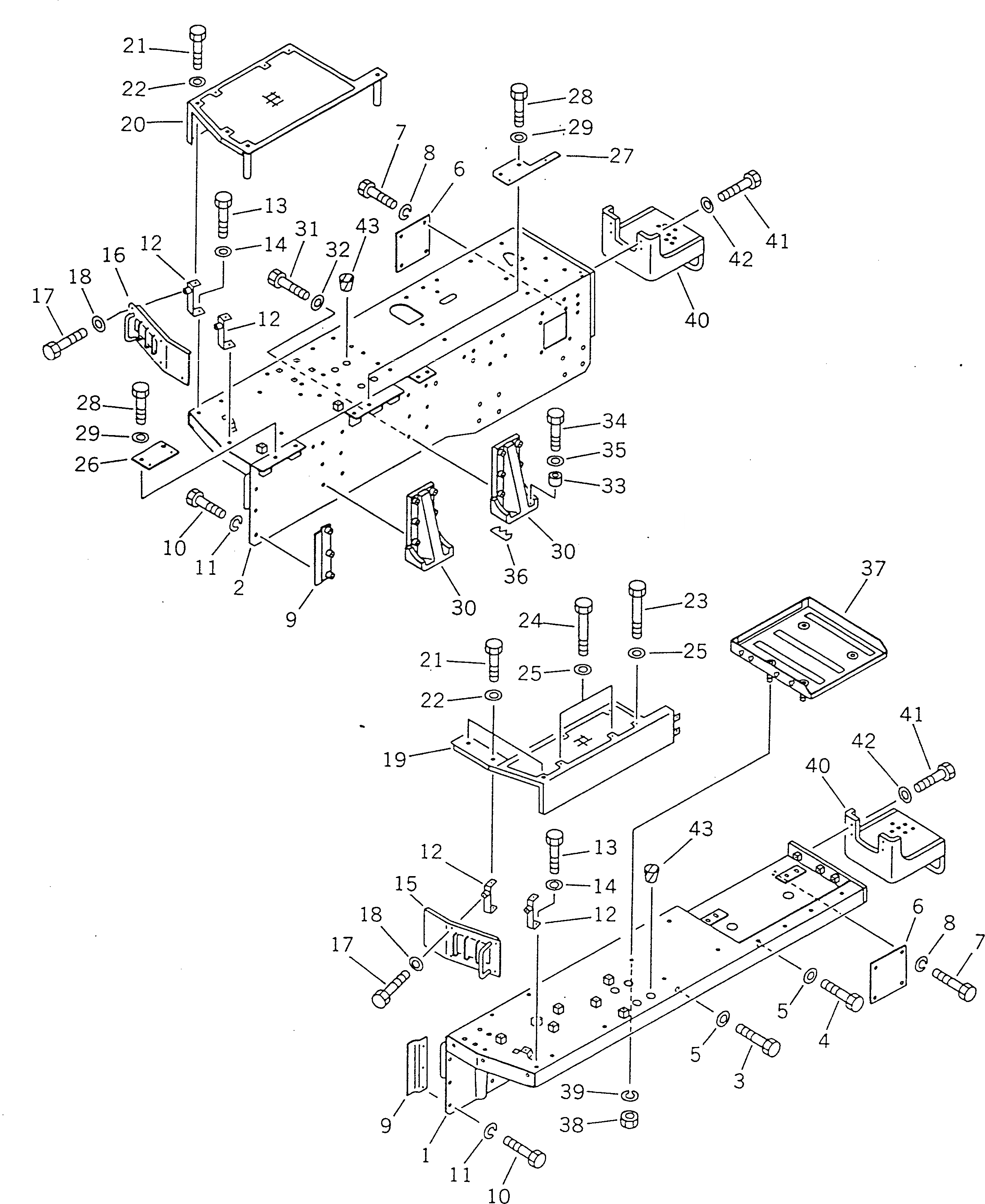
1

195-54-25480

FENDER,L.H.

SN: 12622-UP

1шт.

2

195-54-25490

FENDER,R.H.

SN: 12622-UP

1шт.

3

01010-52455

BOLT

SN: 12622-UP

8шт.

4

01010-52465

BOLT

SN: 12622-UP

8шт.

5

01643-32460

WASHER

SN: 12622-UP

16шт.

6

195-54-12582

PLATE

SN: 12622-UP

2шт.

7

01010-51240

BOLT

SN: 12622-UP

8шт.

8

01602-21236

WASHER,SPRING

SN: 12622-UP

8шт.

9

195-54-12675

PLATE

SN: 12622-UP

2шт.

10

01010-51235

BOLT

SN: 12622-UP

6шт.

11

01602-21236

WASHER,SPRING

SN: 12622-UP

6шт.

12

195-54-25550

BRACKET

SN: 12622-UP

4шт.

13

01010-51235

BOLT

SN: 12622-UP

4шт.

14

01643-31232

WASHER

SN: 12622-UP

4шт.

15

195-54-25531

COVER,L.H.

SN: 12952-UP

1шт.

15

195-54-25530

COVER,L.H.

SN: 12622-12951

1шт.

16

195-54-25541

COVER,R.H.

SN: 12952-UP

1шт.

16

195-54-25540

COVER,R.H.

SN: 12622-12951

1шт.

17

195-54-43210

BOLT

SN: 12622-UP

10шт.

18

195-54-42280

COVER

SN: 12622-UP

10шт.

19

195-54-25510

COVER,L.H.

SN: 12622-UP

1шт.

20

195-54-25520

COVER,R.H.

SN: 12622-UP

1шт.

21

01010-51225

BOLT

SN: 12622-UP

6шт.

22

01643-31232

WASHER

SN: 12622-UP

6шт.

23

01010-51280

BOLT

SN: 12622-UP

5шт.

24

195-979-5720

BOLT, 210MM

SN: 12622-UP

5шт.

25

01643-31232

WASHER

SN: 12622-UP

10шт.

26

195-54-25330

SEAT

SN: 12622-UP

1шт.

27

195-54-25340

SEAT

SN: 12622-UP

1шт.

28

01010-51450

BOLT

SN: 12622-UP

4шт.

29

01643-31445

WASHER

SN: 12622-UP

4шт.

30

195-54-16331

BRACKET

SN: 12622-UP

2шт.

31

01010-51645

BOLT

SN: 12622-UP

12шт.

32

01643-31645

WASHER

SN: 12622-UP

12шт.

33

195-54-11570

SPACER

SN: 12622-UP

8шт.

34

01010-51675

BOLT

SN: 12622-UP

8шт.

35

01643-31645

WASHER

SN: 12622-UP

8шт.

36

195-54-24770

SHIM, 1.0MM

SN: 12622-UP

3шт.

37

195-54-25650

CASE

SN: 12622-UP

1шт.

38

01580-11210

NUT

SN: 12622-UP

4шт.

39

01602-21236

WASHER,SPRING

SN: 12622-UP

4шт.

40

195-54-23991

STEP

SN: 12622-UP

2шт.

41

01010-51850

BOLT

SN: 12622-UP

8шт.

42

01643-31845

WASHER

SN: 12622-UP

8шт.

43

07049-01418

PLUG

SN: 12622-UP

13шт.

Выбрано товаров: 45