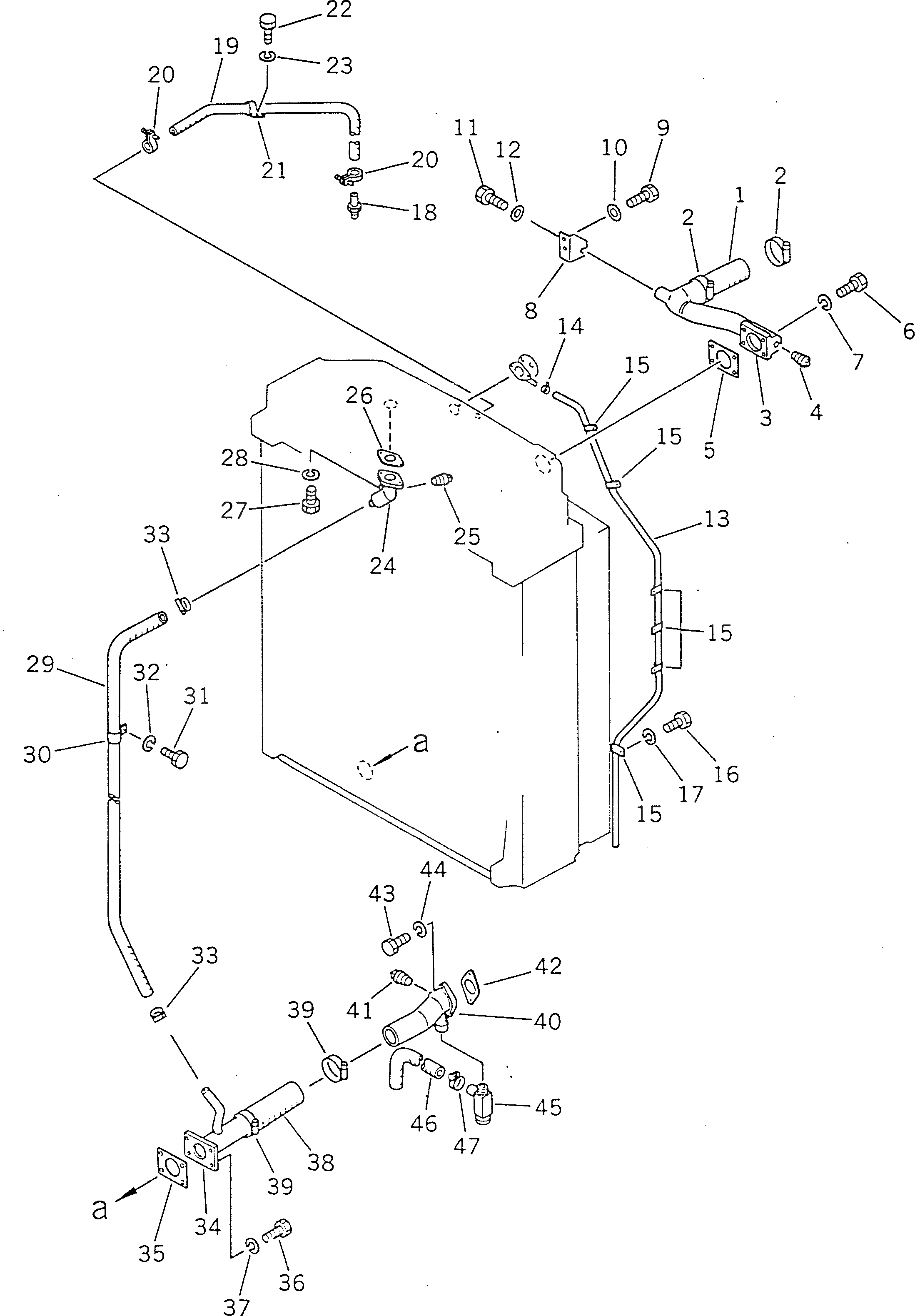
Запчасти Komatsu D355A-5 СИСТЕМА ТРУБ РАДИАТОРА КОМПОНЕНТЫ ДВИГАТЕЛЯ И ЭЛЕКТРИКА

Схема запчастей Komatsu D355A-5 - СИСТЕМА ТРУБ РАДИАТОРА КОМПОНЕНТЫ ДВИГАТЕЛЯ И ЭЛЕКТРИКА
FIT
1:1
100%

Артикул

Название

Примечание

Количество

1

195-03-13170

HOSE

SN: 12622-UP

1шт.

2

20D-09-11130

CLAMP

SN: 12677-UP

2шт.

|2

0

CLAMP

SN: 12622-12676

2шт.

|3

195-03-00304

INLET TUBE ASS'Y

SN: 12622-UP

1шт.

3

0

TUBE,INLET

SN: 12622-UP

1шт.

4

07042-30108

PLUG

SN: 12622-UP

1шт.

5

195-03-18650

GASKET

SN: 12622-UP

1шт.

6

01010-31235

BOLT

SN: 12622-UP

4шт.

7

01602-01236

WASHER,SPRING

SN: 12622-UP

4шт.

8

195-03-11394

BRACKET

SN: 12622-UP

1шт.

9

01010-31225

BOLT

SN: 12622-UP

2шт.

10

01643-31232

WASHER

SN: 12622-UP

2шт.

11

01010-31430

BOLT

SN: 12622-UP

1шт.

12

01643-31445

WASHER

SN: 12622-UP

1шт.

13

195-03-13131

HOSE

SN: 12622-UP

1шт.

14

04059-01010

WIRE

SN: 12622-UP

1шт.

15

195-03-11690

CLIP

SN: 12622-UP

4шт.

16

01010-31220

BOLT

SN: 12622-UP

2шт.

17

01643-21232

WASHER

SN: 12622-UP

2шт.

18

195-03-11530

NIPPLE

SN: 12622-UP

1шт.

19

195-03-11913

HOSE

SN: 12622-UP

1шт.

20

07281-00197

CLAMP

SN: 12622-UP

2шт.

21

195-03-11580

CLIP

SN: 12622-UP

2шт.

22

01010-31020

BOLT

SN: 12622-UP

2шт.

23

01643-31032

WASHER

SN: 12622-UP

2шт.

24

195-03-18690

TUBE

SN: 12622-UP

1шт.

25

07042-10211

PLUG

SN: 12622-UP

1шт.

26

07343-04808

GASKET

SN: 12622-UP

1шт.

27

01010-31235

BOLT

SN: 12622-UP

2шт.

28

01602-01236

WASHER,SPRING

SN: 12622-UP

2шт.

29

195-03-18680

HOSE

SN: 12622-UP

1шт.

30

195-03-11511

CLIP

SN: 12622-UP

1шт.

31

01010-31225

BOLT

SN: 12622-UP

1шт.

32

01643-31232

WASHER

SN: 12622-UP

1шт.

33

07281-00419

CLAMP

SN: 12622-UP

2шт.

34

195-03-13523

TUBE,OUTLET

SN: 12622-UP

1шт.

35

195-03-18650

GASKET

SN: 12622-UP

1шт.

36

01010-31235

BOLT

SN: 12622-UP

4шт.

37

01602-01236

WASHER,SPRING

SN: 12622-UP

4шт.

38

195-03-13170

HOSE

SN: 12622-UP

1шт.

39

20D-09-11130

CLAMP

SN: 12677-UP

2шт.

|39

0

CLAMP

SN: 12622-12676

2шт.

40

195-03-17120

TUBE

SN: 12622-UP

1шт.

41

02721-11617

PLUG,TAPER

SN: 12622-UP

1шт.

42

195-03-11620

GASKET

SN: 12622-UP

1шт.

43

01010-31235

BOLT

SN: 12622-UP

2шт.

44

01602-01236

WASHER,SPRING

SN: 12622-UP

2шт.

45

195-03-13540

VALVE,DRAIN

SN: 12622-UP

1шт.

46

175-803-1350

HOSE,DRAIN

SN: 12622-UP

1шт.

47

07280-03223

CLAMP

SN: 12622-UP

1шт.

Выбрано товаров: 50