Запчасти Komatsu D355A-5 ПОЛ КАБИНЫ ЧАСТИ КОРПУСА

Схема запчастей Komatsu D355A-5 - ПОЛ КАБИНЫ ЧАСТИ КОРПУСА
FIT
1:1
100%

Артикул

Название

Примечание

Количество

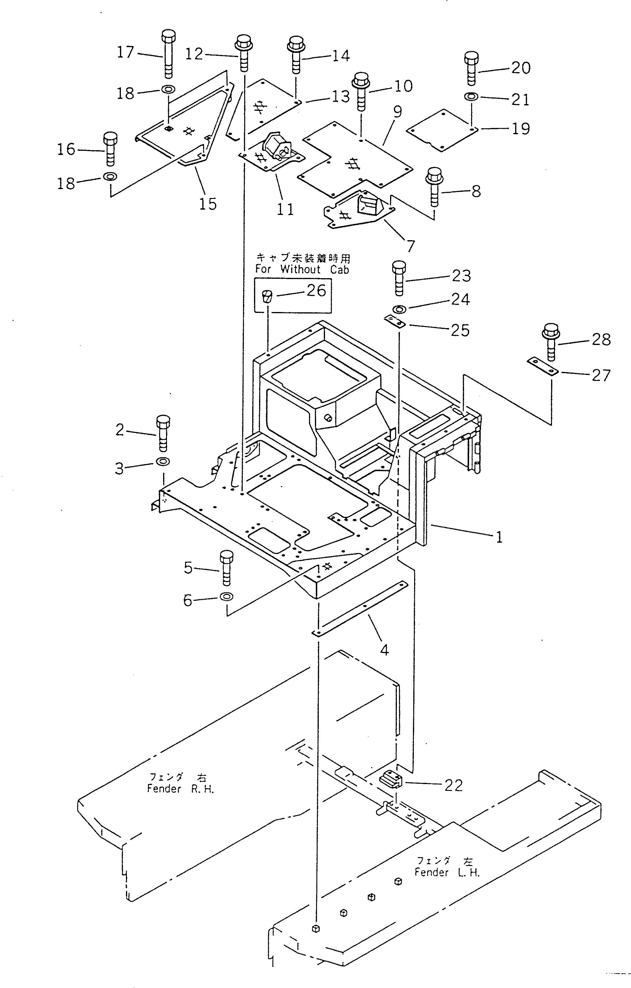
1

195-54-25350

FRAME

SN: 12622-UP

1шт.

2

01010-51475

BOLT

SN: 12622-UP

4шт.

3

01643-31445

WASHER

SN: 12622-UP

4шт.

4

195-54-25320

SEAT

SN: 12622-UP

1шт.

5

01010-51480

BOLT

SN: 12622-UP

4шт.

6

01643-31445

WASHER

SN: 12622-UP

4шт.

7

195-54-25280

COVER

SN: 12622-UP

1шт.

8

195-54-26230

BOLT

SN: 12622-UP

4шт.

9

195-54-25260

COVER

SN: 12622-UP

1шт.

10

195-54-26230

BOLT

SN: 12622-UP

9шт.

11

175-54-33197

COVER

SN: 12622-UP

1шт.

12

195-54-26230

BOLT

SN: 12622-UP

3шт.

13

195-54-25270

COVER

SN: 12622-UP

1шт.

14

195-54-26230

BOLT

SN: 12622-UP

5шт.

15

195-54-25570

COVER

SN: 12622-UP

1шт.

16

01010-51230

BOLT

SN: 12622-UP

2шт.

17

01011-51250

BOLT

SN: 12622-UP

2шт.

18

01643-31232

WASHER

SN: 12622-UP

4шт.

19

175-54-33233

COVER

SN: 12622-UP

1шт.

20

01010-50816

BOLT

SN: 12622-UP

4шт.

21

01643-30823

WASHER

SN: 12622-UP

4шт.

22

175-54-33151

SEAT

SN: 12622-UP

1шт.

23

01011-51400

BOLT

SN: 12622-UP

2шт.

24

01643-31445

WASHER

SN: 12622-UP

2шт.

25

195-54-23471

PLATE

SN: 12622-UP

1шт.

26

07049-01418

PLUG,(FOR WITHOUT CAB)

SN: 12622-UP

13шт.

27

195-54-25470

COVER

SN: 12622-UP

1шт.

28

195-54-26210

BOLT

SN: 12622-UP

2шт.

Выбрано товаров: 0