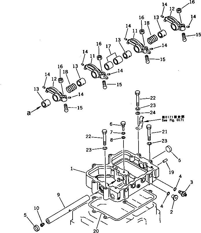
Запчасти Komatsu SA6D155-4A КОРОМЫСЛО И КОЖУХ ГОЛОВКА ЦИЛИНДРОВ

Схема запчастей Komatsu SA6D155-4A - КОРОМЫСЛО И КОЖУХ ГОЛОВКА ЦИЛИНДРОВ
FIT
1:1
100%

Артикул

Название

Примечание

Количество

|1

6127-11-7013

HOUSING ASS'Y,ROCKER ARM

SN: 50816-UP

3шт.

|1

6127-11-7022

HOUSING ASS'Y,ROCKER ARM

SN: 50816-UP

1шт.

1

0

HOUSING

SN: 50816-UP

1шт.

2

6127-11-7131

CONNECTOR

SN: 50816-UP

2шт.

3

6127-11-7140

CONNECTOR

SN: 50816-UP

2шт.

4

07000-02016

O-RING (K1)

SN: 50816-UP

4шт.

5

6127-11-7150

PLUG

SN: 50816-UP

2шт.

6

6127-11-7412

STOPPER

SN: 50816-UP

1шт.

7

01602-00825

WASHER,SPRING

SN: 50816-UP

1шт.

8

01642-20810

WASHER

SN: 50816-UP

1шт.

|9

6127-41-5021

ROCKER ARM SHAFT A.

SN: 50816-UP

1шт.

9

6127-41-5212

SHAFT

SN: 50816-UP

1шт.

10

07043-00312

PLUG

SN: 50816-UP

1шт.

|11

6128-41-5040

ARM ASS'Y,INTAKE VALVE

SN: 50816-UP

2шт.

|11

6127-41-5050

ARM ASS'Y,EXHAUST VALVE

SN: 50816-UP

2шт.

|11

6128-41-5400

ARM ASS'Y,INTAKE VALVE

SN: 50816-UP

1шт.

|11

6127-41-5500

ARM ASS'Y,EXHAUST VALVE

SN: 50816-UP

1шт.

11

6128-41-5412

LEVER,INTAKE VALVE

SN: 50816-UP

1шт.

12

6127-41-5512

LEVER,EXHAUST VALVE

SN: 50816-UP

1шт.

13

6127-41-5420

BUSHING

SN: 50816-UP

1шт.

14

6610-41-5340

PIN

SN: 50816-UP

2шт.

15

6127-41-5444

SCREW,ADJUSTING

SN: 50816-UP

1шт.

16

6127-41-5431

NUT,LOCK

SN: 50816-UP

1шт.

17

6127-41-5540

COLLAR

SN: 50816-UP

2шт.

18

6127-41-5320

SPRING

SN: 50816-UP

2шт.

19

04020-01024

PIN,DOWEL

SN: 50816-UP

2шт.

20

6127-11-7811

GASKET (K1)

SN: 50816-UP

3шт.

21

01011-31205

BOLT

SN: 50816-UP

21шт.

22

01011-31210

BOLT

SN: 50816-UP

3шт.

23

01602-01236

WASHER,SPRING

SN: 50816-UP

24шт.

24

01643-31232

WASHER

SN: 50816-UP

1шт.

|1

6127-11-7013

HOUSING ASS'Y,ROCKER ARM

SN: 50816-UP

3шт.

|1

6127-11-7022

HOUSING ASS'Y,ROCKER ARM

SN: 50816-UP

1шт.

1

0

HOUSING

SN: 50816-UP

1шт.

2

6127-11-7131

CONNECTOR

SN: 50816-UP

2шт.

3

6127-11-7140

CONNECTOR

SN: 50816-UP

2шт.

4

07000-02016

O-RING (K1)

SN: 50816-UP

4шт.

5

6127-11-7150

PLUG

SN: 50816-UP

2шт.

6

6127-11-7412

STOPPER

SN: 50816-UP

1шт.

7

01602-00825

WASHER,SPRING

SN: 50816-UP

1шт.

8

01642-20810

WASHER

SN: 50816-UP

1шт.

|9

6127-41-5021

ROCKER ARM SHAFT A.

SN: 50816-UP

1шт.

9

6127-41-5212

SHAFT

SN: 50816-UP

1шт.

10

07043-00312

PLUG

SN: 50816-UP

1шт.

|11

6128-41-5040

ARM ASS'Y,INTAKE VALVE

SN: 50816-UP

2шт.

|11

6127-41-5050

ARM ASS'Y,EXHAUST VALVE

SN: 50816-UP

2шт.

|11

6128-41-5400

ARM ASS'Y,INTAKE VALVE

SN: 50816-UP

1шт.

|11

6127-41-5500

ARM ASS'Y,EXHAUST VALVE

SN: 50816-UP

1шт.

11

6128-41-5412

LEVER,INTAKE VALVE

SN: 50816-UP

1шт.

12

6127-41-5512

LEVER,EXHAUST VALVE

SN: 50816-UP

1шт.

13

6127-41-5420

BUSHING

SN: 50816-UP

1шт.

14

6610-41-5340

PIN

SN: 50816-UP

2шт.

15

6127-41-5444

SCREW,ADJUSTING

SN: 50816-UP

1шт.

16

6127-41-5431

NUT,LOCK

SN: 50816-UP

1шт.

17

6127-41-5540

COLLAR

SN: 50816-UP

2шт.

18

6127-41-5320

SPRING

SN: 50816-UP

2шт.

19

04020-01024

PIN,DOWEL

SN: 50816-UP

2шт.

20

6127-11-7811

GASKET (K1)

SN: 50816-UP

3шт.

21

01011-31205

BOLT

SN: 50816-UP

21шт.

22

01011-31210

BOLT

SN: 50816-UP

3шт.

23

01602-01236

WASHER,SPRING

SN: 50816-UP

24шт.

24

01643-31232

WASHER

SN: 50816-UP

1шт.

Выбрано товаров: 62