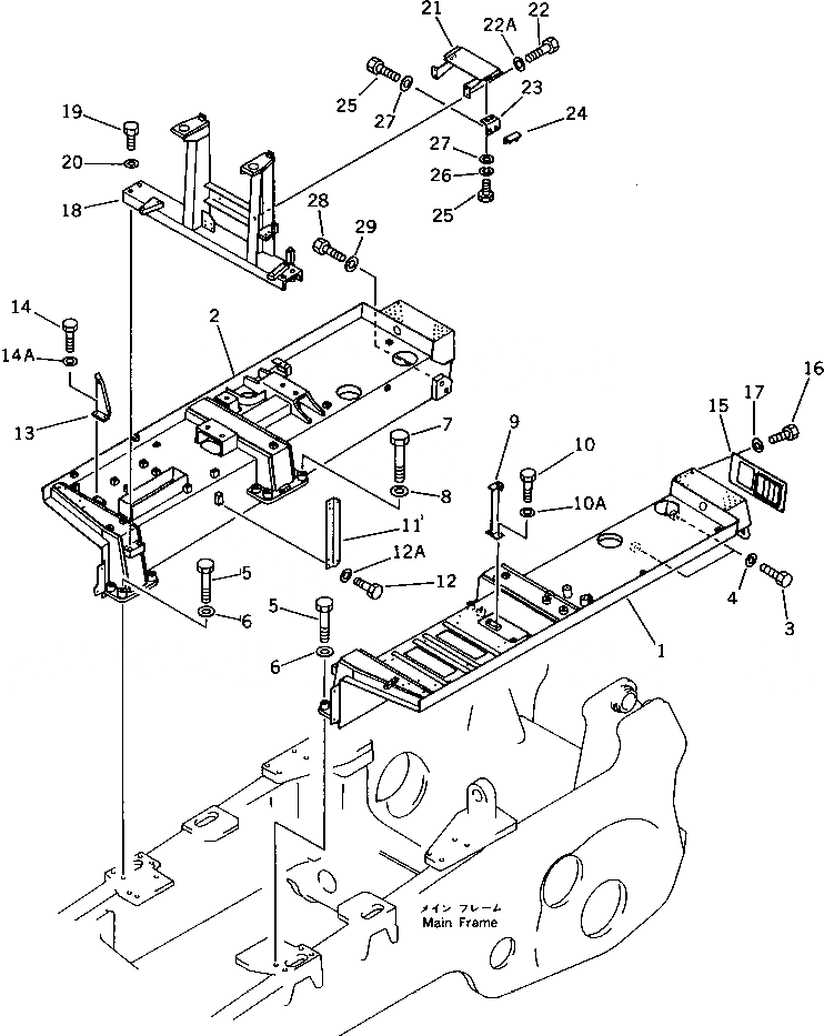
Запчасти Komatsu D375A-1 КРЫЛО ЧАСТИ КОРПУСА

Схема запчастей Komatsu D375A-1 - КРЫЛО ЧАСТИ КОРПУСА
FIT
1:1
100%

Артикул

Название

Примечание

Количество

1

195-54-42113

FENDER,L.H.

SN: 15486-UP

1шт.

|1

195-54-42112

FENDER,L.H.

SN: 15379-15485

1шт.

|1

195-54-42111

FENDER,L.H.

SN: 15005-15378

1шт.

|1

195-54-42110

FENDER,L.H.

SN: 15001-15004

1шт.

2

195-54-42124

FENDER,R.H.

SN: 15486-UP

1шт.

|2

195-54-42123

FENDER,R.H.

SN: 15379-15485

1шт.

|2

195-54-42122

FENDER,R.H.

SN: 15081-15378

1шт.

|2

195-54-42121

FENDER,R.H.

SN: 15005-15080

1шт.

|2

195-54-42120

FENDER,R.H.

SN: 15001-15004

1шт.

3

01010-52475

BOLT

SN: 15001-UP

4шт.

4

01643-32460

WASHER

SN: 15001-UP

4шт.

5

01011-52405

BOLT

SN: 15001-UP

12шт.

6

01643-32460

WASHER

SN: 15001-UP

12шт.

7

01011-82710

BOLT

SN: 15001-UP

4шт.

8

01643-32780

WASHER

SN: 15001-UP

4шт.

9

195-54-43151

BRACKET

SN: 15054-UP

1шт.

|9

0

BRACKET

SN: 15001-15053

1шт.

10

01010-51230

BOLT

SN: 15001-UP

2шт.

10A

01643-31232

WASHER

SN: 15001-UP

2шт.

11

195-54-42180

ANGLE

SN: 15001-UP

1шт.

12

01010-51225

BOLT

SN: 15001-UP

4шт.

12A

01643-31232

WASHER

SN: 15001-UP

4шт.

13

195-54-43170

BRACKET

SN: 15001-UP

1шт.

14

01010-51230

BOLT

SN: 15001-UP

2шт.

14A

01643-31232

WASHER

SN: 15001-UP

2шт.

15

195-54-43121

COVER

SN: 15589-UP

2шт.

|15

0

COVER

SN: 15001-15588

2шт.

16

195-54-43260

BOLT

SN: 15001-UP

8шт.

17

205-06-62460

WASHER

SN: 15001-UP

8шт.

18

195-54-42530

BRACKET

SN: 15001-UP

1шт.

19

01011-52015

BOLT

SN: 15001-UP

4шт.

20

01643-32060

WASHER

SN: 15001-UP

4шт.

21

195-54-42210

BRACKET

SN: 15001-UP

1шт.

22

01010-51225

BOLT

SN: 15001-UP

4шт.

22A

01643-31232

WASHER

SN: 15001-UP

4шт.

|23

09461-10010

BRACKET ASS'Y

SN: 15334-UP

2шт.

|23

09461-00010

BRACKET ASS'Y

SN: 15001-15333

2шт.

23

09461-00011

BRACKET

SN: 15001-UP

1шт.

24

09461-00012

BRACKET

SN: 15001-UP

1шт.

25

01010-51020

BOLT

SN: 15334-UP

4шт.

|25

01010-51025

BOLT

SN: 15001-15333

4шт.

26

01602-21030

WASHER,SPRING

SN: 15001-UP

4шт.

27

01643-31032

WASHER

SN: 15334-UP

4шт.

|27

01643-21032

WASHER

SN: 15001-15333

4шт.

28

01011-83015

BOLT

SN: 15486-UP

4шт.

|28

01010-83085

BOLT

SN: 15001-15485

4шт.

29

01643-33080

WASHER

SN: 15001-UP

4шт.

Выбрано товаров: 47