Запчасти Komatsu D375A-1 ГИДР. БАК. УПРАВЛ-Е РАБОЧИМ ОБОРУДОВАНИЕМ

Схема запчастей Komatsu D375A-1 - ГИДР. БАК. УПРАВЛ-Е РАБОЧИМ ОБОРУДОВАНИЕМ
FIT
1:1
100%

Артикул

Название

Примечание

Количество

|1

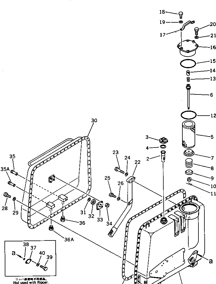
195-60-00051

HYDRAULIC TANK ASS'Y

SN: 15086-UP

1шт.

|1

0

HYDRAULIC TANK ASS'Y

SN: 15001-15085

1шт.

1

195-60-41161

TANK

SN: 15001-UP

1шт.

2

07056-10045

STRAINER

SN: 15001-UP

1шт.

3

07051-00000

CAP

SN: 15001-UP

1шт.

4

07051-00003

GASKET

SN: 15001-UP

1шт.

5

07063-01142

ELEMENT

SN: 15001-UP

1шт.

6

195-60-41190

ROD

SN: 15001-UP

1шт.

7

195-60-41210

PLATE

SN: 15001-UP

1шт.

8

198-49-11460

SPRING

SN: 15001-UP

1шт.

9

195-60-41220

PLATE

SN: 15001-UP

1шт.

10

01590-01012

NUT

SN: 15001-UP

1шт.

11

04050-02018

PIN,COTTER

SN: 15001-UP

1шт.

12

07000-05180

O-RING

SN: 15001-UP

1шт.

13

150-49-11560

SPRING

SN: 15001-UP

1шт.

14

195-60-41290

VALVE

SN: 15001-UP

1шт.

15

07000-05195

O-RING

SN: 15001-UP

1шт.

16

195-60-41150

CAP

SN: 15001-UP

1шт.

17

195-60-41231

GRIP

SN: 15001-UP

1шт.

18

01010-51225

BOLT

SN: 15001-UP

2шт.

19

01643-31232

WASHER

SN: 15001-UP

2шт.

20

01010-51235

BOLT

SN: 15001-UP

4шт.

21

01643-31232

WASHER

SN: 15001-UP

4шт.

22

195-60-41250

TUBE

SN: 15001-UP

1шт.

23

01010-51265

BOLT

SN: 15001-UP

2шт.

24

01643-31232

WASHER

SN: 15001-UP

2шт.

25

01010-31225

BOLT

SN: 15001-UP

1шт.

26

01643-31232

WASHER

SN: 15001-UP

1шт.

27

195-60-41181

GASKET

SN: 15001-UP

1шт.

28

01010-51025

BOLT

SN: 15001-UP

59шт.

29

01643-51032

WASHER

SN: 15001-UP

59шт.

30

195-60-41171

TANK

SN: 15001-UP

1шт.

31

07715-00651

COVER

SN: 15001-UP

1шт.

32

07715-11257

RING

SN: 15001-UP

1шт.

33

07715-21074

CASE

SN: 15001-UP

1шт.

34

01598-11011

NUT

SN: 15001-UP

4шт.

35

195-60-41240

VALVE

SN: 15001-UP

1шт.

35A

195-60-41240

VALVE

SN: 15086-UP

1шт.

36

07040-13618

PLUG

SN: 15001-UP

1шт.

36A

07040-13618

PLUG

SN: 15086-UP

1шт.

37

195-60-41420

PLATE,(WITHOUT RIPPER)

SN: 15001-UP

1шт.

38

07000-03032

O-RING,(WITHOUT RIPPER)

SN: 15001-UP

1шт.

39

01010-51025

BOLT,(WITHOUT RIPPER)

SN: 15001-UP

2шт.

40

01643-31032

WASHER,(WITHOUT RIPPER)

SN: 15001-UP

2шт.

Выбрано товаров: 44