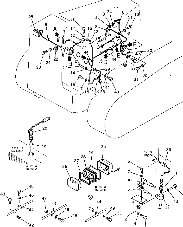
Запчасти Komatsu D375A-1 ЭЛЕКТРИКА (/)(№-99) КОМПОНЕНТЫ ДВИГАТЕЛЯ И ЭЛЕКТРИКА

Схема запчастей Komatsu D375A-1 - ЭЛЕКТРИКА (/)(№-99) КОМПОНЕНТЫ ДВИГАТЕЛЯ И ЭЛЕКТРИКА
FIT
1:1
100%

Артикул

Название

Примечание

Количество

1

195-06-41441

WIRING HARNESS

SN: 15500-@

1шт.

|1

0

WIRING HARNESS

SN: 15001-15499

1шт.

2

195-06-41470

BRACKET

SN: 15001-@

1шт.

3

01010-51220

BOLT

SN: 15001-@

2шт.

4

01643-31232

WASHER

SN: 15001-@

2шт.

5

195-06-41840

CLIP

SN: 15001-@

1шт.

6

01010-51220

BOLT

SN: 15001-@

1шт.

7

01643-31232

WASHER

SN: 15001-@

1шт.

8

08036-10814

CLIP

SN: 15001-15499

6шт.

9

195-06-41820

CLIP

SN: 15001-@

1шт.

10

01010-51220

BOLT

SN: 15001-@

2шт.

11

01643-31232

WASHER

SN: 15001-@

2шт.

12

195-06-41820

CLIP

SN: 15001-15499

5шт.

13

01010-51220

BOLT

SN: 15001-@

4шт.

14

01643-31232

WASHER

SN: 15001-@

4шт.

15

175-06-36130

CLAMP

SN: 15001-@

4шт.

16

01010-51220

BOLT

SN: 15001-@

4шт.

17

01643-31232

WASHER

SN: 15001-@

4шт.

18

195-06-41430

WIRING HARNESS

SN: 15001-@

1шт.

19

07002-03634

O-RING

SN: 15001-@

1шт.

20

7861-99-4520

SENSOR,WATER LEVEL

SN: 15001-@

1шт.

21

195-06-41420

WIRING HARNESS

SN: 15001-@

1шт.

22

175-06-41110

HORN

SN: 15001-@

1шт.

23

01010-50820

BOLT

SN: 15001-@

2шт.

24

01602-20825

WASHER,SPRING

SN: 15001-@

2шт.

25

22W-06-12381

LAMP ASS'Y,WORK

SN: 15001-15592

2шт.

26

22W-06-12170

BULB

SN: 15001-@

1шт.

27

22W-06-12120

RING

SN: 15001-15592

1шт.

28

22W-06-12290

CUSHION

SN: 15001-@

1шт.

29

22W-06-12130

RING

SN: 15001-15592

1шт.

30

175-06-51440

WIRE

SN: 15001-@

1шт.

31

01010-51220

BOLT

SN: 15001-@

1шт.

32

01643-31232

WASHER

SN: 15001-@

1шт.

33

7861-99-1300

SENSOR,OIL PRESSURE¤ ENGINE

SN: 15001-@

1шт.

34

7861-99-3300

SENSOR,WATER TEMPERATURE

SN: 15001-@

1шт.

35

600-815-1770

SWITCH,A.P.S.

SN: 15001-@

1шт.

36

6162-83-8602

LEVEL SENSOR ASS'Y,OIL LEVEL¤ ENGINE

SN: 15001-@

1шт.

37

01010-51020

BOLT

SN: 15001-@

1шт.

38

01643-31032

WASHER

SN: 15001-@

1шт.

39

08036-01414

CLIP

SN: 15001-@

1шт.

40

01010-51020

BOLT

SN: 15001-@

1шт.

41

01643-31032

WASHER

SN: 15001-@

1шт.

42

195-06-41720

BRACKET

SN: 15001-15499

1шт.

43

01010-51030

BOLT

SN: 15001-15499

1шт.

44

08036-01414

CLIP

SN: 15001-15499

5шт.

45

01010-51220

BOLT

SN: 15001-15499

1шт.

46

01643-31232

WASHER

SN: 15001-15499

1шт.

47

113-03-21170

SPACER

SN: 15249-15499

1шт.

|47

0

SPACER

SN: 15001-15248

1шт.

48

01010-51050

BOLT

SN: 15249-15499

1шт.

|48

0

BOLT

SN: 15001-15248

1шт.

49

01643-31032

WASHER

SN: 15001-15499

1шт.

50

113-03-21170

SPACER

SN: 15001-15499

1шт.

51

01010-51065

BOLT

SN: 15001-15499

1шт.

Выбрано товаров: 54