Запчасти Komatsu D375A-1 УСИЛЕНН. РАМА ПРЯМ. ОТВАЛА (№-¤7-) РАБОЧЕЕ ОБОРУДОВАНИЕ

Схема запчастей Komatsu D375A-1 - УСИЛЕНН. РАМА ПРЯМ. ОТВАЛА (№-¤7-) РАБОЧЕЕ ОБОРУДОВАНИЕ
FIT
1:1
100%

Артикул

Название

Примечание

Количество

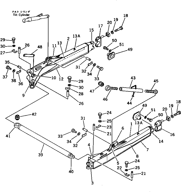
G-1

0

FRAME GROUP,REINFORCED STRAIGHT TILT

SN: 15080-.

1шт.

G-1

0

FRAME GROUP,REINFORCED STRAIGHT TILT

SN: 15001-15079

1шт.

|$$3

====================

-1шт.

|1

195-71-00381

FRAME ASS'Y,L.H.

SN: 15080-.

1шт.

|1

0

FRAME ASS'Y,L.H.

SN: 15001-15079

1шт.

|1

195-71-00391

FRAME ASS'Y,R.H.

SN: 15080-.

1шт.

|1

0

FRAME ASS'Y,R.H.

SN: 15001-15079

1шт.

1

0

FRAME,L.H.

SN: 15080-.

1шт.

|1

0

FRAME,L.H.

SN: 15001-15079

1шт.

2

0

FRAME,R.H.

SN: 15080-.

1шт.

|2

0

FRAME,R.H.

SN: 15001-15079

1шт.

3

195-71-51140

BRACKET,L.H. (WELDED)

SN: 15001-.

1шт.

4

195-71-51290

BRACKET,L.H. (WELDED)

SN: 15001-.

1шт.

5

195-71-51350

BRACKET,L.H. (WELDED)

SN: 15001-.

1шт.

6

195-71-51470

STEP,L.H. (WELDED)

SN: 15001-.

1шт.

7

195-71-51781

PLATE,L.H. (WELDED)

SN: 15080-.

1шт.

|7

0

PLATE,L.H. (WELDED)

SN: 15001-15079

1шт.

8

195-71-51791

PLATE,L.H. (WELDED)

SN: 15080-.

1шт.

|8

0

PLATE,L.H. (WELDED)

SN: 15001-15079

1шт.

9

195-71-51320

BRACKET,R.H. (WELDED)

SN: 15001-.

1шт.

10

195-71-51421

BRACKET,R.H. (WELDED)

SN: 15001-.

1шт.

11

195-71-51360

BRACKET,R.H. (WELDED)

SN: 15001-.

1шт.

12

195-71-51821

PLATE,R.H. (WELDED)

SN: 15080-.

1шт.

|12

0

PLATE,R.H. (WELDED)

SN: 15001-15079

1шт.

13

195-71-51831

PLATE,R.H. (WELDED)

SN: 15080-.

1шт.

|13

0

PLATE,R.H. (WELDED)

SN: 15001-15079

1шт.

13A

09545-00222

BRACKET (WELDED)

SN: 15080-.

1шт.

|14

195-71-00330

BRACKET AND CAP A.,L.H.

SN: 15001-.

1шт.

|14

195-71-00340

BRACKET AND CAP A.,R.H.

SN: 15001-.

1шт.

14

195-71-51150

BRACKET,L.H. (WELDED)

SN: 15001-.

1шт.

15

195-71-51160

BRACKET,R.H. (WELDED)

SN: 15001-.

1шт.

16

195-71-51170

CAP,L.H.

SN: 15001-.

1шт.

17

195-71-51180

CAP,R.H.

SN: 15001-.

1шт.

18

195-09-18130

BOLT

SN: 15001-.

4шт.

19

01643-32780

WASHER

SN: 15001-.

4шт.

20

195-71-11512

NUT

SN: 15001-.

4шт.

21

09255-06295

PIN

SN: 15001-.

2шт.

22

09257-09014

LOCK

SN: 15001-.

1шт.

23

195-71-51440

LOCK

SN: 15001-.

1шт.

24

01010-52045

BOLT

SN: 15001-.

6шт.

25

01643-32060

WASHER

SN: 15001-.

6шт.

26

195-71-51410

PIN

SN: 15001-.

2шт.

27

09257-09014

LOCK

SN: 15001-.

1шт.

28

195-71-51440

LOCK

SN: 15001-.

1шт.

29

01010-52045

BOLT

SN: 15001-.

6шт.

30

01643-32060

WASHER

SN: 15001-.

6шт.

31

195-71-51380

PIN

SN: 15001-.

2шт.

32

195-71-51450

LOCK

SN: 15001-.

2шт.

33

01010-52045

BOLT

SN: 15001-.

4шт.

34

01643-32060

WASHER

SN: 15001-.

4шт.

35

09255-01115

PIN

SN: 15001-.

1шт.

36

04082-00212

LOCK

SN: 15001-.

1шт.

37

01010-51225

BOLT

SN: 15001-.

2шт.

38

01643-31232

WASHER

SN: 15001-.

2шт.

|$$55

====================

-1шт.

G-2

0

ARM AND BRACE GROUP

SN: 15364-.

1шт.

G-2

0

ARM AND BRACE GROUP

SN: 15295-15363

1шт.

G-2

0

ARM AND BRACE GROUP

SN: 15080-15294

1шт.

G-2

0

ARM AND BRACE GROUP

SN: 15001-15079

1шт.

|$$60

====================

-1шт.

39

195-71-51312

ARM

SN: 15295-.

1шт.

|39

195-71-51311

ARM

SN: 15217-15294

1шт.

|39

0

ARM

SN: 15001-15216

1шт.

40

195-71-51211

JOINT

SN: 15295-.

1шт.

|40

195-71-51210

JOINT

SN: 15001-15294

1шт.

41

195-71-51222

JOINT

SN: 15295-.

1шт.

|41

195-71-51221

JOINT

SN: 15001-15294

1шт.

42

195-71-51254

BUSHING

SN: 15364-.

1шт.

|42

195-71-51252

BUSHING

SN: 15080-15363

1шт.

|42

0

BUSHING

SN: 15001-15079

1шт.

43

195-71-51592

BRACE

SN: 15364-.

1шт.

|43

195-71-51591

BRACE

SN: 15295-15363

1шт.

|43

195-71-51590

BRACE

SN: 15001-15294

1шт.

44

195-71-11580

ROD

SN: 15364-UP

1шт.

|44

195-71-11571

ROD

SN: 15001-15363

1шт.

44A

177-50-11170

SEAL,DUST

SN: 15295-.

1шт.

45

195-71-51230

SCREW

SN: 15001-.

1шт.

46

195-70-51151

SCREW

SN: 15364-.

1шт.

|46

195-70-51150

SCREW

SN: 15295-15363

1шт.

|46

195-71-51240

SCREW

SN: 15001-15294

1шт.

47

195-71-51263

BUSHING

SN: 15364-.

1шт.

|47

195-71-51260

BUSHING

SN: 15001-15363

1шт.

48

195-71-51431

LINK

SN: 15001-.

1шт.

48A

195-71-52360

RING,SNAP

SN: 15295-.

1шт.

48B

04071-00160

RING,SNAP

SN: 15364-.

1шт.

|$$86

====================

-1шт.

G-3

0

TRUNNION GROUP

SN: 15397-@

1шт.

G-3

0

TRUNNION GROUP

SN: 15001-15396

1шт.

|$$89

====================

-1шт.

49

195-71-51191

TRUNNION

SN: 15397-@

2шт.

|49

0

TRUNNION

SN: 15001-15396

2шт.

50

01010-52475

BOLT

SN: 15001-@

20шт.

51

01643-32460

WASHER

SN: 15001-@

20шт.

|$$94

====================

-1шт.

Выбрано товаров: 94