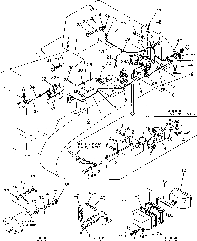
Запчасти Komatsu D375A-1 ЭЛЕКТРИКА (/) КОМПОНЕНТЫ ДВИГАТЕЛЯ И ЭЛЕКТРИКА

Схема запчастей Komatsu D375A-1 - ЭЛЕКТРИКА (/) КОМПОНЕНТЫ ДВИГАТЕЛЯ И ЭЛЕКТРИКА
FIT
1:1
100%

Артикул

Название

Примечание

Количество

1

195-06-41590

WIRING HARNESS

SN: 15001-UP

1шт.

2

08036-01814

CLIP

SN: 15500-UP

6шт.

|2

08036-01814

CLIP

SN: 15001-15499

3шт.

2A

08036-01814

CLIP

SN: 15500-UP

1шт.

|2A

08036-02514

CLIP

SN: 15001-15499

1шт.

3

01010-51220

BOLT

SN: 15500-UP

5шт.

|3

01010-51220

BOLT

SN: 15001-15499

4шт.

3A

01643-31232

WASHER

SN: 15500-UP

5шт.

|3A

01643-31232

WASHER

SN: 15001-15499

4шт.

4

7830-11-8100

RELAY BOX ASS'Y

SN: 15001-UP

1шт.

5

01010-51016

BOLT

SN: 15001-UP

4шт.

6

01643-31032

WASHER

SN: 15001-UP

4шт.

7

08036-00814

CLIP

SN: 15500-UP

4шт.

|7

08036-10814

CLIP

SN: 15001-15499

6шт.

8

01010-51220

BOLT

SN: 15001-UP

6шт.

9

01643-31232

WASHER

SN: 15001-UP

6шт.

10

21T-38-12270

CLIP

SN: 15500-UP

3шт.

|10

08036-10814

CLIP

SN: 15001-15499

1шт.

11

01010-51220

BOLT

SN: 15001-UP

1шт.

12

01643-31232

WASHER

SN: 15001-UP

1шт.

13

23S-05-28210

LAMP ASS'Y

SN: 15593-UP

1шт.

|13

22W-06-12381

LAMP ASS'Y,WORK

SN: 15001-15592

1шт.

|13

203-06-56160

HOUSING

SN: 15593-UP

1шт.

14

22W-06-12170

BULB

SN: 15001-UP

1шт.

15

203-06-56180

RING

SN: 15593-UP

1шт.

|15

22W-06-12120

RING

SN: 15001-15592

1шт.

16

22W-06-12290

CUSHION

SN: 15001-UP

1шт.

17

203-06-56190

RING

SN: 15593-UP

1шт.

|17

22W-06-12130

RING

SN: 15001-15592

1шт.

17A

22W-06-12160

SEAT

SN: 15593-UP

1шт.

17B

01582-11411

NUT

SN: 15593-UP

1шт.

17C

01643-31445

WASHER

SN: 15593-UP

1шт.

17D

09415-01008

CAP

SN: 15593-UP

1шт.

17E

23S-05-28220

PLATE¤ NAME

SN: 15593-UP

1шт.

18

195-06-41160

WIRING HARNESS

SN: 15001-UP

1шт.

19

21T-38-12270

CLIP

SN: 15500-UP

2шт.

|19

08036-10814

CLIP

SN: 15001-15499

2шт.

20

01010-51220

BOLT

SN: 15001-UP

2шт.

21

01643-31232

WASHER

SN: 15001-UP

2шт.

22

195-06-41820

CLIP

SN: 15001-UP

2шт.

23

01010-51220

BOLT

SN: 15001-UP

2шт.

23A

01643-31232

WASHER

SN: 15001-UP

2шт.

24

07000-02085

O-RING

SN: 15001-UP

1шт.

25

7861-99-4700

SENSOR,FUEL LEVEL

SN: 15001-UP

1шт.

26

01010-51025

BOLT

SN: 15001-UP

4шт.

27

01602-21030

WASHER,SPRING

SN: 15001-UP

4шт.

28

170-43-11370

GROMMET

SN: 15001-UP

1шт.

29

195-06-41220

WIRING HARNESS

SN: 15001-UP

1шт.

30

08035-03014

CLIP

SN: 15001-UP

2шт.

31

01010-51220

BOLT

SN: 15001-UP

2шт.

31A

01643-31232

WASHER

SN: 15001-UP

2шт.

32

08028-13035

CABLE

SN: 15001-UP

1шт.

33

08038-00035

CAP

SN: 15001-UP

1шт.

33A

08038-12027

CAP

SN: 15001-UP

2шт.

34

195-06-41190

WIRING HARNESS

SN: 15001-UP

1шт.

35

08035-02510

CLIP

SN: 15059-UP

3шт.

|35

08036-02514

CLIP

SN: 15001-15058

3шт.

36

01640-20610

WASHER,(FOR 35A ALTERNATOR)

SN: 15001-UP

2шт.

37

08038-12027

CAP

SN: 15001-UP

1шт.

38

140-06-18260

CAP

SN: 15001-UP

1шт.

39

154-06-36830

CONNECTOR,(FOR 75A ALTERNATOR)

SN: 15001-UP

1шт.

40

01580-10504

NUT,(FOR 75A ALTERNATOR)

SN: 15001-UP

1шт.

41

01601-00513

WASHER,SPRING

SN: 15001-UP

1шт.

42

195-06-41370

PLATE

SN: 15001-UP

1шт.

43

01010-51220

BOLT

SN: 15001-UP

2шт.

43A

01643-31232

WASHER

SN: 15001-UP

2шт.

44

201-46-38220

GROMMET

SN: 15001-UP

2шт.

45

195-06-41740

PLUG,(WITHOUT GIANT RIPPER)

SN: 15001-UP

1шт.

46

195-06-41820

CLIP,(WITHOUT GIANT RIPPER)

SN: 15001-UP

1шт.

47

01010-51020

BOLT,(WITHOUT GIANT RIPPER)

SN: 15001-UP

1шт.

48

01643-31232

WASHER,(WITHOUT GIANT RIPPER)

SN: 15001-UP

1шт.

49

08036-02514

CLIP

SN: 15500-UP

1шт.

50

08036-01814

CLIP

SN: 15500-UP

1шт.

Выбрано товаров: 73