Запчасти Komatsu D375A-1 МЕХАНИЗМ УПРАВЛ-Я ПОДАЧЕЙ ТОПЛИВА КОМПОНЕНТЫ ДВИГАТЕЛЯ И ЭЛЕКТРИКА

Схема запчастей Komatsu D375A-1 - МЕХАНИЗМ УПРАВЛ-Я ПОДАЧЕЙ ТОПЛИВА КОМПОНЕНТЫ ДВИГАТЕЛЯ И ЭЛЕКТРИКА
FIT
1:1
100%

Артикул

Название

Примечание

Количество

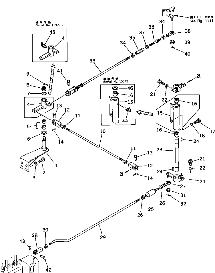
1

195-43-42111

BRACKET

SN: 15373-UP

1шт.

|1

195-43-42110

BRACKET

SN: 15001-15372

1шт.

2

01010-51235

BOLT

SN: 15001-UP

4шт.

3

01643-31232

WASHER

SN: 15001-UP

4шт.

4

195-43-42161

LEVER

SN: 15373-UP

1шт.

|4

195-43-42160

LEVER

SN: 15001-15372

1шт.

5

195-61-41270

BEARING

SN: 15373-UP

2шт.

|5

0

BEARING,NEEDLE

SN: 15001-15372

2шт.

6

176-76-27180

WASHER

SN: 15001-UP

1шт.

7

195-43-42490

WASHER

SN: 15373-UP

1шт.

|7

01640-21626

WASHER

SN: 15001-15372

1шт.

8

01593-11613

NUT

SN: 15001-UP

1шт.

9

04050-14025

PIN,COTTER

SN: 15001-UP

1шт.

10

04245-41060

ROD

SN: 15001-UP

1шт.

11

01582-11008

NUT

SN: 15001-UP

2шт.

12

04211-21055

YOKE

SN: 15001-UP

2шт.

13

04205-11028

PIN

SN: 15001-UP

2шт.

14

04050-13015

PIN,COTTER

SN: 15001-UP

2шт.

15

195-43-42121

BRACKET

SN: 15373-UP

1шт.

|15

195-43-42120

BRACKET

SN: 15001-15372

1шт.

16

195-61-41290

BEARING,NEEDLE

SN: 15373-UP

2шт.

|16

0

BEARING,NEEDLE

SN: 15001-15372

2шт.

17

01010-51230

BOLT

SN: 15001-UP

2шт.

18

01643-31232

WASHER

SN: 15001-UP

2шт.

19

195-43-42150

LEVER

SN: 15001-UP

1шт.

20

195-43-42130

LEVER

SN: 15001-UP

1шт.

21

01010-51245

BOLT

SN: 15001-UP

2шт.

22

01643-31232

WASHER

SN: 15001-UP

2шт.

23

195-43-42140

SHAFT

SN: 15001-UP

1шт.

24

04010-00732

KEY

SN: 15001-UP

2шт.

25

175-43-34500

ABSORBER ASS'Y

SN: 15001-UP

1шт.

26

01582-11008

NUT

SN: 15001-UP

2шт.

27

04250-81056

END,ROD

SN: 15001-UP

1шт.

28

04211-20844

YOKE

SN: 15001-UP

1шт.

29

195-43-42451

ROD

SN: 15192-UP

1шт.

|29

195-43-42450

ROD

SN: 15001-15191

1шт.

30

01580-10806

NUT

SN: 15001-UP

1шт.

31

01593-11008

NUT

SN: 15001-UP

1шт.

32

04050-12018

PIN,COTTER

SN: 15001-UP

1шт.

33

195-43-42180

ROD ASS'Y

SN: 15001-UP

1шт.

34

01582-11008

NUT

SN: 15001-UP

2шт.

35

176-43-43190

BUCKLE,TURN

SN: 15001-UP

1шт.

36

04248-31013

ROD

SN: 15001-UP

1шт.

37

01508-21006

NUT

SN: 15001-UP

1шт.

38

04250-81056

END,ROD

SN: 15001-UP

1шт.

39

01593-11008

NUT

SN: 15001-UP

1шт.

40

04050-12018

PIN,COTTER

SN: 15001-UP

1шт.

41

195-43-42190

PIN

SN: 15001-UP

1шт.

42

04205-10822

PIN

SN: 15001-UP

1шт.

43

04050-12012

PIN,COTTER

SN: 15001-UP

1шт.

44

07020-00900

FITTING,GREASE

SN: 15373-UP

1шт.

45

07020-00675

FITTING,GREASE

SN: 15373-UP

1шт.

46

195-43-42480

WASHER

SN: 15373-UP

1шт.

Выбрано товаров: 53