Запчасти Komatsu D375A-1 ПЕРФОРИРОВАНН. БОКОВ. КРЫШКА ДВИГ.¤ ЛЕВ.(№-) ЧАСТИ КОРПУСА

Схема запчастей Komatsu D375A-1 - ПЕРФОРИРОВАНН. БОКОВ. КРЫШКА ДВИГ.¤ ЛЕВ.(№-) ЧАСТИ КОРПУСА
FIT
1:1
100%

Артикул

Название

Примечание

Количество

G-1

0

COVER GROUP,PERFORATED

SN: 15589-UP

1шт.

G-1

0

COVER GROUP,PERFORATED

SN: 15276-15588

1шт.

G-1

0

COVER GROUP,PERFORATED

SN: 15003-15275

1шт.

|$$4

====================

-1шт.

|$4

195-54-00203

SIDE COVER ASS'Y

SN: 15589-UP

1шт.

|$5

0

SIDE COVER ASS'Y

SN: 15276-15588

1шт.

|$6

0

SIDE COVER ASS'Y

SN: 15003-15275

1шт.

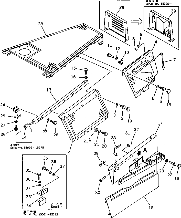
1

195-54-42711

COVER,L.H.

SN: 15003-UP

1шт.

2

01010-51225

BOLT

SN: 15001-UP

3шт.

3

175-54-34170

WASHER

SN: 15001-UP

3шт.

4

195-54-42751

COVER,L.H.

SN: 15003-UP

1шт.

5

01010-51225

BOLT

SN: 15003-UP

3шт.

6

175-54-34170

WASHER

SN: 15003-UP

3шт.

7

195-54-42781

BAR

SN: 15001-UP

1шт.

8

04050-12015

PIN,COTTER

SN: 15001-UP

1шт.

9

01643-30823

WASHER

SN: 15001-UP

1шт.

10

198-54-19150

SPRING

SN: 15001-UP

1шт.

11

01010-50610

BOLT

SN: 15001-UP

2шт.

12

01643-30623

WASHER

SN: 15001-UP

2шт.

13

195-54-42822

BRACKET,L.H.

SN: 15276-UP

1шт.

13

0

BRACKET,L.H.

SN: 15003-15275

1шт.

14

195-54-42970

BUSHING

SN: 15001-15275

1шт.

15

01010-51225

BOLT

SN: 15001-UP

2шт.

16

01643-31232

WASHER

SN: 15001-UP

2шт.

17

195-54-42792

COVER,L.H.

SN: 15003-UP

1шт.

18

195-54-42741

COVER,L.H.

SN: 15276-UP

1шт.

18

0

COVER,L.H.

SN: 15001-15275

1шт.

19

195-54-42981

CAP

SN: 15589-UP

10шт.

19

0

CAP

SN: 15003-15588

10шт.

20

01010-51230

BOLT

SN: 15003-UP

3шт.

21

01643-31232

WASHER

SN: 15003-UP

3шт.

21A

195-54-42650

COLLAR

SN: 15003-UP

3шт.

22

01010-51225

BOLT

SN: 15001-UP

4шт.

23

01643-31232

WASHER

SN: 15001-UP

4шт.

24

195-54-43281

BRACKET

SN: 15001-UP

2шт.

25

195-54-43291

PLATE

SN: 15001-UP

2шт.

26

01010-51020

BOLT

SN: 15001-UP

8шт.

27

01643-31032

WASHER

SN: 15001-UP

8шт.

28

195-54-43271

LOCK

SN: 15001-UP

2шт.

29

195-54-43312

SPRING

SN: 15001-UP

2шт.

30

101-966-1150

PIN

SN: 15001-UP

2шт.

31

01643-51032

WASHER

SN: 15001-UP

2шт.

32

04050-12018

PIN,COTTER

SN: 15001-UP

2шт.

|$43

09461-00010

BRACKET ASS'Y

SN: 15001-15313

1шт.

33

09461-00011

BRACKET

SN: 15001-15313

1шт.

34

09461-00012

BRACKET

SN: 15001-15313

1шт.

35

01010-51025

BOLT

SN: 15001-15313

4шт.

36

01602-21030

WASHER,SPRING

SN: 15001-15313

4шт.

37

01643-21032

WASHER

SN: 15001-15313

4шт.

38

195-54-42671

HOOD,ENGINE

SN: 15003-UP

1шт.

39

195-54-42591

COVER

SN: 15395-UP

1шт.

39

0

COVER

SN: 15003-15394

1шт.

|$$53

====================

-1шт.

Выбрано товаров: 53