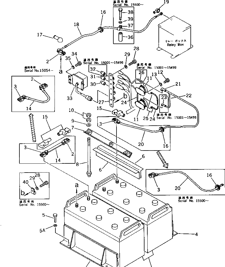
Запчасти Komatsu D375A-1 АККУМУЛЯТОР И РЕЛЕ КОМПОНЕНТЫ ДВИГАТЕЛЯ И ЭЛЕКТРИКА

Схема запчастей Komatsu D375A-1 - АККУМУЛЯТОР И РЕЛЕ КОМПОНЕНТЫ ДВИГАТЕЛЯ И ЭЛЕКТРИКА
FIT
1:1
100%

Артикул

Название

Примечание

Количество

1

08000-02221

BATTERY, WET(C200),(C200 OR F300-20)

SN: 15001-UP

2шт.

1

08000-12221

BATTERY, DRY(C200),(C200 OR F300-20)

SN: 15001-UP

2шт.

1

08000-32220

BATTERY, WET(165G51),NS200 (FOR JAPAN)

SN: 15001-UP

2шт.

1

08000-42220

BATTERY, DRY(165G51),NS200 (EXCEPT JAPAN)

SN: 15001-UP

2шт.

2

08000-00000

TERMINAL, (+)

SN: 15001-UP

2шт.

3

08000-00001

TERMINAL, (-)

SN: 15001-UP

2шт.

4

195-06-41120

BRACKET

SN: 15001-UP

2шт.

5

01010-51225

BOLT

SN: 15001-UP

4шт.

5A

01643-31232

WASHER

SN: 15001-UP

4шт.

6

195-06-41140

PLATE

SN: 15001-UP

2шт.

7

176-06-42261

RETAINER

SN: 15001-UP

1шт.

8

195-06-41130

ROD

SN: 15001-UP

2шт.

9

01643-31032

WASHER

SN: 15001-UP

2шт.

10

01580-11008

NUT

SN: 15001-UP

4шт.

11

08088-10000

SWITCH,BATTERY RELAY

SN: 15001-UP

2шт.

12

01010-50820

BOLT

SN: 15001-UP

4шт.

13

01602-20825

WASHER,SPRING

SN: 15001-UP

4шт.

14

08028-15045

WIRE, 450MM

SN: 15367-UP

1шт.

14

0

WIRE, 110MM

SN: 15054-15366

1шт.

14

0

WIRE ASS'Y

SN: 15001-15053

1шт.

15

08038-22511

CAP

SN: 15001-UP

3шт.

16

08037-03614

GROMMET

SN: 15001-UP

2шт.

17

198-06-12760

COVER,TERMINAL

SN: 15367-UP

1шт.

17

0

CAP,TERMINAL

SN: 15001-15366

1шт.

18

195-06-41310

WIRING HARNESS

SN: 15001-UP

1шт.

19

08038-12027

CAP

SN: 15001-UP

1шт.

20

195-06-41210

WIRING HARNESS

SN: 15001-UP

1шт.

21

08038-00035

CAP

SN: 15001-UP

1шт.

22

08028-12025

CABLE

SN: 15001-UP

1шт.

23

08038-04030

CAP

SN: 15001-15499

1шт.

24

154-06-35240

WIRE

SN: 15001-UP

2шт.

25

140-06-18260

CAP

SN: 15001-UP

4шт.

26

08038-02027

CAP

SN: 15001-15499

1шт.

27

195-06-41630

PLATE

SN: 15001-UP

1шт.

28

01010-51220

BOLT

SN: 15001-UP

2шт.

29

01643-31232

WASHER

SN: 15001-UP

2шт.

30

195-06-41750

PLUG,(WITHOUT LOCK-UP)

SN: 15001-UP

1шт.

31

195-06-41770

PLUG

SN: 15001-UP

1шт.

32

195-06-41730

PLUG

SN: 15001-15499

1шт.

33

7830-11-3700

CONTROL BOX

SN: 15001-UP

1шт.

34

01010-50610

BOLT

SN: 15001-UP

4шт.

35

01602-20619

WASHER,SPRING

SN: 15001-UP

4шт.

36

195-01-16420

COLLAR

SN: 15500-UP

1шт.

37

08035-01514

CLIP

SN: 15500-UP

1шт.

38

01011-51220

BOLT

SN: 15500-UP

1шт.

39

01643-31232

WASHER

SN: 15500-UP

1шт.

40

21T-38-12270

CLIP

SN: 15500-UP

1шт.

Выбрано товаров: 47