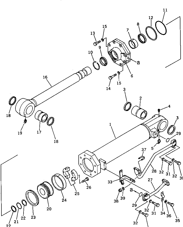
Запчасти Komatsu D375A-1 РЫХЛИТЕЛЬ ЦИЛИНДР ПЕРЕКОСА УПРАВЛ-Е РАБОЧИМ ОБОРУДОВАНИЕМ

Схема запчастей Komatsu D375A-1 - РЫХЛИТЕЛЬ ЦИЛИНДР ПЕРЕКОСА УПРАВЛ-Е РАБОЧИМ ОБОРУДОВАНИЕМ
FIT
1:1
100%

Артикул

Название

Примечание

Количество

G-1

0

CYLINDER ASS'Y,RIPPER TILT, L.H.

SN: .-UP

1шт.

G-1

0

CYLINDER ASS'Y,RIPPER TILT, L.H.

SN: 15001-.

1шт.

G-1

0

CYLINDER ASS'Y,RIPPER TILT, R.H.

SN: .-UP

1шт.

G-1

0

CYLINDER ASS'Y,RIPPER TILT, R.H.

SN: 15001-.

1шт.

|$$5

====================

-1шт.

|$5

195-63-01501

CYLINDER ASS'Y,L.H.

SN: .-UP

1шт.

|$6

0

CYLINDER ASS'Y,L.H.

SN: 15001-.

1шт.

|$7

195-63-01601

CYLINDER ASS'Y,R.H.

SN: .-UP

1шт.

|$8

0

CYLINDER ASS'Y,R.H.

SN: 15001-.

1шт.

1

195-63-45241

CYLINDER

SN: .-UP

1шт.

1

195-63-45240

CYLINDER

SN: 15001-.

1шт.

2

707-76-10120

BUSHING

SN: 15001-UP

1шт.

3

07145-00100

SEAL,DUST

SN: 15001-UP

2шт.

4

07042-10108

PLUG

SN: 15001-UP

1шт.

5

07020-00675

FITTING,GREASE

SN: 15001-UP

1шт.

6

707-27-20390

HEAD,CYLINDER

SN: 15001-UP

1шт.

7

07177-01135

BUSHING

SN: 15001-UP

1шт.

8

707-51-11110

PACKING,ROD

SN: 15001-UP

1шт.

9

07016-21109

SEAL,DUST

SN: .-UP

1шт.

9

0

SEAL,DUST

SN: 15001-.

1шт.

10

07179-00135

RING,SNAP

SN: 15001-UP

1шт.

11

07000-15190

O-RING

SN: 15001-UP

1шт.

12

07146-05192

RING,BACK-UP

SN: 15001-UP

1шт.

13

01010-62080

BOLT

SN: 15001-UP

6шт.

14

01010-62095

BOLT

SN: 15001-UP

2шт.

15

01602-02060

WASHER,SPRING

SN: 15001-UP

8шт.

16

195-63-45221

ROD,PISTON

SN: .-UP

1шт.

16

0

ROD,PISTON

SN: 15001-.

1шт.

17

707-76-10110

BUSHING

SN: 15001-UP

1шт.

18

07145-00100

SEAL,DUST

SN: 15001-UP

2шт.

19

07020-00900

FITTING,GREASE

SN: 15001-UP

1шт.

20

707-36-20110

PISTON

SN: 15001-UP

1шт.

21

07000-12085

O-RING

SN: 15001-UP

1шт.

22

07001-02085

RING,BACK-UP

SN: 15001-UP

2шт.

23

707-44-20080

RING,PISTON

SN: 15001-UP

1шт.

24

07155-02045

RING,WEAR

SN: 15001-UP

1шт.

25

707-40-22021

SPACER

SN: .-UP

2шт.

25

0

SPACER

SN: 15001-.

2шт.

26

01010-31455

BOLT

SN: 15001-UP

6шт.

27

195-63-45170

TUBE,L.H.

SN: 15001-UP

1шт.

27

195-63-45270

TUBE,R.H.

SN: 15001-UP

1шт.

28

195-63-45181

TUBE,L.H.

SN: .-UP

1шт.

28

195-63-45180

TUBE,L.H.

SN: 15001-.

1шт.

28

195-63-45281

TUBE,R.H.

SN: .-UP

1шт.

28

195-63-45280

TUBE,R.H.

SN: 15001-.

1шт.

29

07000-13035

O-RING

SN: 15001-UP

4шт.

30

01010-51050

BOLT

SN: 15001-UP

8шт.

31

01010-51060

BOLT

SN: 15001-UP

8шт.

32

01602-21030

WASHER,SPRING

SN: 15001-UP

16шт.

33

195-78-72150

BRACKET,L.H.

SN: 15001-UP

1шт.

33

195-78-72160

BRACKET,R.H.

SN: 15001-UP

1шт.

34

07282-03411

CLAMP

SN: 15001-UP

2шт.

35

01010-51030

BOLT

SN: 15001-UP

4шт.

36

01643-31032

WASHER

SN: 15001-UP

4шт.

37

07283-33442

CLIP

SN: 15001-UP

2шт.

38

01599-01011

NUT

SN: 15001-UP

4шт.

39

01643-31032

WASHER

SN: 15001-UP

4шт.

|$$58

====================

-1шт.

Выбрано товаров: 58