Запчасти Komatsu D375A-1 ПРЯМ. ОТВАЛ СФЕРИЧ. ОТВАЛ(№-89) РАБОЧЕЕ ОБОРУДОВАНИЕ

Схема запчастей Komatsu D375A-1 - ПРЯМ. ОТВАЛ СФЕРИЧ. ОТВАЛ(№-89) РАБОЧЕЕ ОБОРУДОВАНИЕ
FIT
1:1
100%

Артикул

Название

Примечание

Количество

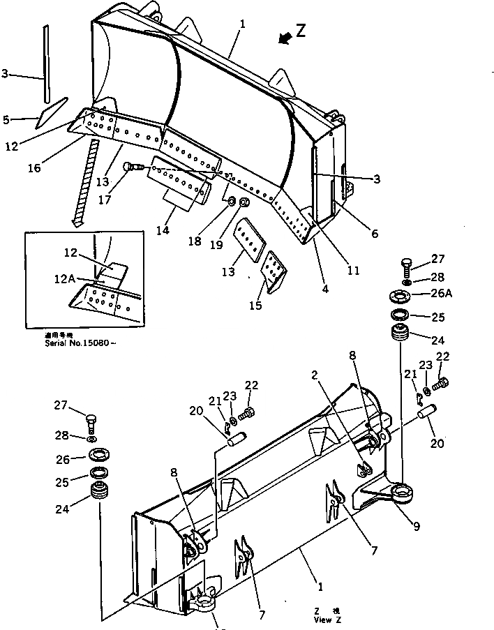
G-1

0

BLADE GROUP

SN: 15080-15089

1шт.

G-1

0

BLADE GROUP

SN: 15001-15079

1шт.

|$$3

====================

-1шт.

1

195-72-51111

U-BLADE

SN: 15080-15089

1шт.

1

0

U-BLADE

SN: 15001-15079

1шт.

2

195-71-51421

BRACKET (WELDED)

SN: 15001-@

1шт.

3

195-72-51121

PLATE (WELDED)

SN: 15080-@

2шт.

3

0

PLATE (WELDED)

SN: 15001-15079

2шт.

4

195-72-51131

PLATE,L.H. (WELDED)

SN: 15080-@

1шт.

4

0

PLATE,L.H. (WELDED)

SN: 15001-15079

1шт.

5

195-72-51141

PLATE,R.H. (WELDED)

SN: 15080-@

1шт.

5

0

PLATE,R.H. (WELDED)

SN: 15001-15079

1шт.

6

195-71-51530

PLATE (WELDED)

SN: 15001-@

2шт.

7

195-71-51540

BRACKET (WELDED)

SN: 15001-@

2шт.

8

195-71-51551

BRACKET (WELDED)

SN: 15080-@

2шт.

8

0

BRACKET (WELDED)

SN: 15001-15079

2шт.

9

195-71-51561

BRACKET (WELDED)

SN: 15001-15089

1шт.

10

195-71-51571

BRACKET (WELDED)

SN: 15001-@

1шт.

11

195-72-51151

PLATE,L.H. (WELDED)

SN: 15080-@

1шт.

11

195-72-51150

PLATE,L.H. (WELDED)

SN: 15001-15079

1шт.

12

195-72-51161

PLATE,R.H. (WELDED)

SN: 15080-@

1шт.

12

195-72-51160

PLATE,R.H. (WELDED)

SN: 15001-15079

1шт.

12A

195-72-31120

STOPPER (WELDED)

SN: 15080-@

2шт.

13

195-71-51120

EDGE,CUTTING

SN: 15001-@

2шт.

14

195-70-12492

EDGE,CUTTING

SN: 15001-@

2шт.

15

195-70-12610

BIT, END,END, L.H.

SN: 15001-@

1шт.

16

195-70-12620

BIT, END,END, R.H.

SN: 15001-@

1шт.

17

195-71-11452

BOLT

SN: 15001-@

42шт.

18

01643-22460

WASHER

SN: 15001-@

42шт.

19

02290-11625

NUT

SN: 15001-@

42шт.

20

195-71-51390

PIN

SN: 15001-@

2шт.

21

195-71-51450

LOCK

SN: 15001-@

2шт.

22

01010-52045

BOLT

SN: 15001-@

4шт.

23

01643-32060

WASHER

SN: 15001-@

4шт.

24

195-71-51252

BUSHING

SN: 15080-15089

2шт.

24

0

BUSHING

SN: 15001-15079

2шт.

25

198-50-11171

SEAL,DUST

SN: 15001-@

2шт.

26

195-71-51460

PLATE

SN: 15001-@

1шт.

26A

195-71-51960

PLATE

SN: 15001-15089

1шт.

27

01010-51230

BOLT

SN: 15001-15089

12шт.

28

01643-31232

WASHER

SN: 15001-15089

12шт.

|$$42

====================

-1шт.

13

195-71-51660

EDGE,CUTTING, REINFORCED

SN: 15080-@

2шт.

14

195-71-51670

EDGE,CUTTING, REINFORCED

SN: 15080-@

2шт.

Выбрано товаров: 44