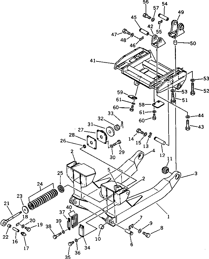
Запчасти Komatsu D375A-1 РАМА ДЕМПФЕРНОГО ОТВАЛА РАБОЧЕЕ ОБОРУДОВАНИЕ

Схема запчастей Komatsu D375A-1 - РАМА ДЕМПФЕРНОГО ОТВАЛА РАБОЧЕЕ ОБОРУДОВАНИЕ
FIT
1:1
100%

Артикул

Название

Примечание

Количество

G-1

0

FRAME GROUP,CUSHION DOZER

SN: 15486-UP

1шт.

G-1

0

FRAME GROUP,CUSHION DOZER

SN: 15001-15485

1шт.

|$$3

====================

-1шт.

|$3

195-928-0071

FRAME ASS'Y

SN: 15486-UP

1шт.

|$4

0

FRAME ASS'Y

SN: 15001-15485

1шт.

1

0

FRAME

SN: 15486-UP

1шт.

1

0

FRAME

SN: 15001-15485

1шт.

2

195-71-51130

TRUNNION (WELDED)

SN: 15001-UP

2шт.

3

195-928-2140

BRACKET,L.H. (WELDED)

SN: 15001-UP

1шт.

4

195-928-2160

BRACKET,R.H. (WELDED)

SN: 15001-UP

1шт.

5

195-928-1240

SEAT (WELDED)

SN: 15001-UP

2шт.

6

09255-06175

PIN

SN: 15001-UP

2шт.

7

09257-09014

LOCK

SN: 15001-UP

2шт.

8

01010-52045

BOLT

SN: 15001-UP

8шт.

9

01643-32060

WASHER

SN: 15001-UP

8шт.

10

195-928-1350

BUSHING

SN: 15001-UP

2шт.

11

195-71-51252

BUSHING

SN: 15486-UP

2шт.

11

0

BUSHING

SN: 15001-15485

2шт.

|$$19

====================

-1шт.

G-2

0

PIN GROUP

SN: 15486-UP

1шт.

G-2

0

PIN GROUP

SN: 15001-15485

1шт.

|$$22

====================

-1шт.

12

195-928-2330

PIN

SN: 15486-UP

2шт.

12

0

PIN

SN: 15001-15485

2шт.

13

195-928-2320

LOCK

SN: 15486-UP

2шт.

13

0

LOCK

SN: 15001-15485

2шт.

14

01010-52055

BOLT

SN: 15486-UP

4шт.

14

0

BOLT

SN: 15001-15485

4шт.

15

01643-32060

WASHER

SN: 15001-UP

4шт.

16

09241-65195

PIN

SN: 15001-UP

2шт.

17

07020-00000

FITTING,GREASE

SN: 15001-UP

2шт.

18

04082-00514

LOCK

SN: 15001-UP

2шт.

19

01010-51435

BOLT

SN: 15001-UP

4шт.

20

01643-31445

WASHER

SN: 15001-UP

4шт.

|$$35

====================

-1шт.

G-3

0

CUSHION GROUP

SN: 15001-UP

2шт.

|$$37

====================

-1шт.

|$37

195-928-0050

ROD ASS'Y

SN: 15001-UP

1шт.

21

0

ROD

SN: 15001-UP

1шт.

22

195-928-1280

BUSHING

SN: 15001-UP

1шт.

23

195-928-1450

SEAT

SN: 15001-UP

1шт.

24

195-928-1440

CUSHION

SN: 15001-UP

15шт.

25

195-928-1460

SEAT

SN: 15001-UP

1шт.

26

175-937-3290

SPACER

SN: 15001-UP

1шт.

27

175-937-3280

CUSHION

SN: 15001-UP

1шт.

28

195-928-2270

PLATE

SN: 15001-UP

1шт.

29

01010-51255

BOLT

SN: 15001-UP

4шт.

30

01643-31232

WASHER

SN: 15001-UP

4шт.

31

175-937-3270

PLATE

SN: 15001-UP

12шт.

32

01590-14548

NUT

SN: 15001-UP

1шт.

33

04050-18090

PIN,COTTER

SN: 15001-UP

1шт.

34

195-928-1290

CUSHION

SN: 15001-UP

2шт.

35

01010-51435

BOLT

SN: 15001-UP

8шт.

36

01643-31445

WASHER

SN: 15001-UP

8шт.

37

195-928-1310

SEAT

SN: 15001-UP

2шт.

38

01010-51470

BOLT

SN: 15001-UP

8шт.

39

01643-31445

WASHER

SN: 15001-UP

8шт.

40

195-928-0048

SHIM ASS'Y

SN: 15001-UP

4шт.

40

0

SHIM, 2.3MM

SN: 15001-UP

2шт.

40

0

SHIM, 4.5MM

SN: 15001-UP

4шт.

|$$61

====================

-1шт.

G-4

0

BRACKET GROUP

SN: 15001-UP

1шт.

|$$63

====================

-1шт.

41

195-928-2130

BRACKET

SN: 15001-UP

1шт.

42

195-928-2230

BRACKET

SN: 15001-UP

2шт.

43

01011-52400

BOLT

SN: 15001-UP

20шт.

44

01643-32460

WASHER

SN: 15001-UP

20шт.

45

195-928-2250

PIN

SN: 15001-UP

2шт.

46

195-71-51440

LOCK

SN: 15001-UP

2шт.

47

01010-52045

BOLT

SN: 15001-UP

4шт.

48

01643-32060

WASHER

SN: 15001-UP

4шт.

49

195-928-2260

BRACKET

SN: 15001-UP

2шт.

50

195-928-2240

PIN

SN: 15001-UP

2шт.

51

01011-52400

BOLT

SN: 15001-UP

16шт.

52

01017-52420

BOLT

SN: 15001-UP

4шт.

53

01643-32460

WASHER

SN: 15001-UP

20шт.

54

195-928-2180

PIN

SN: 15001-UP

2шт.

55

195-71-51440

LOCK

SN: 15001-UP

2шт.

56

01010-52045

BOLT

SN: 15001-UP

4шт.

57

01643-32060

WASHER

SN: 15001-UP

4шт.

58

195-928-2190

COVER

SN: 15001-UP

1шт.

59

195-54-13471

COVER

SN: 15001-UP

1шт.

60

01010-51225

BOLT

SN: 15001-UP

4шт.

61

01643-31232

WASHER

SN: 15001-UP

4шт.

|$$85

====================

-1шт.

Выбрано товаров: 85