Запчасти Komatsu D375A-1 OPRATORS СИДЕНЬЕ (СПЕЦ-Я TBG)(№-) МАРКИРОВКА¤ ИНСТРУМЕНТ И РЕМКОМПЛЕКТЫ

Схема запчастей Komatsu D375A-1 - OPRATORS СИДЕНЬЕ (СПЕЦ-Я TBG)(№-) МАРКИРОВКА¤ ИНСТРУМЕНТ И РЕМКОМПЛЕКТЫ
FIT
1:1
100%

Артикул

Название

Примечание

Количество

|$0

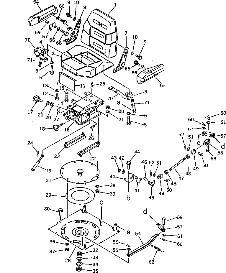
195-57-14200

OPERATOR'S SEAT A.

SN: 15143-UP

1шт.

|$1

195-57-14170

CUSHION ASS'Y

SN: 15143-UP

1шт.

1

195-57-21231

SEAT,BACK

SN: 15143-UP

1шт.

2

195-57-14140

SEAT,CUSHION

SN: 15143-UP

1шт.

3

195-57-21250

BRACKET,L.H.

SN: 15143-UP

1шт.

4

195-57-21260

BRACKET,R.H.

SN: 15143-UP

1шт.

5

01010-51040

BOLT

SN: 15143-UP

4шт.

6

01602-21030

WASHER,SPRING

SN: 15143-UP

4шт.

7

155-57-12182

BRACKET

SN: 15143-UP

1шт.

8

155-57-12191

LEVER

SN: 15143-UP

1шт.

9

01010-51020

BOLT

SN: 15143-UP

8шт.

10

01602-21030

WASHER,SPRING

SN: 15143-UP

8шт.

11

195-57-14180

COVER

SN: 15143-UP

1шт.

12

01220-40616

SCREW

SN: 15143-UP

3шт.

13

01643-30623

WASHER

SN: 15143-UP

3шт.

14

01010-51020

BOLT

SN: 15143-UP

4шт.

15

01602-21030

WASHER,SPRING

SN: 15143-UP

4шт.

16

195-57-14160

SUSPENSION ASS'Y

SN: 15143-UP

1шт.

17

195-57-14120

KNOB

SN: 15143-UP

1шт.

18

195-57-14130

KNOB

SN: 15143-UP

1шт.

19

155-57-12330

DAMPER

SN: 15143-UP

1шт.

20

01580-11210

NUT

SN: 15143-UP

5шт.

21

01602-21236

WASHER,SPRING

SN: 15143-UP

5шт.

22

195-57-21211

ADJUSTER,L.H.

SN: 15143-UP

1шт.

23

195-57-21221

ADJUSTER,R.H.

SN: 15143-UP

1шт.

24

04050-13015

PIN,COTTER

SN: 15143-UP

2шт.

25

04050-14025

PIN,COTTER

SN: 15143-UP

2шт.

26

04025-00432

PIN,SPRING

SN: 15143-UP

7шт.

27

09304-00835

KNOB

SN: 15143-UP

1шт.

28

195-57-21110

COVER

SN: 15143-UP

1шт.

29

198-57-11270

PLATE

SN: 15143-UP

1шт.

30

01435-01230

BOLT

SN: 15143-UP

7шт.

31

195-57-21120

BASE

SN: 15143-UP

1шт.

32

07177-05512

BUSHING

SN: 15143-UP

1шт.

33

01640-24860

WASHER

SN: 15143-UP

1шт.

34

01658-24823

WASHER

SN: 15143-UP

1шт.

35

01530-04812

NUT,LOCK

SN: 15143-UP

1шт.

36

01643-21232

WASHER

SN: 15143-UP

6шт.

37

01580-11210

NUT

SN: 15143-UP

6шт.

38

01643-31232

WASHER

SN: 15143-UP

4шт.

39

01580-11210

NUT

SN: 15143-UP

4шт.

40

195-57-21130

BRACKET

SN: 15143-UP

1шт.

41

09350-01615

BUSHING

SN: 15143-UP

2шт.

42

01641-21626

WASHER

SN: 15143-UP

1шт.

43

04064-01610

RING,SNAP

SN: 15143-UP

1шт.

44

01435-01225

BOLT

SN: 15143-UP

2шт.

45

195-57-21140

LEVER

SN: 15143-UP

1шт.

46

09304-01240

KNOB

SN: 15143-UP

1шт.

47

04245-40834

ROD

SN: 15143-UP

1шт.

48

01580-10806

NUT

SN: 15143-UP

2шт.

49

04211-20844

YOKE

SN: 15143-UP

2шт.

50

04205-10825

PIN

SN: 15143-UP

2шт.

51

01641-20812

WASHER

SN: 15143-UP

2шт.

52

04050-12012

PIN,COTTER

SN: 15143-UP

2шт.

53

198-57-11410

YOKE

SN: 15143-UP

1шт.

54

195-57-21170

LEVER

SN: 15143-UP

1шт.

55

01640-21223

WASHER

SN: 15143-UP

1шт.

56

04050-13020

PIN,COTTER

SN: 15143-UP

1шт.

57

198-57-11310

YOKE

SN: 15143-UP

2шт.

58

04205-11245

PIN

SN: 15143-UP

1шт.

59

198-57-11290

PIN

SN: 15143-UP

1шт.

60

04050-13020

PIN,COTTER

SN: 15143-UP

3шт.

61

01640-21223

WASHER

SN: 15143-UP

3шт.

62

144-43-14361

SPRING

SN: 15143-UP

1шт.

63

195-57-21150

REST,ARM, L.H.

SN: 15143-UP

1шт.

64

195-57-21160

REST,ARM, R.H.

SN: 15143-UP

1шт.

65

01010-51020

BOLT

SN: 15143-UP

3шт.

66

01643-31032

WASHER

SN: 15143-UP

4шт.

67

195-57-14250

HOOK

SN: 15143-UP

1шт.

68

01010-51050

BOLT

SN: 15143-UP

1шт.

69

195-57-14260

SPACER

SN: 15143-UP

1шт.

70

120-57-31711

BELT,LAP

SN: 15143-UP

1шт.

71

09409-20000

BELT, TETHER

SN: 15143-UP

2шт.

Выбрано товаров: 73