Запчасти Komatsu D375A-1 ГИДРОТРАНСФОРМАТОР КЛАПАН (БЕЗ БЛОКИР.-UP)(№-) ГИДРОТРАНСФОРМАТОР И ТРАНСМИССИЯ

Схема запчастей Komatsu D375A-1 - ГИДРОТРАНСФОРМАТОР КЛАПАН (БЕЗ БЛОКИР.-UP)(№-) ГИДРОТРАНСФОРМАТОР И ТРАНСМИССИЯ
FIT
1:1
100%

Артикул

Название

Примечание

Количество

|$0

195-15-02003

TORQFLOW ASS'Y

SN: (01254)-15465

1шт.

|$1

0

TORQFLOW ASS'Y

SN: (01194)-(01253)

1шт.

|$2

0

TORQFLOW ASS'Y

SN: 15005-(01193)

1шт.

G-1

0

TORQUE CONVERTER G.

SN: 15005-UP

1шт.

|$$5

====================

-1шт.

|$5

711-60-00013

TORQUE CONVERTER A. (TCS51-1B)

SN: (01254)-UP

1шт.

|$6

0

TORQUE CONVERTER A. (TCS51-1B)

SN: (01194)-(01253)

1шт.

|$7

711-60-00011

TORQUE CONVERTER A. (TCS51-1A)

SN: 15005-(01193)

1шт.

|$8

711-60-00301

VALVE ASS'Y

SN: 15005-UP

1шт.

|$9

711-60-00311

BODY ASS'Y

SN: 15005-UP

1шт.

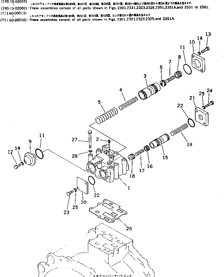
1

0

BODY

SN: 15005-UP

1шт.

2

07042-20108

PLUG

SN: 15005-UP

2шт.

3

711-60-26621

SPOOL

SN: 15005-UP

1шт.

4

711-60-26650

SPRING

SN: 15001-UP

1шт.

5

711-60-26640

SPRING

SN: 15001-UP

1шт.

6

711-60-26680

VALVE

SN: 15005-UP

1шт.

7

427-15-16130

SPRING

SN: 15005-UP

1шт.

8

711-60-26670

VALVE

SN: 15005-UP

1шт.

9

711-60-26740

COVER

SN: 15005-UP

1шт.

10

711-60-26690

COVER

SN: 15005-UP

1шт.

11

07000-62055

O-RING (KIT)

SN: 15001-UP

2шт.

12

01010-51030

BOLT

SN: 15001-UP

2шт.

13

01010-51040

BOLT

SN: 15005-UP

2шт.

14

01602-21030

WASHER,SPRING

SN: 15001-UP

4шт.

15

711-66-16620

SPOOL

SN: 15005-UP

1шт.

16

427-15-15490

VALVE

SN: 15005-UP

1шт.

17

427-15-16130

SPRING

SN: 15005-UP

1шт.

18

427-15-15480

VALVE

SN: 15005-UP

1шт.

19

711-66-16650

SPRING

SN: 15005-UP

1шт.

20

711-44-16340

PLATE

SN: 15001-UP

1шт.

21

711-66-16670

PLATE

SN: 15005-UP

1шт.

22

07000-63045

O-RING (KIT)

SN: 15001-UP

2шт.

23

01010-51030

BOLT

SN: 15001-UP

2шт.

24

01010-51040

BOLT

SN: 15005-UP

2шт.

25

01602-21030

WASHER,SPRING

SN: 15001-UP

4шт.

26

711-60-26910

GASKET (KIT)

SN: 15005-UP

1шт.

27

01011-51010

BOLT

SN: 15001-UP

9шт.

28

01602-21030

WASHER,SPRING

SN: 15001-UP

9шт.

|$$39

====================

-1шт.

Выбрано товаров: 0