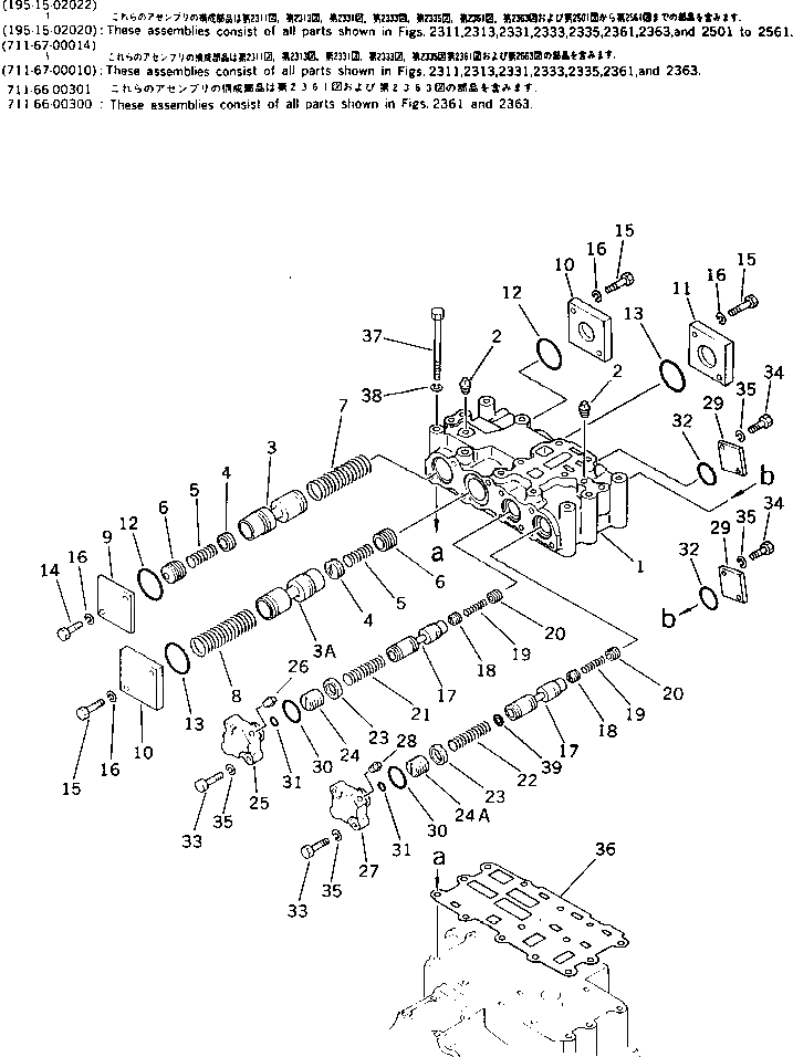
Запчасти Komatsu D375A-1 ГИДРОТРАНСФОРМАТОР КЛАПАН (/) (С БЛОКИР.-UP) ГИДРОТРАНСФОРМАТОР И ТРАНСМИССИЯ

Схема запчастей Komatsu D375A-1 - ГИДРОТРАНСФОРМАТОР КЛАПАН (/) (С БЛОКИР.-UP) ГИДРОТРАНСФОРМАТОР И ТРАНСМИССИЯ
FIT
1:1
100%

Артикул

Название

Примечание

Количество

|$0

195-15-02022

TORQFLOW ASS'Y

SN: (01060)-(01110)

1шт.

|$1

0

TORQFLOW ASS'Y

SN: (01009)-(01059)

1шт.

|$2

0

TORQFLOW ASS'Y

SN: 15001-(01008)

1шт.

|$3

711-67-00014

TORQUE CONVERTER A. (TCS51-2C)

SN: (01148)-UP

1шт.

|$4

0

TORQUE CONVERTER A. (TCS51-2B)

SN: (01111)-(01147)

1шт.

|$5

0

TORQUE CONVERTER A. (TCS51-2B)

SN: (01060)-(01110)

1шт.

|$6

0

TORQUE CONVERTER A. (TCS51-2A)

SN: (01009)-(01059)

1шт.

|$7

0

TORQUE CONVERTER A. (TCS51-2A)

SN: 15001-(01008)

1шт.

|$8

711-66-00301

VALVE ASS'Y

SN: (01148)-UP

1шт.

|$9

711-66-00300

VALVE ASS'Y

SN: 15001-(01147)

1шт.

|$10

711-66-00350

BODY ASS'Y

SN: 15001-UP

1шт.

1

0

BODY

SN: 15001-UP

1шт.

2

07042-20108

PLUG

SN: 15001-UP

2шт.

3

711-66-16620

SPOOL

SN: 15001-UP

1шт.

3A

711-67-16620

SPOOL

SN: (01148)-UP

1шт.

3A

711-66-16620

SPOOL

SN: 15001-(01147)

1шт.

4

427-15-15490

VALVE

SN: 15001-UP

2шт.

5

427-15-16130

SPRING

SN: 15001-UP

2шт.

6

427-15-15480

VALVE

SN: 15001-UP

2шт.

7

711-66-16650

SPRING

SN: 15001-UP

1шт.

8

711-66-16640

SPRING

SN: 15001-UP

1шт.

9

711-44-16340

PLATE

SN: 15001-UP

1шт.

10

711-66-16670

PLATE

SN: 15001-UP

2шт.

11

711-66-16660

PLATE

SN: 15001-UP

1шт.

12

07000-63045

O-RING (KIT)

SN: 15001-UP

2шт.

13

07000-62055

O-RING (KIT)

SN: 15001-UP

2шт.

14

01010-51025

BOLT

SN: 15001-UP

2шт.

15

01010-51035

BOLT

SN: 15001-UP

6шт.

16

01602-21030

WASHER,SPRING

SN: 15001-UP

8шт.

17

711-66-16821

SPOOL

SN: (01148)-UP

2шт.

17

0

SPOOL

SN: 15001-(01147)

2шт.

18

195-15-15130

VALVE

SN: 15001-UP

2шт.

19

180-14-25560

SPRING

SN: 15001-UP

2шт.

20

175-15-15550

VALVE

SN: 15001-UP

2шт.

21

711-66-16841

SPRING

SN: (01148)-UP

1шт.

21

711-66-16840

SPRING

SN: 15001-(01147)

1шт.

22

711-66-16880

SPRING

SN: 15001-UP

1шт.

23

711-66-16870

RING

SN: 15001-UP

2шт.

24

711-66-16830

PISTON

SN: 15001-UP

1шт.

24A

711-67-16830

PISTON

SN: (01148)-UP

1шт.

24A

711-66-16830

PISTON

SN: 15001-(01147)

1шт.

|$41

711-66-00340

COVER ASS'Y

SN: 15001-UP

1шт.

25

0

COVER

SN: 15001-UP

1шт.

26

07042-20108

PLUG

SN: 15001-UP

1шт.

|$44

711-66-00321

COVER ASS'Y

SN: (01148)-UP

1шт.

|$45

711-66-00320

COVER ASS'Y

SN: 15001-(01147)

1шт.

27

0

COVER

SN: (01148)-UP

1шт.

27

0

COVER

SN: 15001-(01147)

1шт.

28

07042-20108

PLUG

SN: 15001-UP

1шт.

29

711-48-16150

PLATE

SN: 15001-UP

2шт.

30

07000-63038

O-RING (KIT)

SN: 15001-UP

2шт.

31

07000-62010

O-RING (KIT)

SN: 15001-UP

2шт.

32

07000-63030

O-RING (KIT)

SN: 15001-UP

2шт.

33

01010-51035

BOLT

SN: 15001-UP

4шт.

34

01010-51025

BOLT

SN: 15001-UP

4шт.

35

01602-21030

WASHER,SPRING

SN: 15001-UP

8шт.

36

711-66-16910

GASKET (KIT)

SN: 15001-UP

1шт.

37

01011-51010

BOLT

SN: 15001-UP

8шт.

38

01602-21030

WASHER,SPRING

SN: 15001-UP

8шт.

39

425-15-14240

SHIM, 0.5MM

SN: (01148)-UP

2шт.

Выбрано товаров: 60