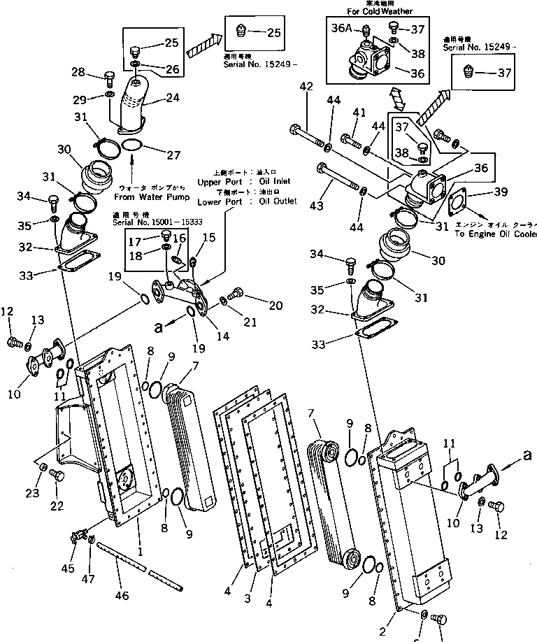
Запчасти Komatsu D375A-1 МАСЛООХЛАДИТЕЛЬ КОМПОНЕНТЫ ДВИГАТЕЛЯ И ЭЛЕКТРИКА

Схема запчастей Komatsu D375A-1 - МАСЛООХЛАДИТЕЛЬ КОМПОНЕНТЫ ДВИГАТЕЛЯ И ЭЛЕКТРИКА
FIT
1:1
100%

Артикул

Название

Примечание

Количество

|$0

195-03-00251

OIL COOLER ASS'Y

SN: 15334-UP

1шт.

|$1

0

OIL COOLER ASS'Y

SN: 15001-15333

1шт.

1

195-03-43110

CASE,OIL COOLER

SN: 15001-UP

1шт.

2

195-03-43150

CASE,OIL COOLER

SN: 15001-UP

1шт.

3

195-03-43160

PLATE

SN: 15001-UP

1шт.

4

195-03-43170

PACKING

SN: 15001-UP

2шт.

5

01010-51030

BOLT

SN: 15001-UP

32шт.

6

01643-51032

WASHER

SN: 15001-UP

32шт.

7

195-03-43180

ELEMENT

SN: 15001-UP

4шт.

8

07000-63032

O-RING

SN: 15001-UP

8шт.

9

07000-62070

O-RING

SN: 15001-UP

8шт.

10

195-03-43260

TUBE

SN: 15001-UP

4шт.

11

07000-63032

O-RING

SN: 15001-UP

8шт.

12

01010-51040

BOLT

SN: 15001-UP

16шт.

13

01643-51032

WASHER

SN: 15001-UP

16шт.

14

195-03-43270

TUBE

SN: 15001-UP

2шт.

15

07042-70108

PLUG

SN: 15001-UP

2шт.

16

07042-70312

PLUG

SN: 15001-15333

1шт.

17

07040-11612

PLUG

SN: 15001-15333

2шт.

18

07005-01612

GASKET

SN: 15001-15333

2шт.

19

07000-63038

O-RING

SN: 15001-UP

4шт.

20

01010-51035

BOLT

SN: 15001-UP

8шт.

21

01643-51032

WASHER

SN: 15001-UP

8шт.

22

01010-51235

BOLT

SN: 15001-UP

6шт.

23

156-38-11450

WASHER

SN: 15001-UP

6шт.

24

195-03-43120

TUBE

SN: 15001-UP

1шт.

25

07042-30108

PLUG

SN: 15249-UP

1шт.

25

0

PLUG

SN: 15001-15248

1шт.

26

07005-01612

GASKET

SN: 15001-15248

1шт.

27

07000-62075

O-RING

SN: 15001-UP

1шт.

28

01010-51235

BOLT

SN: 15001-UP

2шт.

29

01643-51232

WASHER

SN: 15001-UP

2шт.

30

195-03-43190

HOSE

SN: 15001-UP

2шт.

31

195-03-43210

CLAMP

SN: 15001-UP

4шт.

32

195-03-43130

TUBE

SN: 15001-UP

2шт.

33

195-03-43220

GASKET

SN: 15001-UP

2шт.

34

01010-51235

BOLT

SN: 15001-UP

8шт.

35

01643-51232

WASHER

SN: 15001-UP

8шт.

36

195-03-43140

TUBE

SN: 15001-UP

1шт.

36

195-03-47150

TUBE,(FOR COLD WEATHER)

SN: 15200-UP

1шт.

36A

07042-71019

PLUG,(FOR COLD WEATHER)

SN: 15200-UP

1шт.

37

07042-30108

PLUG

SN: 15249-UP

1шт.

37

0

PLUG

SN: 15001-15248

1шт.

38

07005-01612

GASKET

SN: 15001-15248

1шт.

39

6162-63-2160

GASKET

SN: 15001-UP

1шт.

40

01010-51035

BOLT

SN: 15001-UP

1шт.

41

01010-51065

BOLT

SN: 15001-UP

1шт.

42

01011-51060

BOLT

SN: 15001-UP

1шт.

43

01011-51090

BOLT

SN: 15001-UP

1шт.

44

01643-31032

WASHER

SN: 15001-UP

4шт.

45

195-03-13241

VALVE

SN: 15001-UP

1шт.

46

195-03-16110

HOSE

SN: 15001-UP

1шт.

47

07285-00180

CLIP

SN: 15001-UP

1шт.

Выбрано товаров: 0