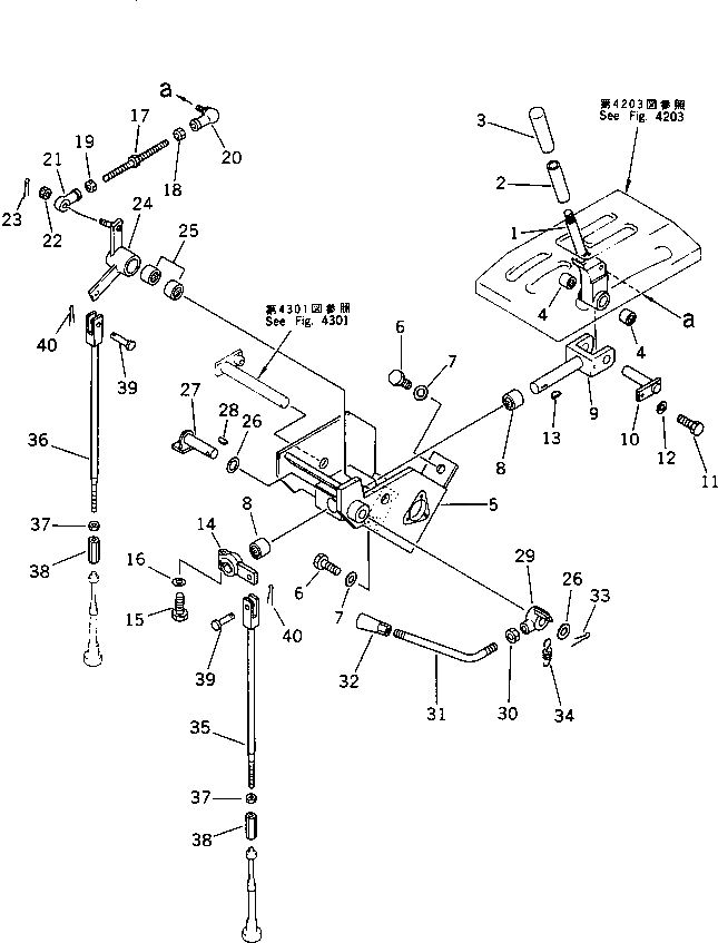
Запчасти Komatsu D375A-2 РЫЧАГ УПРАВЛ-Я ТРАНСМИССИЕЙ СИСТЕМА УПРАВЛЕНИЯ

Схема запчастей Komatsu D375A-2 - РЫЧАГ УПРАВЛ-Я ТРАНСМИССИЕЙ СИСТЕМА УПРАВЛЕНИЯ
FIT
1:1
100%

Артикул

Название

Примечание

Количество

1

195-43-43150

LEVER

SN: 16001-UP

1шт.

2

09361-01460

BUSHING

SN: 16001-UP

1шт.

3

09304-01240

KNOB

SN: 16001-UP

1шт.

4

195-61-41260

BEARING,NEEDLE

SN: 16001-UP

2шт.

5

195-43-43310

BRACKET

SN: 16001-UP

1шт.

6

01010-51225

BOLT

SN: 16001-UP

4шт.

7

01643-31232

WASHER

SN: 16001-UP

4шт.

8

195-61-41270

BEARING,NEEDLE

SN: 16001-UP

2шт.

9

195-43-43160

YOKE

SN: 16001-UP

1шт.

10

195-43-43170

PIN

SN: 16001-UP

1шт.

11

01010-50616

BOLT

SN: 16001-UP

1шт.

12

01643-30623

WASHER

SN: 16001-UP

1шт.

13

04010-00519

KEY

SN: 16001-UP

1шт.

14

195-43-43270

LEVER

SN: 16001-UP

1шт.

15

01010-50830

BOLT

SN: 16001-UP

1шт.

16

01643-30823

WASHER

SN: 16001-UP

1шт.

17

113-43-11530

ROD

SN: 16001-UP

1шт.

18

01580-10806

NUT

SN: 16001-UP

1шт.

19

01508-40805

NUT

SN: 16001-UP

1шт.

20

04256-00816

JOINT,BALL

SN: 16001-UP

1шт.

20

04256-20816

JOINT,BALL,(B)

SN: 16001-UP

1шт.

21

04250-90847

END,ROD

SN: 16001-UP

1шт.

22

01590-10809

NUT

SN: 16001-UP

1шт.

23

04050-12015

PIN,COTTER

SN: 16001-UP

1шт.

24

195-43-43180

LEVER

SN: 16001-UP

1шт.

25

195-61-41270

BEARING,NEEDLE

SN: 16001-UP

2шт.

26

01640-21626

WASHER

SN: 16001-UP

2шт.

27

195-43-43250

PIN

SN: 16001-UP

1шт.

28

04010-00519

KEY

SN: 16001-UP

1шт.

29

195-43-43241

LEVER

SN: 16001-UP

1шт.

30

195-43-43370

NUT

SN: 16001-UP

1шт.

31

195-43-43360

LEVER

SN: 16001-UP

1шт.

31

195-43-43390

LEVER,(T.B.G. SPEC.)

SN: 16001-UP

1шт.

32

09305-00800

KNOB

SN: 16001-UP

1шт.

33

04050-14025

PIN,COTTER

SN: 16001-UP

1шт.

34

195-43-43260

SPRING

SN: 16001-UP

1шт.

34

195-43-43410

SPRING,(T.B.G. SPEC.)

SN: 16001-UP

1шт.

35

195-43-43280

ROD

SN: 16001-UP

1шт.

36

195-43-43210

ROD

SN: 16001-UP

1шт.

37

01580-10806

NUT

SN: 16001-UP

2шт.

38

195-43-43220

JOINT

SN: 16001-UP

2шт.

39

04205-10822

PIN

SN: 16001-UP

2шт.

40

04050-12015

PIN,COTTER

SN: 16001-UP

2шт.

Выбрано товаров: 43