Запчасти Komatsu D375A-2 КЛАПАН РУЛЕВОГО УПРАВЛЕНИЯ (/) СИСТЕМА УПРАВЛЕНИЯ

Схема запчастей Komatsu D375A-2 - КЛАПАН РУЛЕВОГО УПРАВЛЕНИЯ (/) СИСТЕМА УПРАВЛЕНИЯ
FIT
1:1
100%

Артикул

Название

Примечание

Количество

|$0

195-40-00600

STEERING VALVE ASS'Y

SN: 16461-UP

1шт.

|$1

0

STEERING VALVE ASS'Y

SN: 16001-16460

1шт.

|$2

195-40-00501

STEERING VALVE ASS'Y,(B)

SN: 16461-UP

1шт.

|$3

0

STEERING VALVE ASS'Y,(B)

SN: 16001-16460

1шт.

|$$5

THESE ASSEMBLIES CONSIST OF ALL PARTS SHOWN IN FIGS.4501 AND 4502.

-1шт.

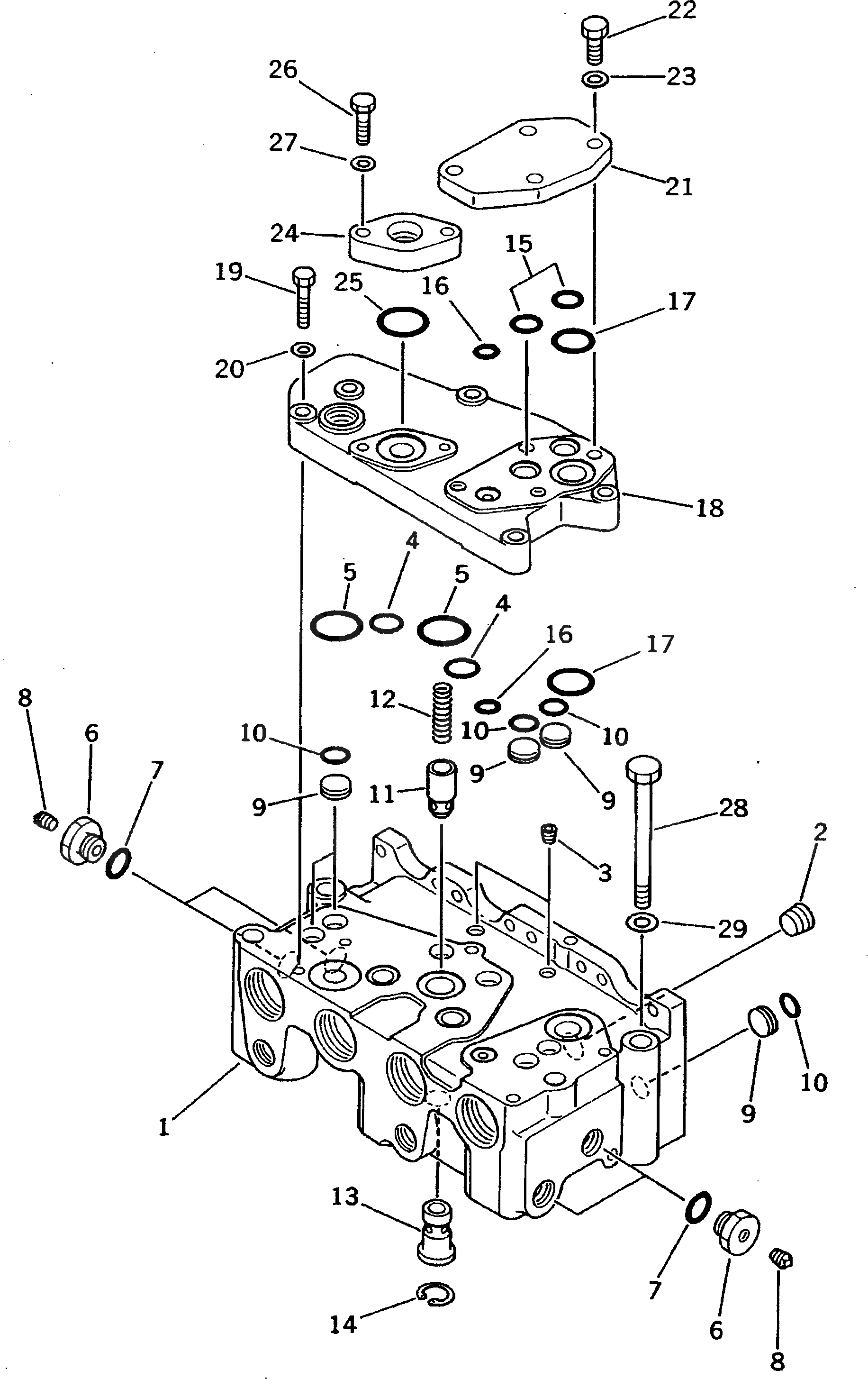
1

195-40-31110

BODY

SN: 16001-UP

1шт.

2

07043-70312

PLUG

SN: 16001-UP

2шт.

3

07043-70108

PLUG

SN: 16001-UP

2шт.

4

07000-72018

O-RING

SN: 16001-UP

2шт.

4

07000-42018

O-RING,(B)

SN: 16001-UP

2шт.

5

07000-73028

O-RING

SN: 16001-UP

2шт.

5

07000-43028

O-RING,(B)

SN: 16001-UP

2шт.

6

195-40-31670

PLUG

SN: 16001-UP

6шт.

7

07002-01823

O-RING

SN: 16001-UP

6шт.

7

07002-41823

O-RING,(B)

SN: 16001-UP

6шт.

8

07042-30108

PLUG

SN: 16001-UP

7шт.

9

195-40-31660

PLUG

SN: 16001-UP

8шт.

10

07000-02012

O-RING

SN: 16001-UP

8шт.

10

07000-42012

O-RING,(B)

SN: 16001-UP

8шт.

11

07750-02037

VALVE,CHECK

SN: 16001-UP

1шт.

12

07750-02038

SPRING

SN: 16001-UP

1шт.

13

195-40-31680

VALVE

SN: 16001-UP

1шт.

14

04065-02412

RING,SNAP

SN: 16001-UP

1шт.

15

07000-72018

O-RING

SN: 16001-UP

2шт.

15

07000-42018

O-RING,(B)

SN: 16001-UP

2шт.

16

07000-72012

O-RING

SN: 16001-UP

2шт.

16

07000-42012

O-RING,(B)

SN: 16001-UP

2шт.

17

07000-73025

O-RING

SN: 16001-UP

2шт.

17

07000-43025

O-RING,(B)

SN: 16001-UP

2шт.

18

195-40-31690

SEAT

SN: 16001-UP

1шт.

19

01010-50840

BOLT

SN: 16001-UP

5шт.

20

01643-30823

WASHER

SN: 16001-UP

5шт.

21

195-40-31730

PLATE

SN: 16001-UP

1шт.

22

01010-51025

BOLT

SN: 16001-UP

4шт.

23

01643-31032

WASHER

SN: 16001-UP

4шт.

24

195-40-31710

FLANGE

SN: 16001-UP

1шт.

25

07000-73028

O-RING

SN: 16001-UP

1шт.

25

07000-43028

O-RING,(B)

SN: 16001-UP

1шт.

26

01010-50830

BOLT

SN: 16001-UP

2шт.

27

01643-30823

WASHER

SN: 16001-UP

2шт.

28

01011-51215

BOLT

SN: 16001-UP

4шт.

29

01643-31232

WASHER

SN: 16001-UP

4шт.

Выбрано товаров: 42