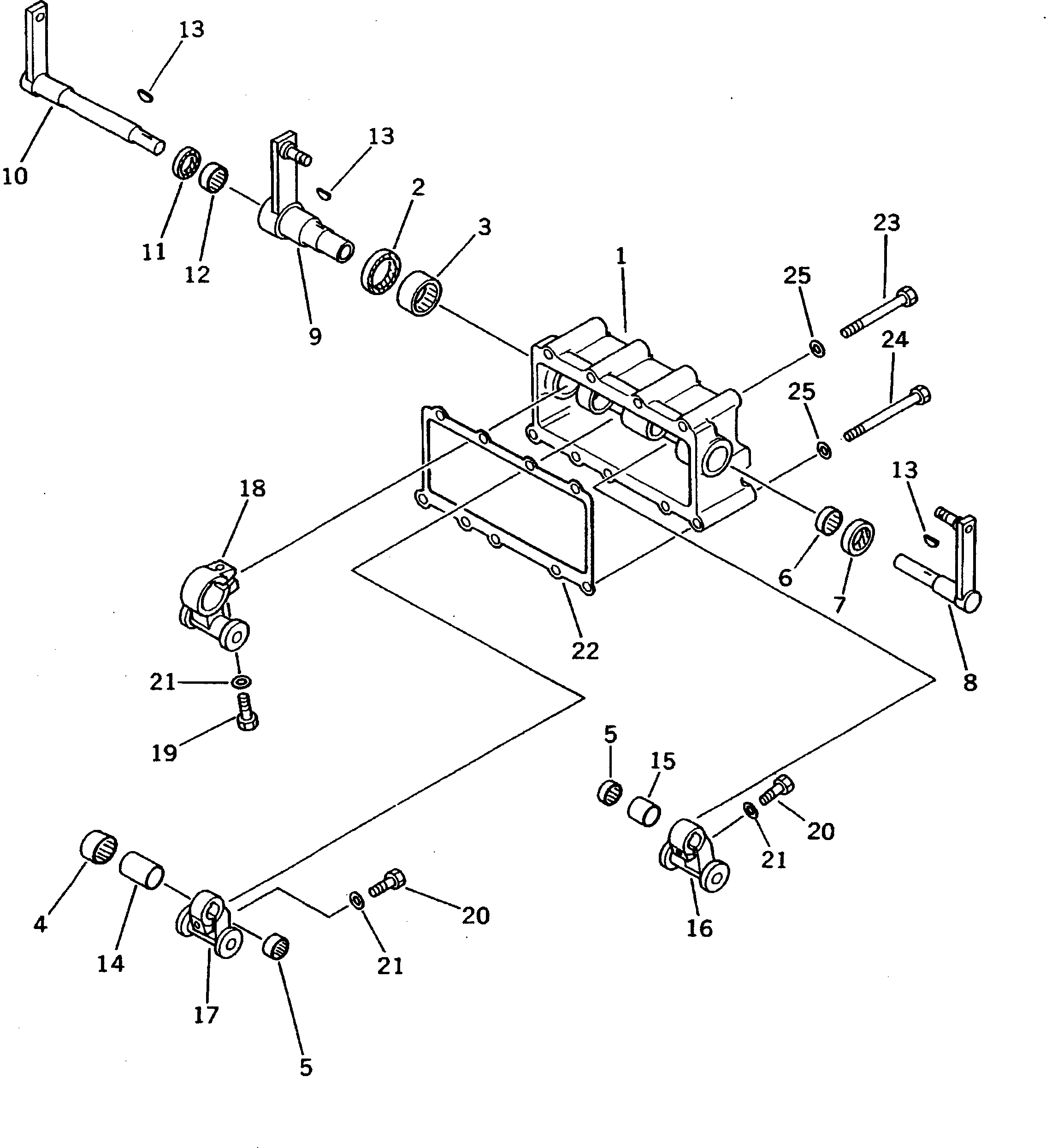
Запчасти Komatsu D375A-2 КЛАПАН РУЛЕВОГО УПРАВЛЕНИЯ РЫЧАГ СИСТЕМА УПРАВЛЕНИЯ

Схема запчастей Komatsu D375A-2 - КЛАПАН РУЛЕВОГО УПРАВЛЕНИЯ РЫЧАГ СИСТЕМА УПРАВЛЕНИЯ
FIT
1:1
100%

Артикул

Название

Примечание

Количество

|$0

195-40-00120

LEVER ASS'Y

SN: 16001-UP

1шт.

|$1

195-40-00520

LEVER ASS'Y,(B)

SN: 16001-UP

1шт.

1

195-40-41511

COVER

SN: 16001-UP

1шт.

2

195-40-41590

SEAL,OIL

SN: 16001-UP

1шт.

2

195-40-41710

SEAL,OIL, (B)

SN: 16001-UP

1шт.

3

06120-04020

BEARING,NEEDLE

SN: 16001-UP

1шт.

4

06120-03020

BEARING,NEEDLE

SN: 16001-UP

1шт.

5

06120-01612

BEARING,NEEDLE

SN: 16001-UP

2шт.

6

06120-02216

BEARING,NEEDLE

SN: 16001-UP

1шт.

7

175-40-31270

SEAL,OIL

SN: 16001-UP

1шт.

7

195-40-11650

SEAL,OIL,(B)

SN: 16001-UP

1шт.

8

195-40-41540

LEVER

SN: 16001-UP

1шт.

9

195-40-41550

LEVER

SN: 16001-UP

1шт.

10

195-40-41610

LEVER

SN: 16001-UP

1шт.

11

175-40-31270

SEAL,OIL

SN: 16001-UP

1шт.

11

195-40-11650

SEAL,OIL,(B)

SN: 16001-UP

1шт.

12

06120-02216

BEARING,NEEDLE

SN: 16001-UP

1шт.

13

04010-00516

KEY

SN: 16001-UP

3шт.

14

195-40-41640

SPACER

SN: 16001-UP

1шт.

15

195-40-41650

SPACER

SN: 16001-UP

1шт.

16

195-40-41700

LEVER ASS'Y,L.H.

SN: 16001-UP

1шт.

17

195-40-41600

LEVER ASS'Y

SN: 16001-UP

1шт.

18

195-40-41800

LEVER ASS'Y,R.H.

SN: 16001-UP

1шт.

19

01010-50835

BOLT

SN: 16001-UP

1шт.

20

01010-50840

BOLT

SN: 16001-UP

2шт.

21

01643-30823

WASHER

SN: 16001-UP

3шт.

22

195-40-41531

GASKET

SN: 16462-UP

1шт.

22

0

GASKET

SN: 16001-16461

1шт.

23

6132-11-6460

BOLT

SN: 16001-UP

4шт.

24

6141-64-7170

BOLT

SN: 16001-UP

5шт.

25

01643-30823

WASHER

SN: 16001-UP

9шт.

Выбрано товаров: 31