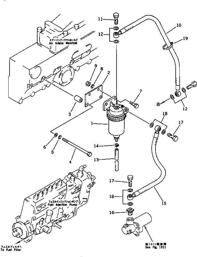
Запчасти Komatsu D375A-2 ВОДООТДЕЛИТЕЛЬ И ТРУБЫ (КРОМЕ ЯПОН.) КОМПОНЕНТЫ ДВИГАТЕЛЯ И ЭЛЕКТРИКА

Схема запчастей Komatsu D375A-2 - ВОДООТДЕЛИТЕЛЬ И ТРУБЫ (КРОМЕ ЯПОН.) КОМПОНЕНТЫ ДВИГАТЕЛЯ И ЭЛЕКТРИКА
FIT
1:1
100%

Артикул

Название

Примечание

Количество

G-1

0

WATER SEPARATOR G.

SN: 16001-UP

1шт.

|$$2

====================

-1шт.

1

600-311-9731

WATER SEPARATOR A.

SN: 16001-UP

1шт.

2

6162-73-5410

PLATE

SN: 16001-UP

1шт.

3

6144-11-5630

SPACER

SN: 16001-UP

2шт.

4

01011-31090

BOLT

SN: 16001-UP

2шт.

5

01602-01030

WASHER,SPRING

SN: 16001-UP

2шт.

6

01640-21016

WASHER

SN: 16001-UP

2шт.

7

01010-31025

BOLT

SN: 16001-UP

2шт.

8

01580-01008

NUT

SN: 16001-UP

2шт.

9

01602-01030

WASHER,SPRING

SN: 16001-UP

2шт.

10

07271-01475

HOSE

SN: 16001-UP

1шт.

11

07206-31014

BOLT,JOINT

SN: 16001-UP

1шт.

12

07005-01412

GASKET

SN: 16001-UP

4шт.

13

07286-00870

HOSE

SN: 16001-UP

1шт.

14

07285-00125

CLIP,HOSE

SN: 16001-UP

1шт.

15

07271-11465

HOSE

SN: 16001-UP

1шт.

16

175-04-21330

NIPPLE

SN: 16001-UP

1шт.

17

07206-21014

BOLT,JOINT

SN: 16001-UP

2шт.

18

07005-01412

GASKET

SN: 16001-UP

4шт.

19

08034-00536

BAND

SN: 16001-UP

1шт.

|$$22

====================

-1шт.

Выбрано товаров: 22