Запчасти Komatsu D375A-2 АККУМУЛЯТОР И РЕЛЕ КОМПОНЕНТЫ ДВИГАТЕЛЯ И ЭЛЕКТРИКА

Схема запчастей Komatsu D375A-2 - АККУМУЛЯТОР И РЕЛЕ КОМПОНЕНТЫ ДВИГАТЕЛЯ И ЭЛЕКТРИКА
FIT
1:1
100%

Артикул

Название

Примечание

Количество

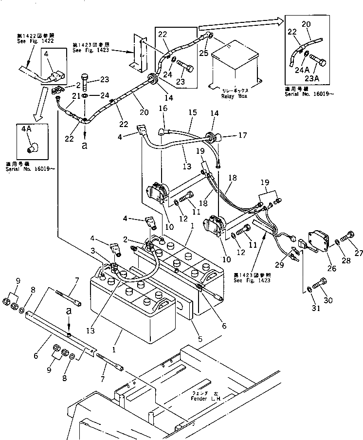
1

08000-02221

BATTERY, WET(C200),(C200 OR F300-20)

SN: 16001-UP

2шт.

1

08000-12221

BATTERY, DRY(C200),(C200 OR F300-20)

SN: 16001-UP

2шт.

1

08000-32220

BATTERY, WET(165G51),NS200 (FOR JAPAN)

SN: 16001-UP

2шт.

1

08000-42220

BATTERY, DRY(165G51),NS200 (EXCEPT JAPAN)

SN: 16001-UP

2шт.

2

08000-00000

TERMINAL, (+)

SN: 16001-UP

2шт.

3

08000-00001

TERMINAL, (-)

SN: 16001-UP

2шт.

4

08038-22511

CAP

SN: 16019-UP

3шт.

4

08038-22511

CAP

SN: 16001-16018

4шт.

4A

154-06-13130

CAP

SN: 16019-UP

1шт.

5

154-06-13262

SEAT

SN: 16001-UP

1шт.

6

198-06-46480

HOLDER

SN: 16001-UP

2шт.

7

08006-40255

ROD

SN: 16001-UP

4шт.

8

01643-31032

WASHER

SN: 16001-UP

4шт.

9

01580-11008

NUT

SN: 16001-UP

8шт.

10

08088-10000

SWITCH,BATTERY RELAY

SN: 16001-UP

2шт.

11

01010-50816

BOLT

SN: 16001-UP

4шт.

12

01643-30823

WASHER

SN: 16001-UP

4шт.

13

08028-55040

CABLE

SN: 16001-UP

2шт.

14

08037-03614

GROMMET

SN: 16001-UP

2шт.

15

08028-52020

CABLE

SN: 16001-UP

1шт.

16

08038-04030

CAP

SN: 16001-UP

1шт.

17

08038-00035

CAP

SN: 16001-UP

1шт.

18

154-06-35240

WIRE

SN: 16001-UP

2шт.

19

140-06-18260

CAP

SN: 16001-UP

4шт.

20

195-06-46160

WIRING HARNESS

SN: 16001-UP

1шт.

21

195-06-25290

CONNECTOR

SN: 16001-UP

1шт.

22

08035-01514

CLIP

SN: 16001-UP

3шт.

23

01010-51020

BOLT

SN: 16019-UP

2шт.

23

01010-51020

BOLT

SN: 16001-16018

3шт.

23A

01010-51220

BOLT

SN: 16019-UP

1шт.

24

01643-31032

WASHER

SN: 16019-UP

2шт.

24

01643-31032

WASHER

SN: 16001-16018

3шт.

24A

01643-31232

WASHER

SN: 16019-UP

1шт.

25

08038-12027

CAP

SN: 16001-UP

1шт.

26

7830-12-2100

CONTROLLER,ALC

SN: 16001-UP

1шт.

27

01010-50616

BOLT

SN: 16001-UP

4шт.

28

01642-20608

WASHER

SN: 16001-UP

4шт.

29

08053-00912

CLIP,CONNECTOR

SN: 16001-UP

1шт.

30

01010-51220

BOLT

SN: 16001-UP

1шт.

31

01643-31232

WASHER

SN: 16001-UP

1шт.

Выбрано товаров: 40