Запчасти Komatsu D375A-2 СТАЛЬНАЯ КАБИНА (/) (ДВЕРЬ)(№-) ЧАСТИ КОРПУСА

Схема запчастей Komatsu D375A-2 - СТАЛЬНАЯ КАБИНА (/) (ДВЕРЬ)(№-) ЧАСТИ КОРПУСА
FIT
1:1
100%

Артикул

Название

Примечание

Количество

G-1

0

STEEL CAB GROUP

SN: 16001-UP

1шт.

|$$2

====================

-1шт.

|$2

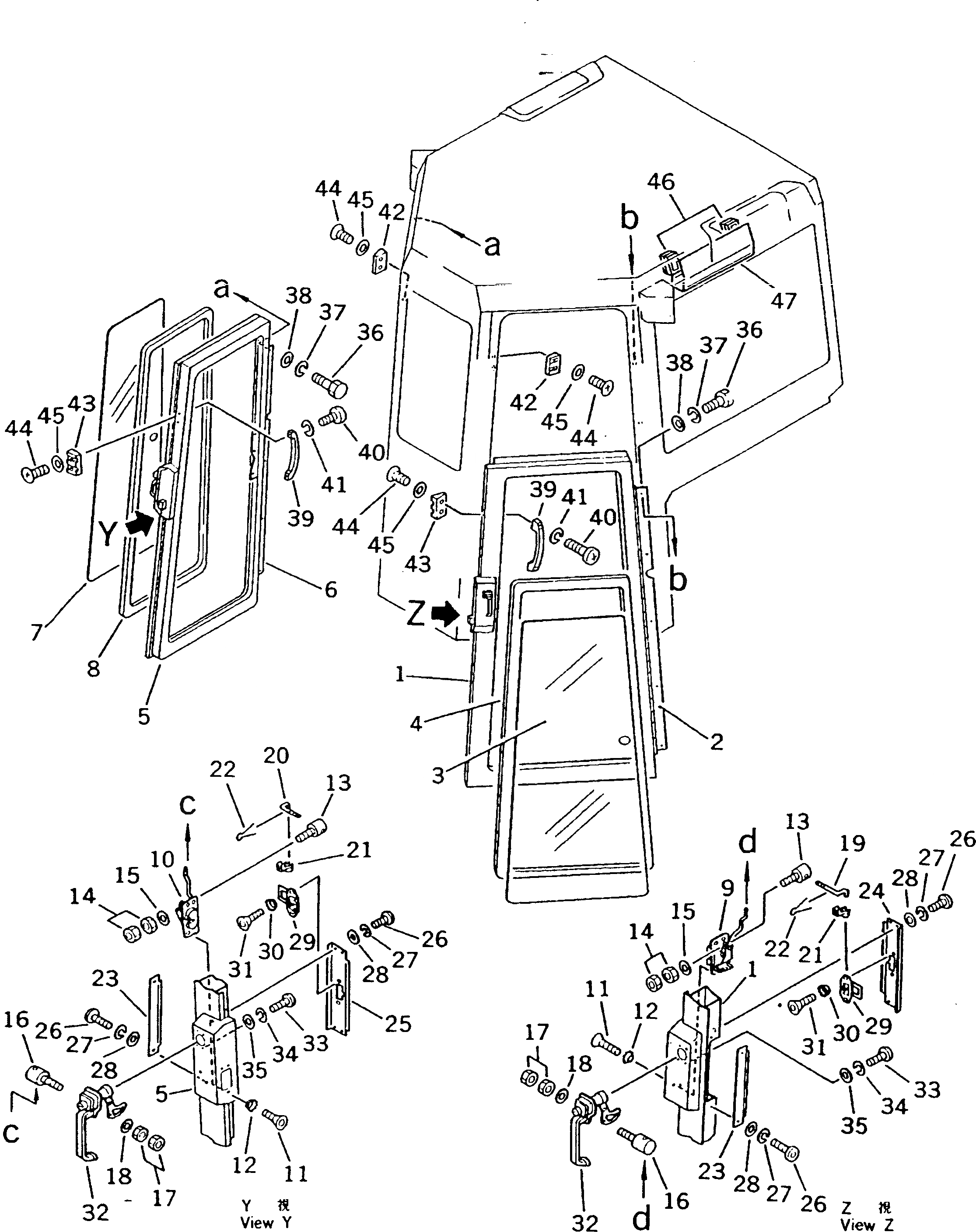
198-Z11-0020

STEEL CAB ASS'Y

SN: 16001-16232

1шт.

|$$4

THIS ASSEMBLY CONSISTS OF ALL PARTS SHOWN IN FIGS.5501 TO 5512.

-1шт.

1

195-Z11-1121

DOOR,L.H.

SN: 16001-16232

1шт.

2

195-Z11-1811

HINGE (WELDED)

SN: 16001-@

1шт.

3

195-Z11-1220

GLASS

SN: 16001-@

1шт.

4

195-Z11-1140

STRIP,WEATHER

SN: 16001-@

1шт.

5

195-Z11-1131

DOOR,R.H.

SN: 16001-16232

1шт.

6

195-Z11-1791

HINGE (WELDED)

SN: 16001-@

1шт.

7

195-Z11-1220

GLASS

SN: 16001-@

1шт.

8

195-Z11-1150

STRIP,WEATHER

SN: 16001-@

1шт.

9

195-Z11-1561

DOOR LOCK,L.H.

SN: 16001-16232

1шт.

10

195-Z11-1551

DOOR LOCK,R.H.

SN: 16001-16232

1шт.

11

195-Z11-1730

SCREW

SN: 16001-16232

6шт.

12

195-Z11-1690

WASHER

SN: 16001-16232

6шт.

13

195-Z11-1660

ROD

SN: 16001-16232

2шт.

14

01580-10504

NUT

SN: 16001-16232

4шт.

15

01642-20508

WASHER

SN: 16001-16232

2шт.

16

195-Z11-1670

ROD

SN: 16001-16232

2шт.

17

01580-10605

NUT

SN: 16001-16232

4шт.

18

01642-20608

WASHER

SN: 16001-16232

2шт.

19

195-Z11-1640

ROD,L.H.

SN: 16001-16232

1шт.

20

195-Z11-1650

ROD,R.H.

SN: 16001-16232

1шт.

21

195-Z11-1630

CLIP

SN: 16001-@

2шт.

22

04050-11210

PIN,COTTER

SN: 16001-@

2шт.

23

195-Z11-1590

COVER

SN: 16001-@

2шт.

24

195-Z11-1571

COVER,L.H.

SN: 16001-16232

1шт.

25

195-Z11-1581

COVER,R.H.

SN: 16001-16232

1шт.

26

195-Z11-1710

SCREW

SN: 16001-16232

12шт.

27

01601-20513

WASHER,SPRING

SN: 16001-16232

12шт.

28

01642-20508

WASHER

SN: 16001-16232

12шт.

29

195-Z11-1610

HANDLE

SN: 16001-@

2шт.

30

195-Z11-1690

WASHER

SN: 16001-@

4шт.

31

195-Z11-1730

SCREW

SN: 16001-@

4шт.

32

195-Z11-1540

HANDLE

SN: 16001-@

2шт.

33

195-Z11-1710

SCREW

SN: 16001-@

8шт.

34

01601-20513

WASHER,SPRING

SN: 16001-@

8шт.

35

01641-20508

WASHER

SN: 16001-@

8шт.

36

01010-50825

BOLT

SN: 16001-@

10шт.

37

01602-20825

WASHER,SPRING

SN: 16001-@

10шт.

38

01643-30823

WASHER

SN: 16001-@

10шт.

39

195-Z11-1980

GRIP

SN: 16001-@

2шт.

40

195-979-7710

SCREW

SN: 16001-@

4шт.

41

01601-20513

WASHER,SPRING

SN: 16001-@

4шт.

42

566-54-13410

STRIKER

SN: 16001-@

4шт.

43

566-54-14420

STOPPER

SN: 16001-@

4шт.

44

195-Z11-1740

SCREW

SN: 16001-@

16шт.

45

566-54-13270

WASHER

SN: 16001-@

16шт.

46

195-Z11-2980

SEAL

SN: 16001-@

2шт.

47

195-Z11-3130

SHEET

SN: 16001-@

1шт.

|$$52

====================

-1шт.

Выбрано товаров: 0