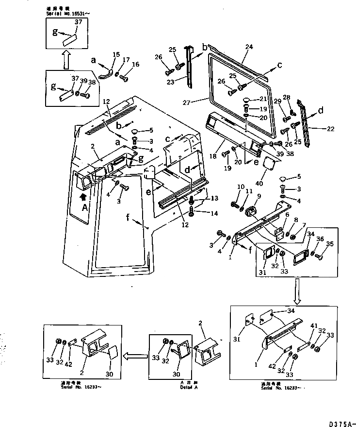
Запчасти Komatsu D375A-2 СТАЛЬНАЯ КАБИНА (7/) (ФУРНИТУРА В КАБИНЕ¤ ЗАДН.) ЧАСТИ КОРПУСА

Схема запчастей Komatsu D375A-2 - СТАЛЬНАЯ КАБИНА (7/) (ФУРНИТУРА В КАБИНЕ¤ ЗАДН.) ЧАСТИ КОРПУСА
FIT
1:1
100%

Артикул

Название

Примечание

Количество

G-1

0

STEEL CAB GROUP

SN: 16001-UP

1шт.

|$$2

====================

-1шт.

|$2

198-Z11-0022

STEEL CAB ASS'Y

SN: 16531-UP

1шт.

|$3

198-Z11-0021

STEEL CAB ASS'Y

SN: 16233-16530

1шт.

|$4

0

STEEL CAB ASS'Y

SN: 16001-16232

-1шт.

|$$6

THESE ASSEMBLIES CONSIST OF ALL PARTS SHOWN IN FIGS.5501 TO 5512.

-1шт.

1

195-Z11-2331

PANEL

SN: 16233-UP

1шт.

1

195-Z11-2330

PANEL

SN: 16001-16232

1шт.

2

195-Z11-2341

PANEL

SN: 16233-UP

1шт.

2

195-Z11-2340

PANEL

SN: 16001-16232

1шт.

3

01220-30616

SCREW

SN: 16001-UP

14шт.

4

01641-20608

WASHER

SN: 16001-UP

14шт.

5

195-Z11-2360

CAP

SN: 16001-UP

8шт.

6

195-Z11-2730

PLATE

SN: 16001-UP

1шт.

7

01580-10605

NUT

SN: 16001-UP

2шт.

8

01643-30623

WASHER

SN: 16001-UP

2шт.

9

205-54-72240

ASHTRAY

SN: 16001-UP

1шт.

10

195-979-7720

SCREW

SN: 16001-UP

2шт.

11

01642-20405

WASHER

SN: 16001-UP

2шт.

12

195-Z11-1910

COVER

SN: 16001-UP

2шт.

13

195-Z11-1950

CLIP

SN: 16001-UP

8шт.

14

195-Z11-1960

SCREW

SN: 16001-UP

8шт.

15

195-Z11-1980

GRIP

SN: 16001-UP

1шт.

16

195-979-7710

SCREW

SN: 16001-UP

2шт.

17

01601-20513

WASHER,SPRING

SN: 16001-UP

2шт.

18

195-Z11-2351

PANEL

SN: 16233-UP

1шт.

18

195-Z11-2350

PANEL

SN: 16001-16232

1шт.

19

01220-30616

SCREW

SN: 16233-UP

4шт.

19

01235-50616

SCREW

SN: 16001-16232

4шт.

20

01641-20608

WASHER

SN: 16001-UP

4шт.

21

195-Z11-2360

CAP

SN: 16001-UP

2шт.

22

195-Z11-1931

COVER,L.H.

SN: 16233-UP

1шт.

22

195-Z11-1930

COVER,L.H.

SN: 16001-16232

1шт.

23

195-Z11-1941

COVER,R.H.

SN: 16233-UP

1шт.

23

195-Z11-1940

COVER,R.H.

SN: 16001-16232

1шт.

24

195-Z11-1920

COVER

SN: 16001-UP

1шт.

25

195-Z11-1950

CLIP

SN: 16001-UP

17шт.

26

195-Z11-1960

SCREW

SN: 16001-UP

17шт.

27

195-Z11-1990

SEAL

SN: 16001-UP

1шт.

28

205-54-51250

HANGER

SN: 16001-UP

1шт.

29

195-979-7720

SCREW

SN: 16001-UP

1шт.

30

195-Z11-2840

COVER

SN: 16233-UP

1шт.

30

195-Z11-2860

COVER

SN: 16001-16232

1шт.

31

195-Z11-2840

COVER

SN: 16001-UP

1шт.

32

01642-20508

WASHER

SN: 16233-UP

6шт.

32

01643-30623

WASHER

SN: 16001-16232

4шт.

33

01580-10504

NUT

SN: 16233-UP

6шт.

33

01580-10605

NUT

SN: 16001-16232

4шт.

34

195-Z11-2850

COVER

SN: 16001-UP

1шт.

35

01235-40616

SCREW

SN: 16001-UP

4шт.

36

01643-30623

WASHER

SN: 16001-UP

4шт.

37

195-Z11-2951

COVER

SN: 16531-UP

1шт.

37

195-Z11-2950

COVER

SN: 16001-16530

1шт.

38

195-979-7720

SCREW

SN: 16531-UP

8шт.

38

195-979-7720

SCREW

SN: 16001-16530

10шт.

39

01601-20410

WASHER,SPRING

SN: 16531-UP

8шт.

39

01601-20410

WASHER,SPRING

SN: 16001-16530

10шт.

40

195-Z11-2961

COVER

SN: 16531-UP

2шт.

40

195-Z11-2960

COVER

SN: 16001-16530

2шт.

41

195-Z11-2870

PLATE

SN: 16233-UP

1шт.

42

195-Z11-2880

PLATE

SN: 16233-UP

2шт.

|$$62

====================

-1шт.

Выбрано товаров: 62