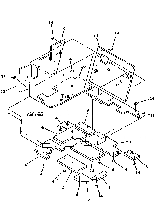
Запчасти Komatsu D375A-2 СТАЛЬНАЯ КАБИНА (9/9) (ЩИТКИ В СБОРЕ) (МОРОЗОУСТОЙЧИВ. СПЕЦ-Я) ЧАСТИ КОРПУСА

Схема запчастей Komatsu D375A-2 - СТАЛЬНАЯ КАБИНА (9/9) (ЩИТКИ В СБОРЕ) (МОРОЗОУСТОЙЧИВ. СПЕЦ-Я) ЧАСТИ КОРПУСА
FIT
1:1
100%

Артикул

Название

Примечание

Количество

|$0

195-Z11-0033

STEEL CAB ASS'Y

SN: 16531-UP

1шт.

|$1

195-Z11-0032

STEEL CAB ASS'Y

SN: 16242-16530

1шт.

|$2

0

STEEL CAB ASS'Y

SN: 16001-16241

1шт.

|$$4

THESE ASSEMBLIES CONSIST OF ALL PARTS SHOWN IN FIGS.5531 TO 5539.

-1шт.

1

195-54-45270

SHEET

SN: 16001-UP

1шт.

2

195-54-45280

SHEET

SN: 16001-UP

1шт.

3

195-54-45190

SHEET

SN: 16001-UP

1шт.

4

195-54-45290

SHEET

SN: 16001-UP

1шт.

5

195-54-49230

SHEET

SN: 16001-UP

1шт.

6

195-54-49220

SHEET

SN: 16001-UP

1шт.

7

198-54-45160

SHEET

SN: 16001-UP

1шт.

7A

198-54-45170

SHEET

SN: 16001-UP

1шт.

8

195-54-45310

SHEET

SN: 16001-UP

1шт.

9

195-54-49190

SHEET

SN: 16001-UP

1шт.

10

195-54-49210

SHEET

SN: 16001-UP

1шт.

11

195-54-45350

SHEET

SN: 16001-UP

1шт.

12

195-54-45390

SHEET

SN: 16001-UP

1шт.

13

195-54-45370

SHEET

SN: 16001-UP

1шт.

14

04431-30000

PLATE

SN: 16001-UP

53шт.

Выбрано товаров: 19