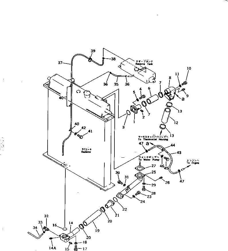
Запчасти Komatsu D375A-2 СИСТЕМА ТРУБ РАДИАТОРА КОМПОНЕНТЫ ДВИГАТЕЛЯ И ЭЛЕКТРИКА

Схема запчастей Komatsu D375A-2 - СИСТЕМА ТРУБ РАДИАТОРА КОМПОНЕНТЫ ДВИГАТЕЛЯ И ЭЛЕКТРИКА
FIT
1:1
100%

Артикул

Название

Примечание

Количество

1

195-03-41320

TUBE

SN: 16001-UP

1шт.

2

07042-30108

PLUG

SN: 16001-UP

1шт.

3

07000-62080

O-RING

SN: 16001-UP

1шт.

4

01010-51235

BOLT

SN: 16001-UP

4шт.

5

01643-31232

WASHER

SN: 16001-UP

4шт.

6

195-03-41541

HOSE

SN: 16001-UP

1шт.

7

07289-00095

CLAMP

SN: 16658-UP

2шт.

7

0

CLAMP

SN: 16001-16657

2шт.

8

195-03-41330

TUBE

SN: 16001-UP

1шт.

9

07042-30108

PLUG

SN: 16001-UP

1шт.

10

01010-51235

BOLT

SN: 16001-UP

2шт.

11

01643-31232

WASHER

SN: 16001-UP

2шт.

12

175-03-81250

HOSE

SN: 16283-UP

1шт.

12

175-03-41651

HOSE

SN: 16001-16282

1шт.

13

07289-00095

CLAMP

SN: 16658-UP

2шт.

13

0

CLAMP

SN: 16001-16657

2шт.

14

195-03-55190

TUBE

SN: 16001-UP

1шт.

14

195-03-47110

TUBE,(B)

SN: 16001-UP

1шт.

14A

07042-30415

PLUG,(B)

SN: 16001-UP

1шт.

15

07042-30108

PLUG

SN: 16001-UP

1шт.

16

07000-62080

O-RING

SN: 16001-UP

1шт.

17

01010-51230

BOLT

SN: 16001-UP

4шт.

18

01643-31232

WASHER

SN: 16001-UP

4шт.

19

175-03-41621

HOSE

SN: 16001-UP

1шт.

20

07289-00095

CLAMP

SN: 16658-UP

2шт.

20

0

CLAMP

SN: 16001-16657

2шт.

21

195-03-41460

TUBE

SN: 16001-UP

1шт.

22

07000-62080

O-RING

SN: 16001-UP

1шт.

23

01010-51240

BOLT

SN: 16001-UP

2шт.

24

01643-31232

WASHER

SN: 16001-UP

2шт.

25

195-03-41470

TUBE

SN: 16001-UP

1шт.

25

195-03-47131

TUBE,(B)

SN: 16001-UP

1шт.

26

07042-70415

PLUG

SN: 16001-UP

1шт.

27

195-03-41481

GASKET

SN: 16462-UP

1шт.

27

0

GASKET

SN: 16001-16461

1шт.

28

01010-51045

BOLT

SN: 16001-UP

4шт.

29

01643-31032

WASHER

SN: 16001-UP

4шт.

30

01010-51835

BOLT

SN: 16001-UP

1шт.

31

01643-31845

WASHER

SN: 16001-UP

1шт.

32

07730-50004

VALVE,DRAIN

SN: 16001-UP

1шт.

32

195-03-13540

VALVE,DRAIN,(B)

SN: 16001-UP

1шт.

33

07285-00180

CLIP

SN: 16001-UP

1шт.

33

07285-00260

CLIP,(B)

SN: 16001-UP

1шт.

34

175-03-31530

HOSE

SN: 16001-UP

1шт.

34

175-803-1350

HOSE,(B)

SN: 16001-UP

1шт.

35

195-03-41360

HOSE

SN: 16001-UP

1шт.

36

07285-00125

CLIP

SN: 16001-UP

2шт.

37

195-03-17880

TUBE

SN: 16001-UP

1шт.

38

07285-00100

CLIP

SN: 16001-UP

1шт.

39

08034-00519

BAND

SN: 16001-UP

1шт.

40

195-03-11690

CLIP

SN: 16001-UP

3шт.

41

01010-51220

BOLT

SN: 16001-UP

3шт.

42

01643-31232

WASHER

SN: 16001-UP

3шт.

43

195-03-41560

HOSE

SN: 16001-UP

1шт.

44

08036-01814

CLIP

SN: 16001-UP

1шт.

44

08036-91814

CLIP,(B)

SN: 16001-UP

1шт.

45

01010-51020

BOLT

SN: 16001-UP

1шт.

46

01643-31032

WASHER

SN: 16001-UP

1шт.

47

07281-00197

CLAMP

SN: 16001-UP

2шт.

Выбрано товаров: 59