Запчасти Komatsu D375A-2 КЛАПАН ТРАНСМИССИИ (/) ГТР CONVERTOR¤ ТРАНСМИССИЯ¤ РУЛЕВ. УПРАВЛЕНИЕ И КОНЕЧНАЯ ПЕРЕДАЧА

Схема запчастей Komatsu D375A-2 - КЛАПАН ТРАНСМИССИИ (/) ГТР CONVERTOR¤ ТРАНСМИССИЯ¤ РУЛЕВ. УПРАВЛЕНИЕ И КОНЕЧНАЯ ПЕРЕДАЧА
FIT
1:1
100%

Артикул

Название

Примечание

Количество

|$0

195-15-01016

TRANSMISSION ASS'Y

SN: 16461-UP

1шт.

|$1

0

TRANSMISSION ASS'Y

SN: 16240-16460

1шт.

|$2

0

TRANSMISSION ASS'Y

SN: 16001-16239

1шт.

|$$4

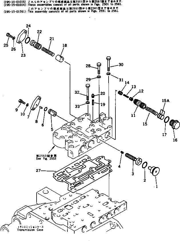
THESE ASSEMBLIES CONSIST OF ALL PARTS SHOWN IN FIGS.2501 TO 2561.

-1шт.

|$4

195-15-01591

CONTROL VALVE A.

SN: 16001-UP

1шт.

|$$6

THIS ASSEMBLY CONSISTS OF ALL PARTS SHOWN IN FIGS.2551 TO 2561.

-1шт.

1

195-15-35291

STOPPER

SN: 16001-UP

1шт.

2

07000-73030

O-RING (KIT)

SN: 16001-UP

1шт.

3

195-15-35631

VALVE

SN: 16001-UP

1шт.

4

125-15-11230

PLUG

SN: 16001-UP

1шт.

5

195-15-35860

BOSS

SN: 16001-UP

1шт.

6

07000-72021

O-RING (KIT)

SN: 16001-UP

1шт.

7

195-15-35870

PLATE

SN: 16001-UP

1шт.

8

04020-00514

PIN,DOWEL

SN: 16001-UP

1шт.

9

01010-51030

BOLT

SN: 16001-UP

2шт.

10

01643-51032

WASHER

SN: 16001-UP

2шт.

11

195-15-35240

VALVE

SN: 16001-UP

1шт.

12

104-15-25490

VALVE

SN: 16001-UP

1шт.

13

125-15-15290

SPRING,(L=26)

SN: 16001-UP

1шт.

14

104-15-25480

VALVE

SN: 16001-UP

1шт.

15

154-15-45510

SPRING,(L=68)

SN: 16001-UP

1шт.

15A

198-15-01420

SHIM ASS'Y

SN: 16001-UP

8шт.

15A

0

SHIM, 0.50MM

SN: 16001-UP

1шт.

16

195-15-36460

PLUG

SN: 16001-UP

1шт.

17

07002-03334

O-RING (KIT)

SN: 16001-UP

1шт.

18

195-15-35280

STOPPER

SN: 16001-UP

1шт.

19

04025-00850

PIN,SPRING

SN: 16001-UP

1шт.

20

07042-20108

PLUG

SN: 16001-UP

1шт.

21

195-15-34160

SPRING,(L=78)

SN: 16001-UP

1шт.

22

427-15-15310

VALVE

SN: 16001-UP

1шт.

23

195-15-35810

PLATE

SN: 16001-UP

1шт.

24

07000-73032

O-RING (KIT)

SN: 16001-UP

1шт.

25

01010-51030

BOLT

SN: 16001-UP

2шт.

26

01643-51032

WASHER

SN: 16001-UP

2шт.

27

195-15-35920

GASKET (KIT)

SN: 16001-UP

1шт.

28

01010-51075

BOLT

SN: 16001-UP

2шт.

29

01643-31032

WASHER

SN: 16001-UP

2шт.

30

01011-51025

BOLT

SN: 16001-UP

12шт.

31

01643-31032

WASHER

SN: 16001-UP

12шт.

32

01011-51050

BOLT

SN: 16001-UP

5шт.

33

01643-31032

WASHER

SN: 16001-UP

5шт.

Выбрано товаров: 41