Запчасти Komatsu D375A-2 РУЧН. SELECT КЛАПАН ГТР CONVERTOR¤ ТРАНСМИССИЯ¤ РУЛЕВ. УПРАВЛЕНИЕ И КОНЕЧНАЯ ПЕРЕДАЧА

Схема запчастей Komatsu D375A-2 - РУЧН. SELECT КЛАПАН ГТР CONVERTOR¤ ТРАНСМИССИЯ¤ РУЛЕВ. УПРАВЛЕНИЕ И КОНЕЧНАЯ ПЕРЕДАЧА
FIT
1:1
100%

Артикул

Название

Примечание

Количество

|$0

195-15-01016

TRANSMISSION ASS'Y

SN: 16461-UP

1шт.

|$1

0

TRANSMISSION ASS'Y

SN: 16240-16460

1шт.

|$2

0

TRANSMISSION ASS'Y

SN: 16001-16239

1шт.

|$$4

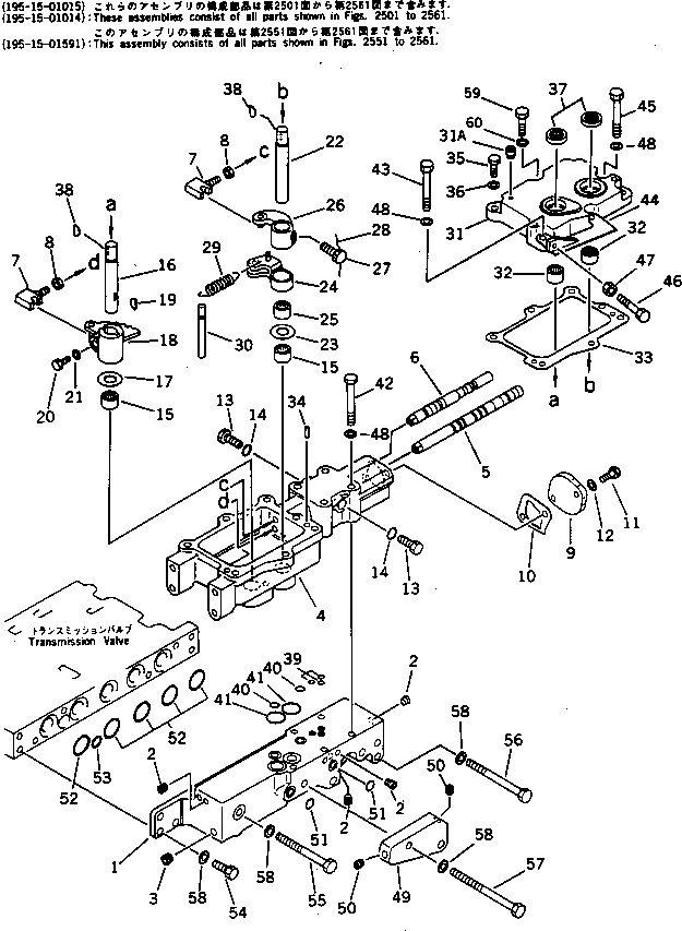
THESE ASSEMBLIES CONSIST OF ALL PARTS SHOWN IN FIGS.2501 TO 2561.

-1шт.

|$4

195-15-01591

CONTROL VALVE A.

SN: 16001-UP

1шт.

|$$6

THIS ASSEMBLY CONSISTS OF ALL PARTS SHOWN IN FIGS.2551 TO 2561.

-1шт.

|$6

195-15-01510

VALVE ASS'Y

SN: 16001-UP

1шт.

|$7

195-15-01550

SEAT ASS'Y

SN: 16001-UP

1шт.

1

0

SEAT

SN: 16001-UP

1шт.

2

07043-00108

PLUG

SN: 16001-UP

7шт.

3

07043-00211

PLUG

SN: 16001-UP

2шт.

4

195-15-38110

BODY

SN: 16001-UP

1шт.

5

195-15-38140

SPOOL

SN: 16001-UP

1шт.

6

195-15-38150

SPOOL

SN: 16001-UP

1шт.

7

09363-00850

YOKE

SN: 16001-UP

2шт.

8

01580-10806

NUT

SN: 16001-UP

2шт.

9

195-15-38820

COVER

SN: 16001-UP

1шт.

10

195-15-38920

GASKET (KIT)

SN: 16001-UP

1шт.

11

01010-51025

BOLT

SN: 16001-UP

2шт.

12

01643-31032

WASHER,SPRING

SN: 16001-UP

2шт.

13

195-15-38710

DETENT ASS'Y

SN: 16001-UP

2шт.

14

07002-01223

O-RING (KIT)

SN: 16001-UP

2шт.

15

06120-01816

BEARING,NEEDLE

SN: 16001-UP

2шт.

16

195-15-38651

SHAFT

SN: 16001-UP

1шт.

17

01640-21826

WASHER

SN: 16001-UP

1шт.

18

195-15-38610

LEVER

SN: 16001-UP

1шт.

19

04010-00519

KEY

SN: 16001-UP

1шт.

20

01010-50825

BOLT

SN: 16001-UP

1шт.

21

01643-30823

WASHER,SPRING

SN: 16001-UP

1шт.

22

195-15-38661

SHAFT

SN: 16001-UP

1шт.

23

01640-21826

WASHER

SN: 16001-UP

1шт.

24

195-15-38630

LEVER ASS'Y

SN: 16001-UP

1шт.

25

06120-01816

BEARING,NEEDLE

SN: 16001-UP

1шт.

26

195-15-38620

LEVER

SN: 16001-UP

1шт.

27

195-15-38560

BOLT

SN: 16001-UP

1шт.

28

04059-01010

WIRE,LOCK (KIT)

SN: 16001-UP

1шт.

29

195-15-38751

SPRING

SN: 16001-UP

1шт.

30

195-15-38550

PIN

SN: 16001-UP

1шт.

|$38

195-15-01570

COVER ASS'Y

SN: 16001-UP

1шт.

31

0

COVER

SN: 16001-UP

1шт.

31A

07043-00211

PLUG

SN: 16001-UP

1шт.

32

06120-01816

BEARING,NEEDLE

SN: 16001-UP

2шт.

33

195-15-38910

GASKET (KIT)

SN: 16001-UP

1шт.

34

04020-00820

PIN,DOWEL

SN: 16001-UP

2шт.

35

01010-51030

BOLT

SN: 16001-UP

4шт.

36

01643-31032

WASHER,SPRING

SN: 16001-UP

4шт.

37

566-15-15850

SEAL,OIL (KIT)

SN: 16001-UP

2шт.

38

04010-00519

KEY

SN: 16001-UP

2шт.

39

07000-71007

O-RING (KIT)

SN: 16001-UP

3шт.

40

07000-72014

O-RING (KIT)

SN: 16001-UP

2шт.

41

07000-72020

O-RING (KIT)

SN: 16001-UP

2шт.

42

01010-51070

BOLT

SN: 16001-UP

4шт.

43

01010-51080

BOLT

SN: 16001-UP

1шт.

44

195-15-38340

BRACKET

SN: 16001-UP

1шт.

45

01010-51080

BOLT

SN: 16001-UP

1шт.

46

01016-51060

BOLT

SN: 16001-UP

1шт.

47

01580-11008

NUT

SN: 16001-UP

1шт.

48

01643-31032

WASHER

SN: 16001-UP

5шт.

|$58

195-15-01560

COVER ASS'Y

SN: 16001-UP

1шт.

49

0

COVER

SN: 16001-UP

1шт.

50

07043-00108

PLUG

SN: 16001-UP

2шт.

51

07000-72014

O-RING (KIT)

SN: 16001-UP

2шт.

52

07000-73028

O-RING (KIT)

SN: 16001-UP

5шт.

53

07000-72018

O-RING (KIT)

SN: 16001-UP

1шт.

54

01010-51030

BOLT

SN: 16001-UP

3шт.

55

01010-51090

BOLT

SN: 16001-UP

1шт.

56

01011-51005

BOLT

SN: 16001-UP

3шт.

57

01011-51025

BOLT

SN: 16001-UP

2шт.

58

01643-31032

WASHER

SN: 16001-UP

9шт.

59

01010-51040

BOLT

SN: 16001-UP

2шт.

60

01643-31032

WASHER

SN: 16001-UP

2шт.

Выбрано товаров: 71