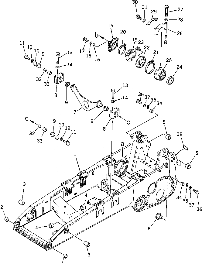
Запчасти Komatsu D375A-2 ОСНОВН. РАМА ГТР CONVERTOR¤ ТРАНСМИССИЯ¤ РУЛЕВ. УПРАВЛЕНИЕ И КОНЕЧНАЯ ПЕРЕДАЧА

Схема запчастей Komatsu D375A-2 - ОСНОВН. РАМА ГТР CONVERTOR¤ ТРАНСМИССИЯ¤ РУЛЕВ. УПРАВЛЕНИЕ И КОНЕЧНАЯ ПЕРЕДАЧА
FIT
1:1
100%

Артикул

Название

Примечание

Количество

|$0

195-21-00070

MAIN FRAME ASS'Y

SN: 16001-UP

1шт.

|$1

195-21-00051

MAIN FRAME ASS'Y,(B)

SN: 16001-UP

1шт.

1

0

FRAME,MAIN

SN: 16001-UP

1шт.

1

0

FRAME,MAIN,(B)

SN: 16001-UP

1шт.

2

195-21-32510

BUSHING

SN: 16001-UP

2шт.

3

195-21-32521

BUSHING

SN: 16001-UP

2шт.

4

195-21-33140

BUSHING

SN: 16001-UP

2шт.

5

195-21-32670

BUSHING

SN: 16001-UP

8шт.

6

195-21-32480

BUSHING

SN: 16001-UP

4шт.

7

195-21-32311

BRACKET

SN: 16001-UP

1шт.

8

195-21-32320

CAP

SN: 16001-UP

2шт.

9

195-01-32110

CUSHION

SN: 16001-UP

4шт.

10

195-01-31130

PLATE

SN: 16001-UP

2шт.

11

01010-51435

BOLT

SN: 16001-UP

4шт.

12

01643-31445

WASHER

SN: 16001-UP

4шт.

13

203-09-21110

BOLT

SN: 16001-UP

8шт.

14

01643-32460

WASHER

SN: 16001-UP

8шт.

15

195-21-32370

CAGE

SN: 16001-UP

2шт.

16

195-21-32380

PLATE

SN: 16001-UP

8шт.

17

01010-51025

BOLT

SN: 16001-UP

16шт.

18

01643-31032

WASHER

SN: 16001-UP

16шт.

19

195-21-32421

SEAL

SN: 16001-UP

2шт.

20

195-21-32390

CLAMP

SN: 16001-UP

2шт.

20

195-21-32810

CLAMP,(HEAVY DUTY)

SN: 16001-UP

2шт.

21

195-21-32430

COUPLING

SN: 16001-UP

2шт.

21

195-21-32821

COUPLING,(HEAVY DUTY)

SN: 16001-UP

2шт.

22

195-21-32540

FLANGE

SN: 16001-UP

2шт.

23

01010-51230

BOLT

SN: 16001-UP

18шт.

24

195-21-32341

BUSHING

SN: 16001-UP

2шт.

25

195-21-32361

CUSHION

SN: 16001-UP

2шт.

26

195-21-32450

CAP

SN: 16001-UP

2шт.

27

11S-70-11170

BOLT

SN: 16001-UP

8шт.

28

01643-32060

WASHER

SN: 16001-UP

8шт.

29

195-21-32461

COVER

SN: 16001-UP

2шт.

30

01010-51220

BOLT

SN: 16001-UP

4шт.

31

01643-31232

WASHER

SN: 16001-UP

4шт.

32

195-01-32130

CUSHION

SN: 16001-UP

2шт.

33

195-01-32120

CUSHION

SN: 16001-UP

2шт.

34

195-21-32690

BUSHING

SN: 16001-UP

4шт.

35

04082-00312

LOCK

SN: 16001-UP

2шт.

36

01010-51230

BOLT

SN: 16001-UP

4шт.

37

01643-31232

WASHER

SN: 16001-UP

4шт.

38

154-98-14630

PLATE, MARK

SN: 16001-UP

1шт.

Выбрано товаров: 43