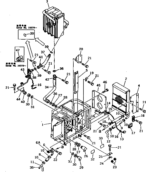
Запчасти Komatsu D375A-2 БЛОК КОНДИЦИОНЕРА (/) ЧАСТИ КОРПУСА

Схема запчастей Komatsu D375A-2 - БЛОК КОНДИЦИОНЕРА (/) ЧАСТИ КОРПУСА
FIT
1:1
100%

Артикул

Название

Примечание

Количество

|1

195-911-7200

AIR CONDITIONER UNIT

SN: 16491-UP

1шт.

|1

195-Z11-5104

AIR CONDITIONER UNIT

SN: 16079-16490

1шт.

|1

0

AIR CONDITIONER UNIT

SN: 16001-16078

1шт.

|$$4

THESE ASSEMBLIES CONSIST OF ALL PARTS SHOWN IN FIGS.5915 AND 5916.

-1шт.

|1

195-911-7210

UNIT ASS'Y

SN: 16491-UP

1шт.

|1

195-Z11-5704

UNIT ASS'Y

SN: 16079-16490

1шт.

|1

0

UNIT ASS'Y

SN: 16001-16078

1шт.

1

195-Z11-5511

CASE ASS'Y

SN: 16001-UP

1шт.

2

195-Z11-5520

RADIATOR ASS'Y

SN: 16001-UP

1шт.

3

195-911-7220

EVAPORATOR ASS'Y

SN: 16491-UP

1шт.

|3

195-Z11-5530

EVAPORATOR ASS'Y

SN: 16001-16490

1шт.

4

195-Z11-5680

COVER

SN: 16001-UP

1шт.

5

195-Z11-5930

STAY

SN: 16001-UP

1шт.

6

195-Z11-5740

VALVE ASS'Y

SN: 16001-UP

1шт.

6A

195-Z11-6640

BUSHING

SN: 16001-UP

1шт.

7

195-Z11-5760

HOSE

SN: 16001-UP

1шт.

8

195-Z11-5770

HOSE

SN: 16001-UP

1шт.

9

195-Z11-5750

HOSE

SN: 16001-UP

1шт.

10

145-Z79-6560

CLIP

SN: 16001-UP

6шт.

11

195-Z11-5820

PIPE

SN: 16001-UP

1шт.

12

195-Z11-5830

PIPE

SN: 16001-UP

1шт.

13

195-Z11-6230

THERMISTOR

SN: 16001-UP

1шт.

14

195-Z11-6160

BRACKET

SN: 16001-UP

1шт.

15

195-Z11-6170

GROMMET

SN: 16001-UP

1шт.

16

195-Z11-5950

BAND

SN: 16001-UP

4шт.

17

195-Z11-5780

GROMMET

SN: 16001-UP

1шт.

18

195-Z11-6120

CLAMP

SN: 16001-UP

1шт.

19

195-Z11-7160

CLAMP

SN: 16001-UP

1шт.

20

195-Z11-5910

COVER

SN: 16001-UP

1шт.

21

01010-50616

BOLT

SN: 16001-UP

17шт.

22

01010-50816

BOLT

SN: 16001-UP

2шт.

23

195-Z11-5790

GROMMET

SN: 16001-UP

2шт.

24

195-Z11-5970

CLAMP

SN: 16001-UP

1шт.

25

195-Z11-6110

CLAMP

SN: 16001-UP

1шт.

26

195-911-7240

ELBOW

SN: 16491-UP

1шт.

|26

195-Z11-6310

ELBOW

SN: 16001-16490

1шт.

27

195-911-7250

NUT

SN: 16491-UP

2шт.

|27

195-Z11-5620

NUT

SN: 16001-16490

2шт.

28

195-911-7260

WASHER

SN: 16491-UP

2шт.

|28

195-Z11-5630

WASHER

SN: 16001-16490

2шт.

29

195-911-7270

ELBOW

SN: 16491-UP

1шт.

|29

195-Z11-5640

ELBOW

SN: 16001-16490

1шт.

30

195-911-7280

NUT

SN: 16491-UP

2шт.

|30

195-Z11-5650

NUT

SN: 16001-16490

2шт.

31

195-911-7290

WASHER

SN: 16491-UP

2шт.

|31

195-Z11-5660

WASHER

SN: 16001-16490

2шт.

32

ND146741-2680

ORNAMENT

SN: 16001-UP

1шт.

33

ND146741-2570

ORNAMENT

SN: 16001-UP

1шт.

34

195-911-7230

TUBE

SN: 16491-UP

1шт.

|34

195-Z11-5611

TUBE

SN: 16001-16490

1шт.

35

195-Z11-5720

HOLDER

SN: 16001-UP

2шт.

36

195-Z11-5730

PACKING

SN: 16001-UP

2шт.

37

195-911-7320

TUBE

SN: 16491-UP

1шт.

|37

195-Z11-5851

TUBE

SN: 16001-16490

1шт.

38

17M-911-4710

VALVE

SN: 16491-UP

1шт.

|38

195-Z11-5711

VALVE

SN: 16001-16490

1шт.

39

ND949140-2690

O-RING

SN: 16079-UP

2шт.

|39

ND046218-0080

INSULATOR

SN: 16001-16078

2шт.

40

195-911-7310

TUBE

SN: 16491-UP

1шт.

|40

195-Z11-5671

TUBE

SN: 16001-16490

1шт.

41

195-Z11-5980

CLIP

SN: 16001-UP

1шт.

42

195-Z11-6130

CLAMP

SN: 16001-UP

1шт.

43

195-Z11-6140

CLAMP

SN: 16001-UP

1шт.

44

195-Z11-5990

CLIP

SN: 16001-UP

1шт.

45

195-Z11-6291

DUCT

SN: 16001-UP

1шт.

46

01010-50816

BOLT

SN: 16001-UP

8шт.

47

ND046218-0080

INSULATOR

SN: 16079-UP

1шт.

Выбрано товаров: 67