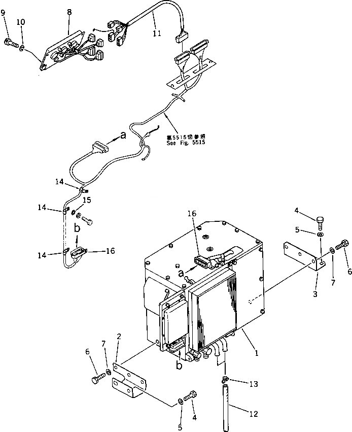
Запчасти Komatsu D375A-2 ОБОГРЕВАТЕЛЬ. ЧАСТИ КОРПУСА

Схема запчастей Komatsu D375A-2 - ОБОГРЕВАТЕЛЬ. ЧАСТИ КОРПУСА
FIT
1:1
100%

Артикул

Название

Примечание

Количество

1

195-Z11-6702

HEATER ASS'Y

SN: 16001-UP

1шт.

2

195-Z11-5160

BRACKET

SN: 16001-UP

1шт.

3

195-Z11-5170

BRACKET

SN: 16001-UP

1шт.

4

01010-51230

BOLT

SN: 16001-UP

4шт.

5

01643-31232

WASHER

SN: 16001-UP

4шт.

6

01010-51225

BOLT

SN: 16001-UP

6шт.

7

01643-31232

WASHER

SN: 16001-UP

6шт.

8

195-Z11-7310

CONTROL PANEL ASS'Y

SN: 16001-UP

1шт.

9

01252-40616

BOLT

SN: 16001-UP

4шт.

10

01602-20619

WASHER,SPRING

SN: 16001-UP

4шт.

11

198-911-8160

WIRING HARNESS

SN: 16001-UP

1шт.

12

195-Z11-7260

HOSE

SN: 16001-UP

2шт.

13

195-Z11-7270

CLAMP

SN: 16001-UP

2шт.

14

08036-01814

CLIP

SN: 16001-UP

3шт.

15

01640-20816

WASHER

SN: 16001-UP

4шт.

16

195-Z11-5360

CLIP

SN: 16001-UP

2шт.

Выбрано товаров: 16