Запчасти Komatsu D375A-2 ОТОПИТЕЛЬ (/) ЧАСТИ КОРПУСА

Схема запчастей Komatsu D375A-2 - ОТОПИТЕЛЬ (/) ЧАСТИ КОРПУСА
FIT
1:1
100%

Артикул

Название

Примечание

Количество

|1

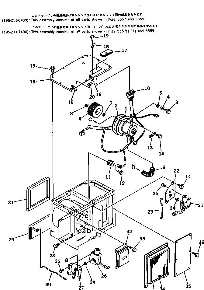
195-Z11-6702

HEATER ASS'Y

SN: 16001-UP

1шт.

|$$2

THIS ASSEMBLY CONSISTS OF ALL PARTS SHOWN IN FIGS.5957 AND 5958.

-1шт.

|1

195-Z11-7402

HEATER ASS'Y

SN: 16001-UP

1шт.

1

195-Z11-5540

MOTOR ASS'Y

SN: 16001-UP

1шт.

2

195-Z11-5560

PACKING

SN: 16001-UP

1шт.

3

145-Z79-6660

BOLT

SN: 16001-UP

3шт.

4

145-Z79-6670

INSERT

SN: 16001-UP

3шт.

5

145-Z79-6680

BUSHING

SN: 16001-UP

3шт.

6

195-Z11-5570

FAN

SN: 16001-UP

1шт.

7

198-911-5540

WASHER

SN: 16001-UP

1шт.

8

198-911-5530

NUT

SN: 16001-UP

1шт.

9

195-Z11-5580

PIPE

SN: 16001-UP

1шт.

10

195-Z11-7420

WIRING HARNESS

SN: 16001-UP

1шт.

11

195-Z11-5590

RESISTOR

SN: 16001-UP

1шт.

12

01220-40416

SCREW

SN: 16001-UP

1шт.

13

195-Z11-6150

CLAMP

SN: 16001-UP

1шт.

14

01010-50616

BOLT

SN: 16001-UP

3шт.

15

195-Z11-7450

COVER

SN: 16001-UP

1шт.

16

195-Z11-5880

CLAMP

SN: 16001-UP

2шт.

17

195-Z11-5810

GROMMET

SN: 16001-UP

1шт.

18

195-Z11-7160

CLAMP

SN: 16001-UP

1шт.

19

01010-50816

BOLT

SN: 16001-UP

11шт.

20

ND116504-9680

PLATE,NAME (LIMITED SUPPLY)

SN: 16001-UP

1шт.

21

195-Z11-7180

ACTUATOR ASS'Y

SN: 16001-UP

1шт.

22

195-Z11-6211

LINK

SN: 16001-UP

1шт.

22A

ND146690-1990

BUSHING

SN: 16001-UP

1шт.

23

195-Z11-6252

SHAFT

SN: 16001-UP

1шт.

23A

195-Z11-6270

SPRING

SN: 16001-UP

1шт.

24

195-Z11-6280

BUSHING

SN: 16001-UP

2шт.

25

01370-00412

SCREW

SN: 16001-UP

8шт.

26

195-Z11-7190

ACTUATOR ASS'Y

SN: 16001-UP

1шт.

27

195-Z11-6220

LINK

SN: 16001-UP

1шт.

27A

ND146690-1990

BUSHING

SN: 16001-UP

1шт.

28

01010-50616

BOLT

SN: 16001-UP

3шт.

29

195-Z11-6191

DAMPER

SN: 16001-UP

1шт.

29A

195-Z11-6640

BUSHING

SN: 16001-UP

1шт.

30

195-Z11-6260

SHAFT

SN: 16001-UP

1шт.

31

ND146669-4940

PACKING

SN: 16001-UP

1шт.

32

195-Z11-6181

AMP ASS'Y

SN: 16001-UP

1шт.

33

195-Z11-5861

HOLDER

SN: 16001-UP

1шт.

34

195-Z11-5870

FILTER

SN: 16001-UP

1шт.

35

195-Z11-5920

COVER

SN: 16001-UP

1шт.

36

01010-50816

BOLT

SN: 16001-UP

10шт.

37

195-Z11-6270

SPRING

SN: 16001-UP

1шт.

Выбрано товаров: 44